42in Side Discharge Mower, 300 Series GT Classic Tractors
Product Information
- Model #: 78345
- Serial #: 314000001 - 314999999
- Product Type: Attachments
Loading...
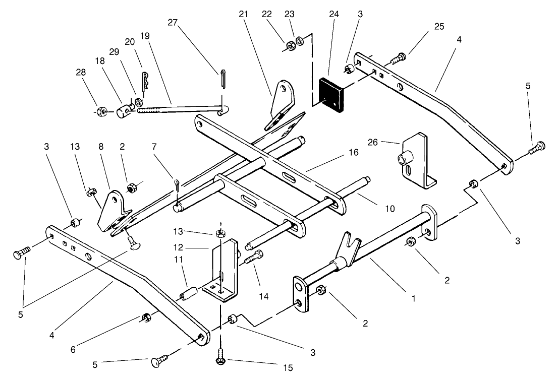
Assembly Drawings
Search for a part within assembly drawings:
-
Operator's Manual
-
Parts Catalog
-
Model #
78345 -
Serial #
314000001 - 314999999 -
Product Name
42in Side Discharge Mower, 300 Series GT Classic Tractors -
Product Brand
Toro -
Product Type
Attachments -
Product Series
Attachments & Kits, Consumer Riding -
Swath
42 inch



