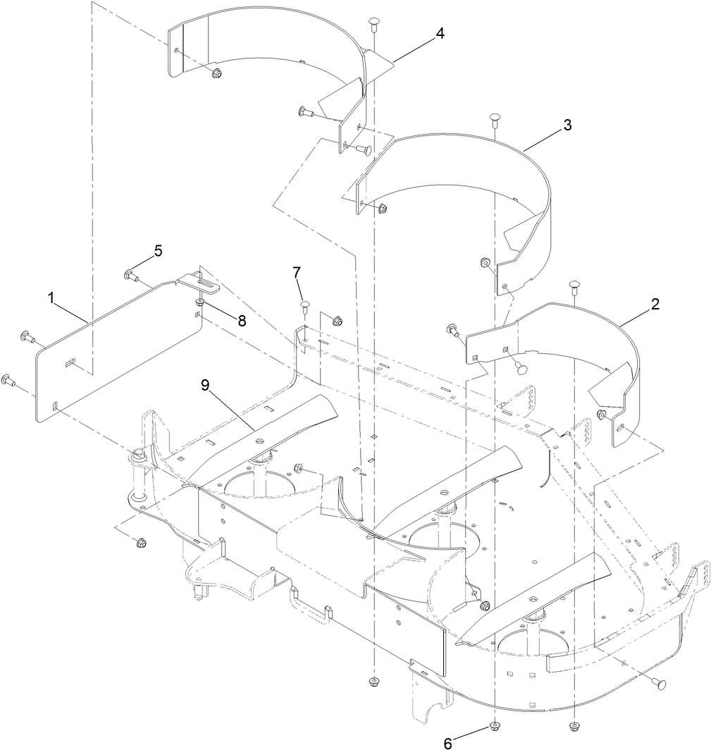
48 inch Recycler Kit (Titan HD 2500)
Product Information
- Model #: 133-2168
- Serial #: None - None
- Product Type: Riding Products
Loading...
Assembly Drawings
Search for a part within assembly drawings:
-
Parts Catalog
-
Installation Instructions
-
Model #
133-2168 -
Serial #
None - None -
Product Name
48 inch Recycler Kit (Titan HD 2500) -
Product Brand
Toro -
Product Type
Riding Products -
Product Series
Attachments & Kits, LCE Riding
