Z Master Professional 3000 Series Riding Mower, with 60in TURBO FORCE Side Discharge Mower
Product Information
- Model #: 74950
- Serial #: 402100000 - 403247404
- Product Type: Riding Products
Loading...
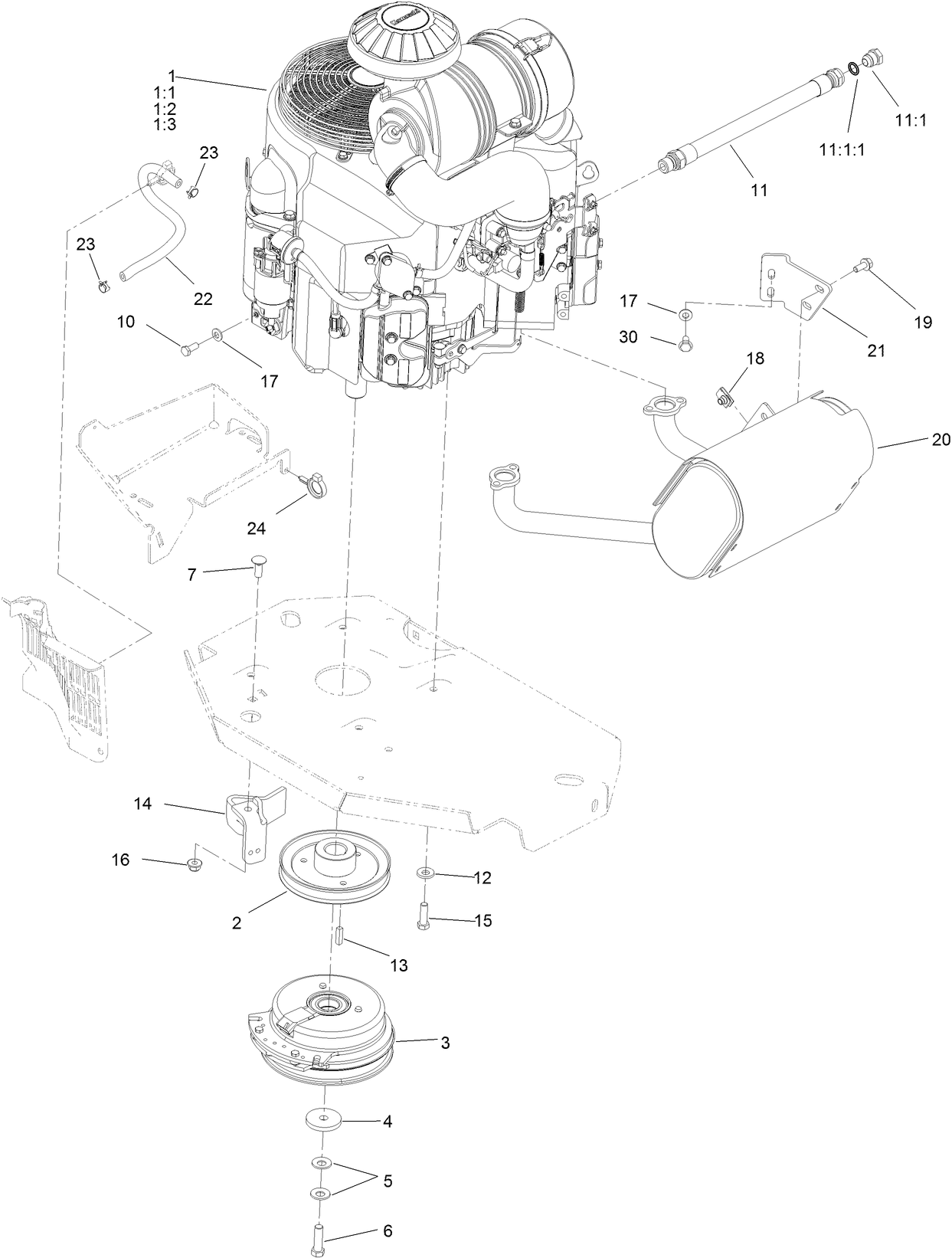
Assembly Drawings
Search for a part within assembly drawings:
-
Operator's Manual
-
Parts Catalog
-
Product Warranty
-
Setup Instructions
20.5 Inch Medium Flow Blade (Part # 105-7715-03)
Toro 20.5 Inch OEM Medium Flow blade. Medium Flow mower straight edge, standard discharge blade. These blades have slight upward angle on the edges. Great blades for use when horsepower is a concern. Produce medium Flow but requires less horsepower than Hi-Flow blades. This Toro blade has multiple applications. Be sure to verify model and serial number to ensure the correct part.
20.5 Inch Low Flow Blade (Part # 105-7716-03)
Toro 20.5 Inch OEM Low Flow blade. Low Flow mower blades have slightly curved ends that keep air Flow to a minimum. The lack of suction allows cut grass to exit the mower while keeping dust and debris levels down. Toro Low Flow mower blades cause less engine strain than Hi-Flow blades. This Toro blade has multiple applications. Be sure to verify model and serial number to ensure the correct part.
20.5 Inch Hi-Flow Blade (Part # 105-7718-03)
Toro OEM Hi-Flow blade. This sharp replacement Hi-Flow lawn mower blade provides a crisp, clean cut time after time. You can count on the quality and reliability of this Toro replacement Hi-Flow lawn mower blade. This Toro blade has multiple applications. Be sure to verify model and serial number to ensure the correct part.
Please contact your local dealer
20.5 Inch Recycler Blade (Part # 105-7777-03)
Toro 20.5 Inch OEM Recycler blade. Recycler straight edge, standard discharge blade. The blade is designed for a High quality cut and long-lasting durability. These blades are designed with “wings,” called “accelerators” that kind of act like a fan — forcing the tiny bits of grass back into the earth. This Toro blade has multiple applications. Be sure to verify model and serial number to ensure the correct part.
20.5 Inch Atomic Blade (Part # 105-8777-03)
Toro 20.5 Inch OEM Atomic blade. The Toro Atomic blade is commonly referenced as a “Gator Style” or “Gator Blade”. Provides the best quality of cut while mulching. This Toro blade has multiple applications. Be sure to verify model and serial number to ensure the correct part.
GrandStand Turbo Baffle Kit (Part # 107-1634)
GrandStand Turbo Baffle Kit. To best protect your investment and maintain optimal performance of your equipment, count on Toro genuine parts and accessories.
20.5 Inch Hi-Flow Blade (6 Pack) (Part # 108-1114)
Toro 20 Inch OEM Hi-Flow blade pack. (6) Hi-Flow blades. This sharp replacement Hi-Flow lawn mower blade provides a crisp, clean cut time after time. You can count on the quality and reliability of this Toro replacement Hi-Flow lawn mower blade. This Toro blade has multiple applications. Be sure to verify model and serial number to ensure the correct part.
Atomic 20.5 Inch Blade Pack (6) (Part # 108-1115)
Toro OEM Atomic blade pack. (6) 20.5 Inch Atomic blades. Atomic blade is commonly referenced as a “Gator Style” or “Gator Blade”. Provides the best quality of cut while mulching. This Toro blade has multiple applications. Be sure to verify model and serial number to ensure the correct part.
Mid Flow 20.5 Inch Blade Pack (6) (Part # 108-1123)
Toro 20.5 Inch OEM Medium Flow blade pack. (6) Medium Flow blades. Medium Flow mower straight edge, standard discharge blade. These blades have slight upward angle on the edges. Great blades for use when horsepower is a concern. Produce medium Flow but requires less horsepower than Hi-Flow blades. This Toro blade has multiple applications. Be sure to verify model and serial number to ensure the correct part.
Low Flow 20.5 Inch Blade Pack (6) (Part # 108-1128)
Toro 20.5 Inch OEM Low Flow blade pack. (6) Low Flow blades. Low Flow mower blades have slightly curved ends that keep air Flow to a minimum. The lack of suction allows cut grass to exit the mower while keeping dust and debris levels down. Toro Low Flow mower blades cause less engine strain than Hi-Flow blades. This Toro blade has multiple applications. Be sure to verify model and serial number to ensure the correct part.
Z-Master Anti-Scalp Kit (Trim Side) (Part # 108-4140)
Toro OEM anti-scalp deck wheels. These wheels help prevent the deck from coming in contact with the ground when passing over a high spot, thus preventing the blade from slicing off or "scalping" large clumps of grass.
Recycler 20.5 Inch Blade Pack (6) (Part # 110-0405)
Toro 20.5 Inch OEM Recycler blade pack. (6) Recycler blades. Recycler straight edge, standard discharge blade. The blade is designed for a High quality cut and long-lasting durability. These blades are designed with “wings,” called “accelerators” that kind of act like a fan — forcing the tiny bits of grass back into the earth. This Toro blade has multiple applications. Be sure to verify model and serial number to ensure the correct part.
Hypr-Oil™ 500 (quart) (Part # 114-4713)
High Performance Hydro Oil
Hypr-Oil™ 500 (gallon) (Part # 114-4714)
High Performance Hydro Oil
Hypr-Oil™ 500 Hydraulic Oil (5 gallon) (Part # 114-4715)
Maximize commercial mower performance with Hypr-Oil™ 500. Tested and approved by Toro Engineering.
Please contact your local dealer
Bimini Folding Sunshade Assembly (Part # 115-4510)
Toro genuine Optional fabric sun shade provides protection and comfort by shielding the operator from the elements.
60 inch Recycler Kit (GrandStand) (Part # 115-7468)
By adding the Toro Recycler system to your Toro 60-inch GrandStand mower, you create your own natural fertilizer. This patented system cuts grass clippings 6-8 times, turning them into a fine, nutrient-rich mulch to feed your lawn all season. The secret lies in the unique 'kickers' that direct clippings back into the blades to be re-cut before being released into your lawn to promote its health and vitality.
Roller Striping Kit (Part # 115-7470)
Toro OEM A mower striping kit. The ultimate way to enhance the striping ability of your Z-Master. When it comes to reliability, Toro delivers replacement parts designed to the exact engineering specifications of our equipment. For peace of mind, insist on Toro genuine parts.
Seat Cover w/Arm Rest (Part # 117-0095)
Toro OEM Seat Cover W/Arm Rest will fit Z Masters. Make your old seat look like new! Plus, the extra padding offers a more comfortable ride.
Operator-Controlled Discharge Chute Kit (Part # 117-3600)
Toro operator controlled discharge kit. When it comes to reliability, Toro delivers replacement parts designed to the exact engineering specifications of our equipment. For peace of mind, insist on Toro genuine parts.
Kit Seat Deluxe Assembly with Michigan (Part # 117-6174)
Genuine OEM Part
Z Stand Kit for Z Master Riding Mower with 48", 52" or 60" Deck (Part # 121-4811)
Toro OEM deck stand kit. Allows for easy under deck access at the shop or in the field. When it comes to reliability, Toro delivers replacement parts designed to the exact engineering specifications of our equipment. For peace of mind, insist on Toro genuine parts.
Kit Assembly with Toro (Part # 121-7595)
Genuine OEM Part
Suspension Seat and Mount Kit (Part # 121-7596)
Toro suspension seat increases operator comfort and boosts productivity in ways you’ve never imagined. Mow longer without stopping and cut around even the most intricate landscaping at faster speeds with better results. When it comes to reliability, Toro delivers replacement parts designed to the exact engineering specifications of our equipment. For peace of mind, insist on Toro genuine parts.
Power Deck Lift Kit (Part # 132-5986)
Easily Raise and Lower your Z-Master cutting deck with the push of a button using this Toro power lift kit. Toro operator controlled discharge kit. When it comes to reliability, Toro delivers replacement parts designed to the exact engineering specifications of our equipment. For peace of mind, insist on Toro genuine parts.
Please contact your local dealer
Toro Titan Deluxe Cover (Part # 490-7319)
Toro OEM deluxe rider cover keeps your Titan riding lawn mower protected from the elements when not in use. Cover is made to withstand wear and tear and features elastic cord to keep cover in place. Perfect for equipment stored outside or for seasonal use. When it comes to reliability, Toro delivers replacement parts designed to the exact engineering specifications of our equipment. For peace of mind, insist on Toro genuine parts.
Z-Master Spark Arrestor (Part # 75-6880)
Toro OEM spark arrestor prevents carbon build ups from being ejected from the engine and igniting a fire.
Blower and Drive Kit, 60in E-Z Vac for Z Master G3 Mower (Part # 78553)
60in E-Z Vac Triple Bagging System, Z Master G3 Mower (Part # 78563)
60in E-Z Vac DFS Collection System, Z Master G3 Mower (Part # 78567)
Toro Filter Gauge for Kohler Engines (Part # 99-4664)
Toro genuine filter gauge. This Toro filter gauge shows when filters are nearing restriction limits, graduated indicators help you maximize filter life and effectively schedule service intervals. Toro would like to remind you that fitment can vary by sub model, serial number, and/or production date of your equipment. Please refer to the original owners manual in order to verify this is correct part for your machine.
-
Model #
74950 -
Serial #
402100000 - 403247404 -
Product Name
Z Master Professional 3000 Series Riding Mower, with 60in TURBO FORCE Side Discharge Mower -
Product Brand
Toro -
Product Type
Riding Products -
Product Series
Zero Radius Turn, Commercial 3000 Series -
Chassis Type
ZRT - LCE -
Swath
152cm/60 inch -
Discharge
Side Discharge -
Engine/Motor Manufacturer
Kawasaki -
Engine/Motor Size
25.5 hp -
Engine/Motor Type
4 Cycle -
Engine Starter
Electric -
Transmission Type
Hydrostatic -
Traction Type
Rear WD
-
Engine: Battery
12V 300CCA -
Engine: Engine Speed
3600±100 RPM -
Engine: Spark Plug
NGK BPR4ES -
Engine: Spark Plug Gap
.030"/ .76mm -
Chassis: Tire Pressure
13 psi / 90 kPa -
Engine: Ignition Coil Air Gap
.008-.024" / .2-.6mm -
Chassis: Height of Cut Range
1" - 5.5" (25-140mm) -
Drive System: Gearbox Lubricant
HYPR-OIL 500 / Mobil 1 15w-50; 52oz. (1.5L) per side with filter change -
Drive System: Ground Speed
Up to 10 mph -
Engine: Engine Oil Type
64 oz. (1.9L) 10w-30 with filter change























