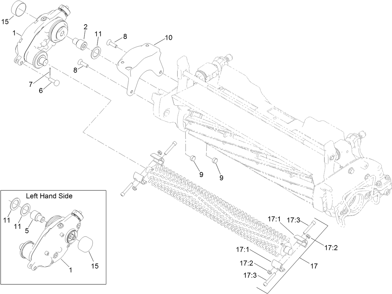
Universal Groomer Drive
Product Information
- Model #: 04648
- Serial #: 320002603 - 320999999
- Product Type: Attachments
Loading...
Assembly Drawings
Search for a part within assembly drawings:
-
Parts Catalog
-
Installation Instructions
Soft QC Grooming Brush (Part # 04268)
Spiral rotating brush used to condition grass before cutting
Stiff QC Grooming Brush (Part # 04269)
Spiral rotating brush used to condition grass before cutting
Soft Q Grooming Brush (Part # 04270)
Spiral rotating brush used to condition grass before cutting
Stiff QC Grooming Brush (Part # 04271)
Spiral rotating brush used to condition grass before cutting
21in Spring Steel Groomer Reel, Groomer Drive System (Part # 04283)
Twin Tip Groomer Blade (Part # 04801)
Reduces thatch and stands grass blades for a crisp, clean cut
Twin Tip Groomer Blade (Part # 04802)
High Height Of Groom Kit (above .375in) (Part # 133-9110)
-
Model #
04648 -
Serial #
320002603 - 320999999 -
Product Name
Universal Groomer Drive -
Product Brand
Toro -
Product Type
Attachments




