10-32 Recycler Rider
Product Information
- Model #: 70080
- Serial #: 5900001 - 5999999
- Product Type: Riding Products
Loading...
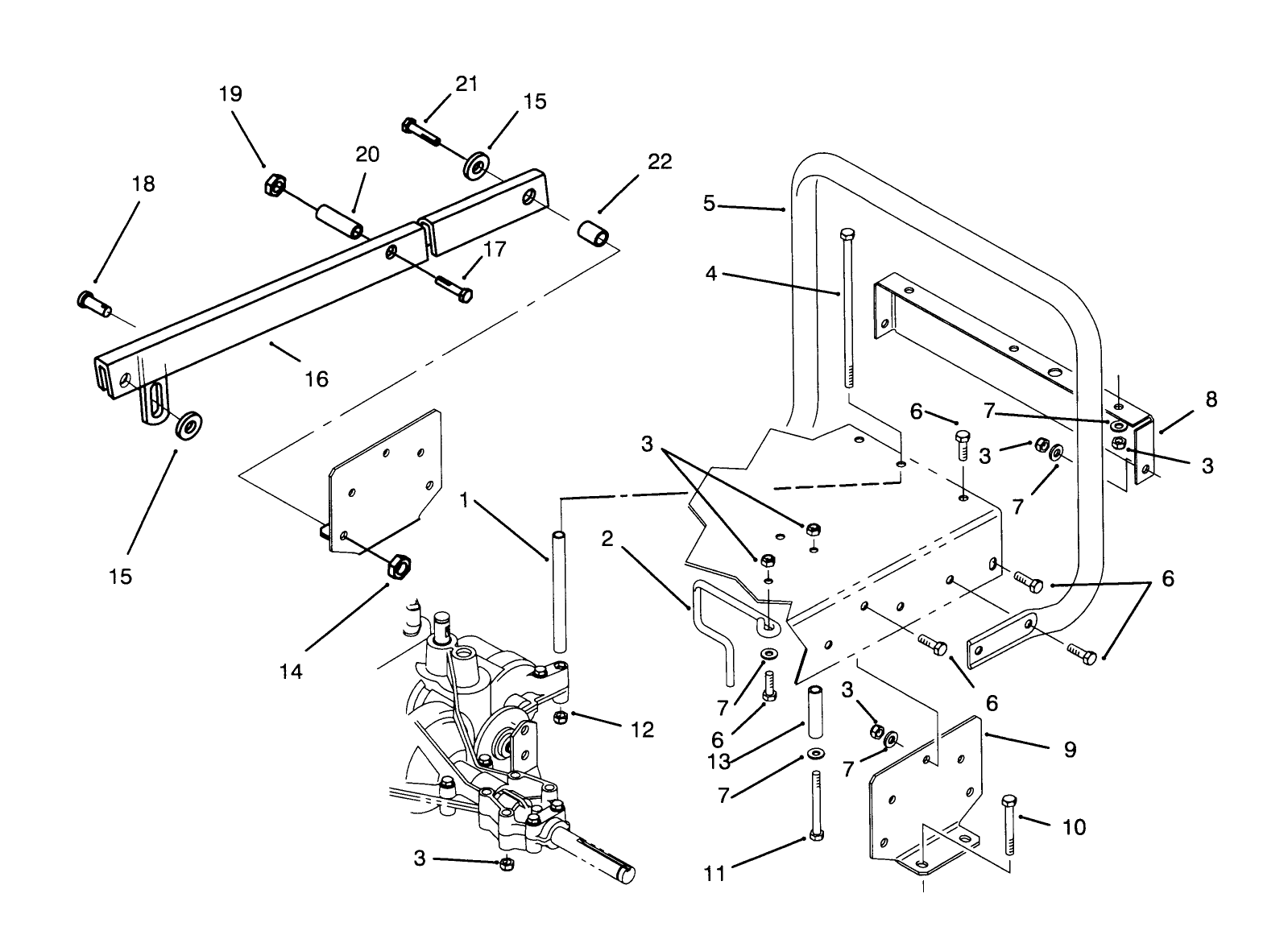
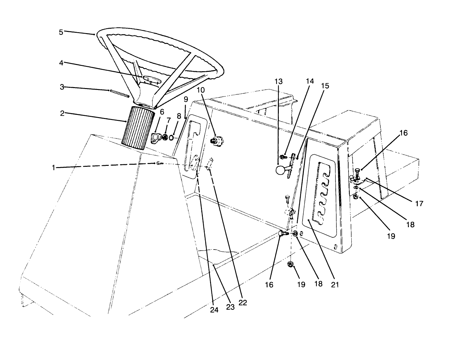
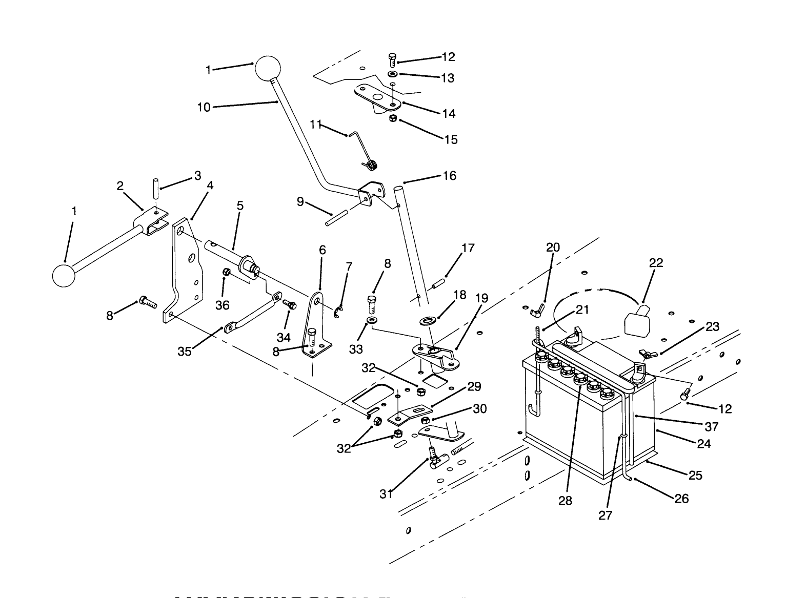
Assembly Drawings
Search for a part within assembly drawings:
-
Service Manual
-
Operator's Manual
-
Parts Catalog
Toro Red 12or aerosol can. (Part # 361-10)
Genuine OEM Part
Red Paint (Gallon) (Part # 361-11)
Genuine OEM Part
Red Paint (Part # 5340)
Genuine OEM Part
9.0 cu. ft. Twin Bagger (Part # 79085)
6.0 cu. ft. Easy-Empty Grass Catcher (Part # 79095)
-
Model #
70080 -
Serial #
5900001 - 5999999 -
Product Name
10-32 Recycler Rider -
Product Brand
Toro -
Product Type
Riding Products -
Product Series
Rear Engine Rider, 32" -
Chassis Type
Rear Engine Rider -
Swath
32 inch -
Discharge
Recycler -
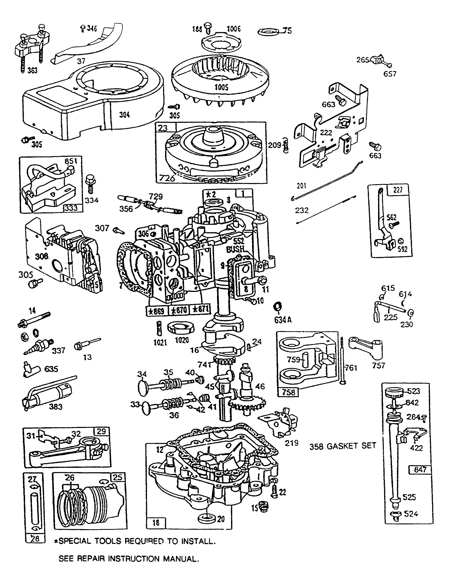
Engine/Motor Manufacturer
Briggs & Stratton -
Engine/Motor Size
10 hp -
Engine/Motor Type
4 Cycle -
Engine Starter
Electric -
Transmission Type
Gear
-
Chassis: Tire Pressure
12 PSI / .5kg sq. cm -
Drive System: Ground Speed
Fwd. 1.4 - 4.9 Rev. 1.7 mph -
Engine: Battery
12V 160CCA -
Engine: Engine Speed
High 3300, Low 1750 RPM -
Engine: Spark Plug
Champion RJ19LM -
Engine: Spark Plug Gap
.030"/ .76mm


























