12-32XL Lawn Tractor
Product Information
- Model #: 71200
- Serial #: 4900001 - 4999999
- Product Type: Riding Products
Loading...
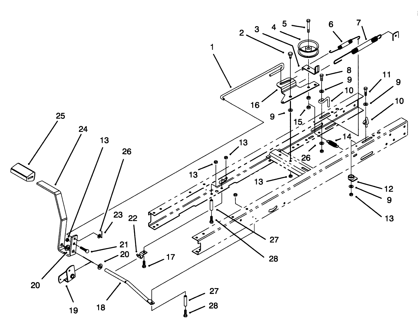
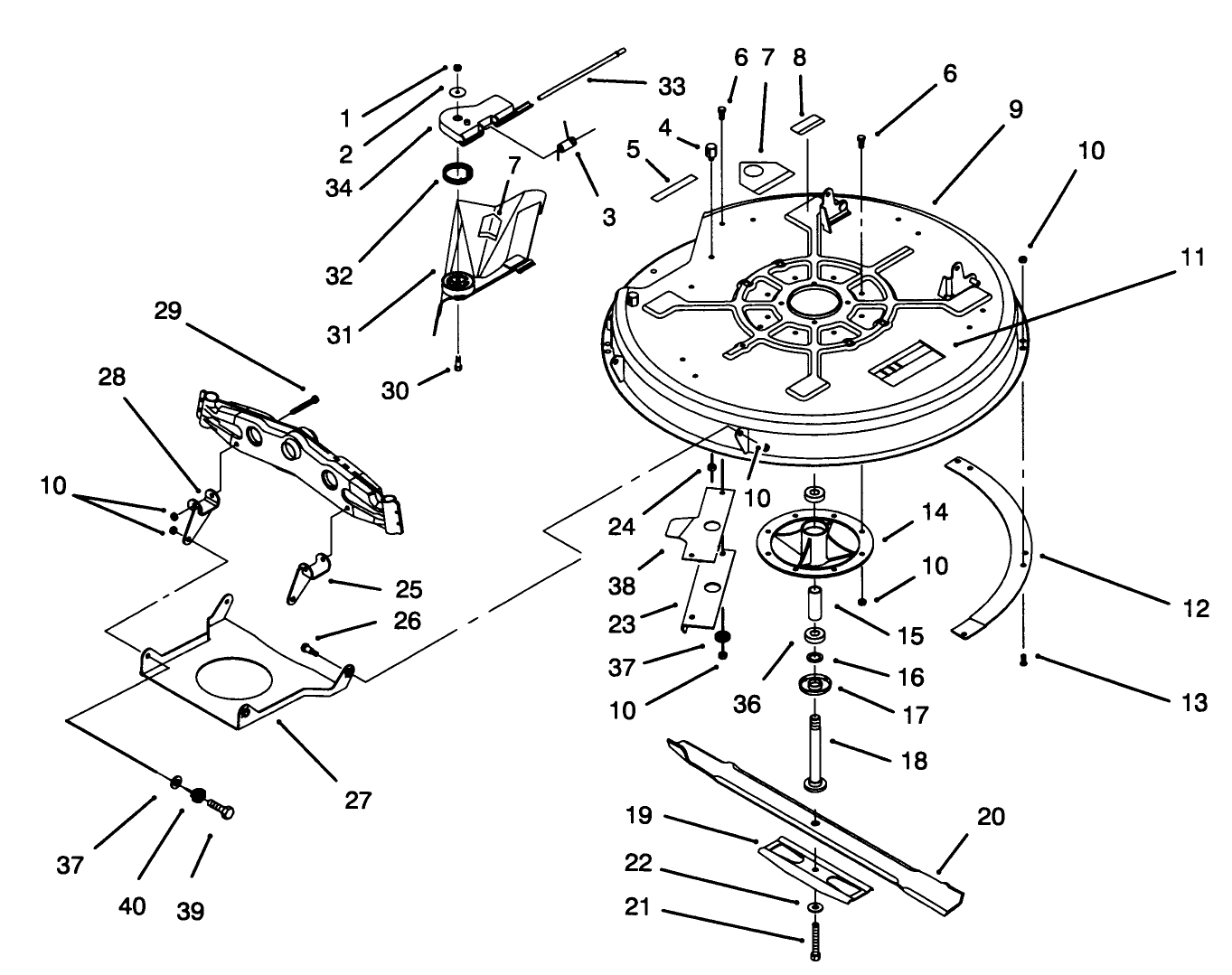
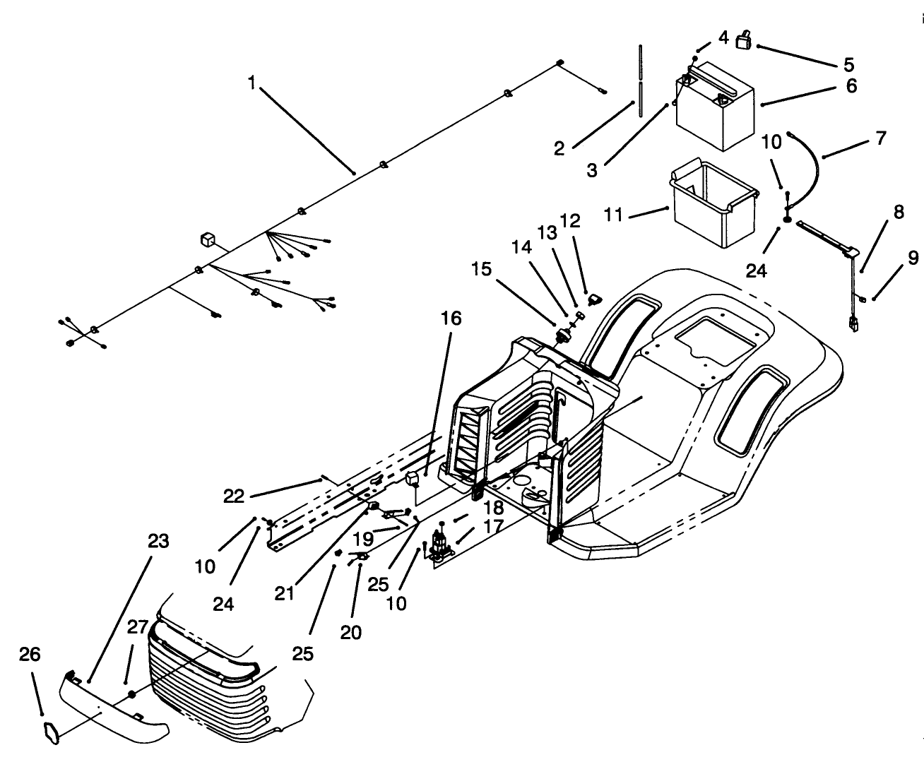
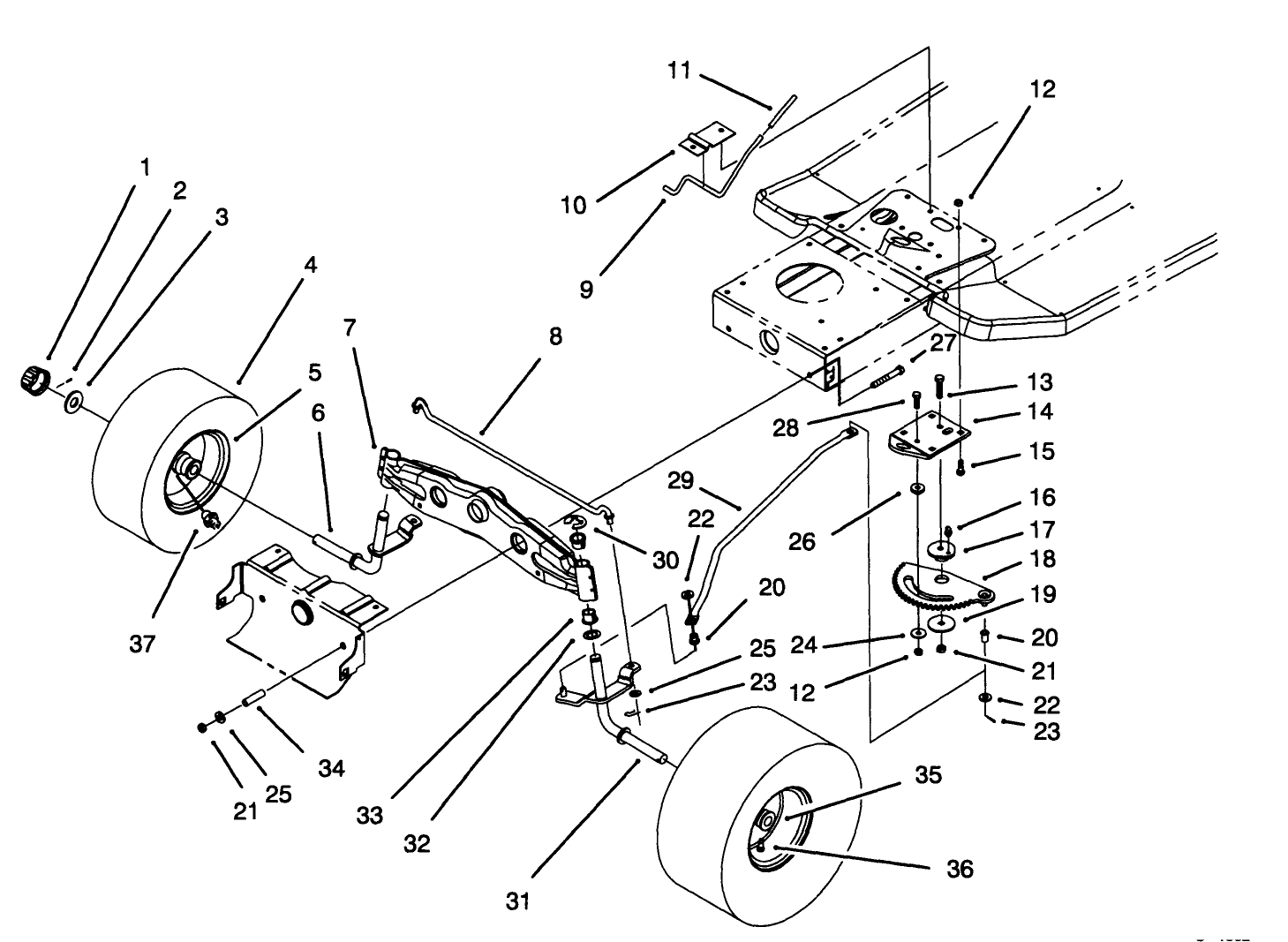
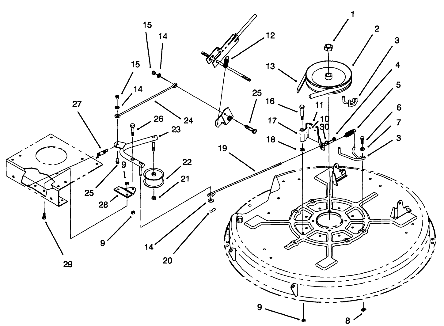
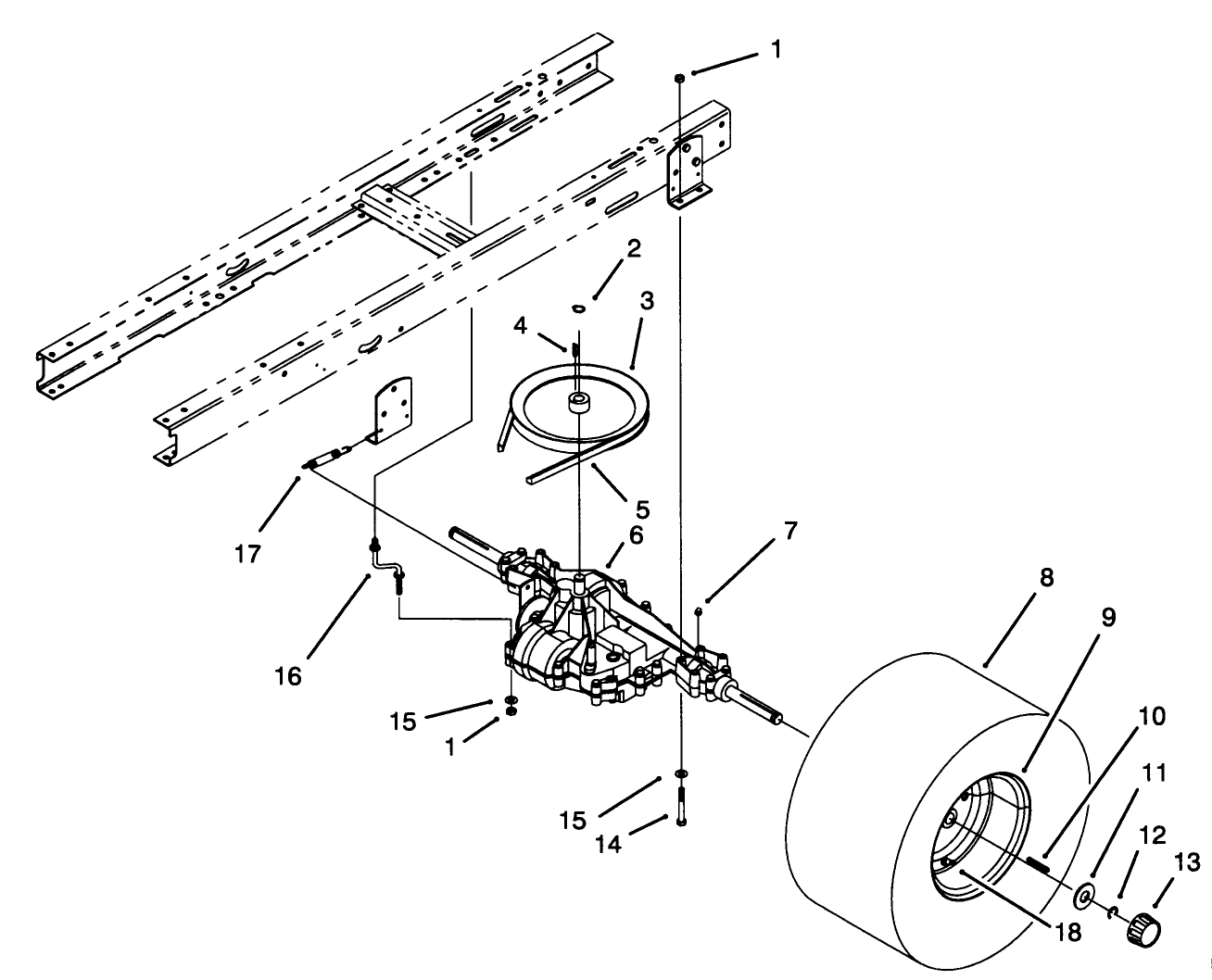
Assembly Drawings
Search for a part within assembly drawings:
-
Service Manual
-
Parts Catalog
-
Setup Instructions
Wheel Weight Kit (Part # 59159)
Genuine OEM Part
9.0 cu. ft. Twin Bagger (Part # 79085)
6.0 cu. ft. Easy-Empty Grass Catcher (Part # 79095)
42" Snow Blade (Part # 79150)
Headlight Kit (Part # 79180)
38" Sweeper (8:1) (Part # 79923)
Dump Cart (283L) (Part # 79924)
Sweeper (Part # 79986)
Tire Chain Accessory (Part # 82722)
Genuine OEM Part
-
Model #
71200 -
Serial #
4900001 - 4999999 -
Product Name
12-32XL Lawn Tractor -
Product Brand
Toro -
Product Type
Riding Products -
Product Series
Lawn Tractor, XL Series -
Chassis Type
Lawn Tractor -
Swath
32 inch -
Discharge
Side -
Engine/Motor Manufacturer
Briggs & Stratton -
Engine/Motor Size
12 hp -
Engine/Motor Type
4 Cycle -
Engine Starter
Electric -
Transmission Type
Gear
-
Chassis: Tire Pressure
12 PSI / .5kg sq. cm -
Drive System: Ground Speed
Fwd. 1.0 - 5.3 Rev. 1.8 mph -
Engine: Battery
12V 160CCA -
Engine: Engine Speed
High 3300, Low 1750 RPM -
Engine: Spark Plug
Champion RJ19LM -
Engine: Spark Plug Gap
.030"/ .76mm































