38" Recycler Mower, 260 Series Yard Tractors
Product Information
- Model #: 78226
- Serial #: 5900001 - 5999999
- Product Type: Attachments
Loading...
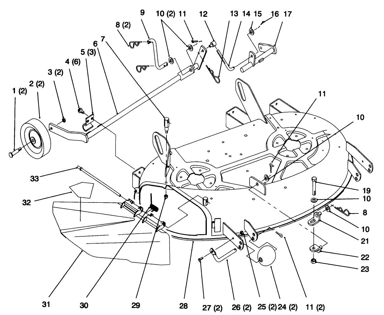
Assembly Drawings
Search for a part within assembly drawings:
-
Operator's Manual
-
Parts Catalog
-
Model #
78226 -
Serial #
5900001 - 5999999 -
Product Name
38" Recycler Mower, 260 Series Yard Tractors -
Product Brand
Toro -
Product Type
Attachments -
Product Series
Attachments & Kits, Consumer Riding -
Swath
38 inch -
Discharge
Recycler


