PT-36PP Power Trowel
Product Information
- Model #: 68049
- Serial #: 410200000 - 999999999
- Product Type: Concrete Equipment
Loading...
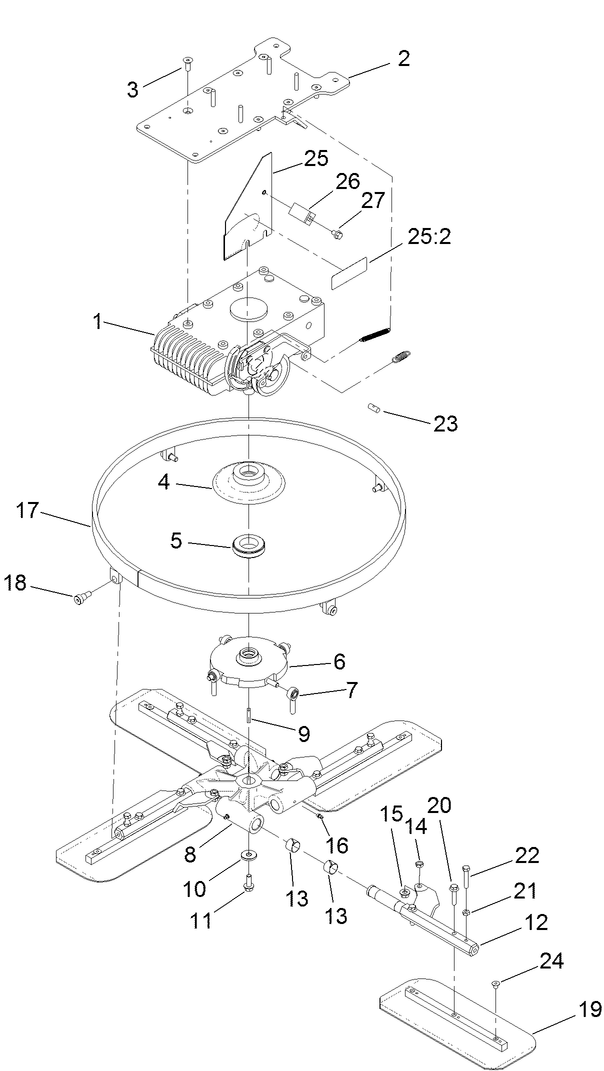
Assembly Drawings
Search for a part within assembly drawings:
-
Operator's Manual
-
Parts Catalog
-
Product Warranty
-
ACMA Declaration of Conformity
-
Model #
68049 -
Serial #
410200000 - 999999999 -
Product Name
PT-36PP Power Trowel -
Product Brand
Toro -
Product Type
Concrete Equipment -
Engine/Motor Manufacturer
Honda





