GeoLink Precision Spray System Finishing Kit, Serial Number 415400000 and After Multi Pro 1750 Turf Sprayer
Product Information
- Model #: 41707
- Serial #: 400000000 - 417999999
- Product Type: Sprayers
Loading...
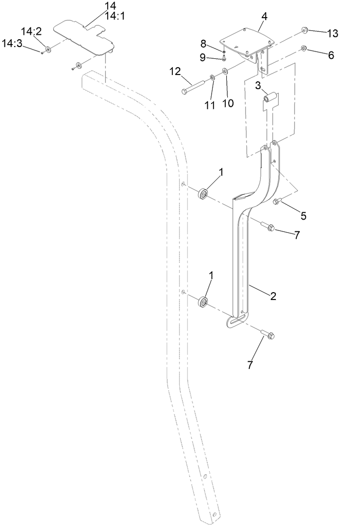
Assembly Drawings
Search for a part within assembly drawings:
-
Parts Catalog
-
Installation Instructions
-
Schematic Drawing - Electrical
-
Model #
41707 -
Serial #
400000000 - 417999999 -
Product Name
GeoLink Precision Spray System Finishing Kit, Serial Number 415400000 and After Multi Pro 1750 Turf Sprayer -
Product Brand
Toro -
Product Type
Sprayers











