21" (53 cm) Heavy Duty Variable Speed Zone Start Kawasaki 2-Bail.
Product Information
- Model #: 22290
- Serial #: 314000001 - 314999999
- Product Type: Walk Behind Mowers
Loading...
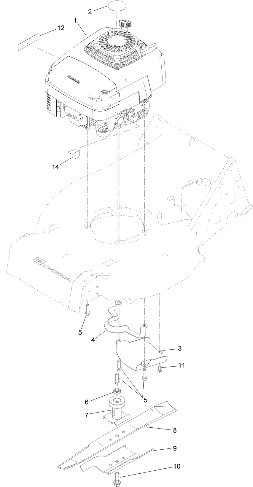
Assembly Drawings
Search for a part within assembly drawings:
-
Operator's Manual
-
Parts Catalog
*OBS* Toro full synthetic 10W-30 engine oil (Part # 117-0066)
Toro full synthetic 10W-30 engine oil. The easy engine oil choice for any outdoor power equipment
to increase performance and reliability.
Toro Premium Fuel Treatment - .4 oz. (Part # 117-0089)
Genuine OEM Part
Toro Premium Fuel Treatment - 16 oz. (Part # 117-0090)
Genuine OEM Part
21 Inch Bagging Blade (Part # 125-1072-03)
Toro bagging 21 Inch blade. Toro bagging lawn blades have a straight and more aerodynamic body that cuts grass which then allow for either discharge or bagging of the clippings. This Toro blade has multiple applications. Be sure to verify model and serial number to ensure the correct part.
Anti-Scalp Cup (Part # 125-8440)
Toro OEM walk power mower anti-scalp cup. These cups help prevent the lawn mower deck from coming in contact with the ground when passing over a high spot, thus preventing the blade from slicing off or "scalping" large clumps of grass. To best protect your investment and maintain optimal performance of your equipment, count on Toro genuine parts.
Engine Guard Kit (Part # 130-9700)
Protect your Toro walk push mower with the engine guard kit. The genuine Toro parts protects your engine and deck when mowing heavy brush. To best protect your investment and maintain optimal performance of your equipment, count on Toro genuine parts.
Side Deck Guard Kit (Part # 130-9701)
Protect your Toro walk push mower with this side deck guard kit. The genuine Toro parts protects the side deck when mowing heavy brush or from accidental collisions with landscaping. To best protect your investment and maintain optimal performance of your equipment, count on Toro genuine parts.
Please contact your local dealer
Rear Discharge Kit (Part # 130-9734)
The discharge kit easily converts bagging mowers to a side discharge mower. Directs the grass clippings away from the lawn mower deck. To best protect your investment and maintain optimal performance of your equipment, count on Toro genuine parts.
SAE 30 4-Cycle Lawn Mower Engine Oil 32 oz (Part # 38903)
Toro SAE 30 4-cycle engine oil passed the strictest requirements in thousands of hours of testing in hundreds of engines before you filled your lawn mower. This oil meets or exceeds performance requirements of all OEM engines (Toro, Briggs & Stratton, KOLHER, Honda, and Tecumseh). The use of Toro SAE 30 4-cycle lawn mower oil minimizes molecular shearing for extended life in hot-air-cooled applications vs multi-grades (i.e., 10W-30).
Cover for 20 to 22 Inch Walk-Behind Mowers (Part # 490-7462)
The Toro Walk Power Mower Cover for 20 in. to 22 in. Walk-Behind Mowers offers all-season protection. This cover is constructed from tough, waterproof, tear and abrasion resistant 600-denier polyester.
-
Model #
22290 -
Serial #
314000001 - 314999999 -
Product Name
21" (53 cm) Heavy Duty Variable Speed Zone Start Kawasaki 2-Bail. -
Product Brand
Toro -
Product Type
Walk Behind Mowers -
Product Series
21" Commercial -
Chassis Type
Cast Deck WPM -
Swath
21 inch -
Discharge
Recycler & Rear Bagger -
Engine/Motor Manufacturer
Kawasaki -
Engine/Motor Type
4 Cycle -
Engine Starter
Recoil -
Transmission Type
Gear -
Traction Type
Rear WD
-
Engine: Spark Plug
NGK BPR5ES -
Engine: Spark Plug Gap
.030"/ .76mm -
Chassis: Height of Cut Range
1" - 4.5" (25-114mm) -
Engine: Engine Speed
3300±100 RPM -
Engine: Ignition Coil Air Gap
.010-.020" / .25-.5mm -
Engine: Engine Oil Type
22 oz. (.65L) SAE 30 or SAE 10W-30 / API SJ or higher






