Universal Groomer Drive Kit, Reelmaster 22-inch or 27-inch EdgeSeries Cutting Units with 7-inch Reel
Product Information
- Model #: 03768
- Serial #: 319000001 - 319999999
- Product Type: Attachments
Loading...
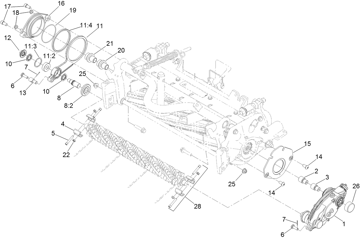
Assembly Drawings
Search for a part within assembly drawings:
-
Parts Catalog
-
Installation Instructions
-
Service Bulletin
UNIVERSAL GROOMER CARTRIDGE (Part # 03241)
UNIVERSAL RRB KIT (Part # 03242)
Weight Kit, Reelmaster 3575, 5010, or 5010-H Series Cutting Units with (Part # 03418)
Weight Kit, Reelmaster 3575, 5010, or 5010-H Series Cutting Units with (Part # 03419)
Rear Roller Brush Kit, Reelmaster 5010-H Series 22-inch Cutting Unit w (Part # 03659)
Universal Groomer Cartridge, Reelmaster 3555, 3575, 5010, and 5010-H S (Part # 03765)
Grooming Brush, Reelmaster 3555, 5010, and 5010-H Series 22-inch Cutti (Part # 03767)
Broomer Kit, Reelmaster 3555, 3575, 5010, and 5010-H Series 22-inch Cu (Part # 132-7125)
UNIVERSAL FWY BROOMER KIT (27IN RH) (Part # 133-8222)
-
Model #
03768 -
Serial #
319000001 - 319999999 -
Product Name
Universal Groomer Drive Kit, Reelmaster 22-inch or 27-inch EdgeSeries Cutting Units with 7-inch Reel -
Product Brand
Toro -
Product Type
Attachments



