FP-2200 Forward Plate Compactor
Product Information
- Model #: 68025
- Serial #: 409064497 - 413999999
- Product Type: Compactors
Loading...
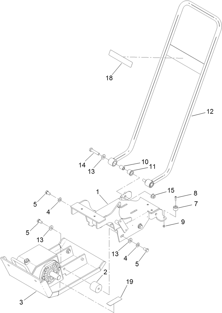
Assembly Drawings
Search for a part within assembly drawings:
-
Operator's Manual
-
Parts Catalog
-
Product Warranty
-
ACMA Declaration of Conformity
-
Model #
68025 -
Serial #
409064497 - 413999999 -
Product Name
FP-2200 Forward Plate Compactor -
Product Brand
Toro -
Product Type
Compactors -
Engine/Motor Manufacturer
Honda



