Lawnmower
Product Information
- Model #: 20441
- Serial #: 6900001 - 6999999
- Product Type: Walk Behind Mowers
Loading...
Assembly Drawings
Search for a part within assembly drawings:
-
Service Manual
-
Operator's Manual
-
Parts Catalog
Recycler bagging kit (Part # 59290)
Recycler side discharge kit (Part # 59291)
-
Model #
20441 -
Serial #
6900001 - 6999999 -
Product Name
Lawnmower -
Product Brand
Toro -
Product Type
Walk Behind Mowers -
Product Series
21" Steel Deck -
Chassis Type
Steel Deck WPM -
Swath
21 inch -
Discharge
Recycler -
Engine/Motor Manufacturer
Toro -
Engine/Motor Size
4.5 hp -
Engine/Motor Type
2 Cycle -
Engine Starter
Recoil -
Transmission Type
Hand Push
-
Engine: Type
Air cooled, 2 cycle -
Engine: Bore
2.3810 - 2.3800 " (60.477 -85.852 mm) -
Engine: Stroke
1.7520 - 1.7497" (44.501- 44.442mm) -
Engine: Connecting rod length
3.00" (76.2mm) -
Engine: Wrist pin diameter
.5000" (12.7mm) -
Engine: Wrist pin offset
.070" (1.78mm) toward major thrust side -
Engine: Crankpin Diameter
.742" (18.85mm) -
Engine: Top and bottom bearings
Dia. top .875" (22.3mm) bottom 1.125" (28.58mm) -
Engine: Displacement
7.78 cu in (127.51 cc) -
Engine: Horsepower
4.5 hp. (3.35 kws) -
Engine: Compression ratio
5.91:1 ( range of 5.151 - 6.668 :1) -
Engine: Compression
Approximately 90 - 115 psi (6.43 - 8.21 kg/cm2 ) -
Engine: Engine rotation
Counter clockwise as viewed from the PTO -
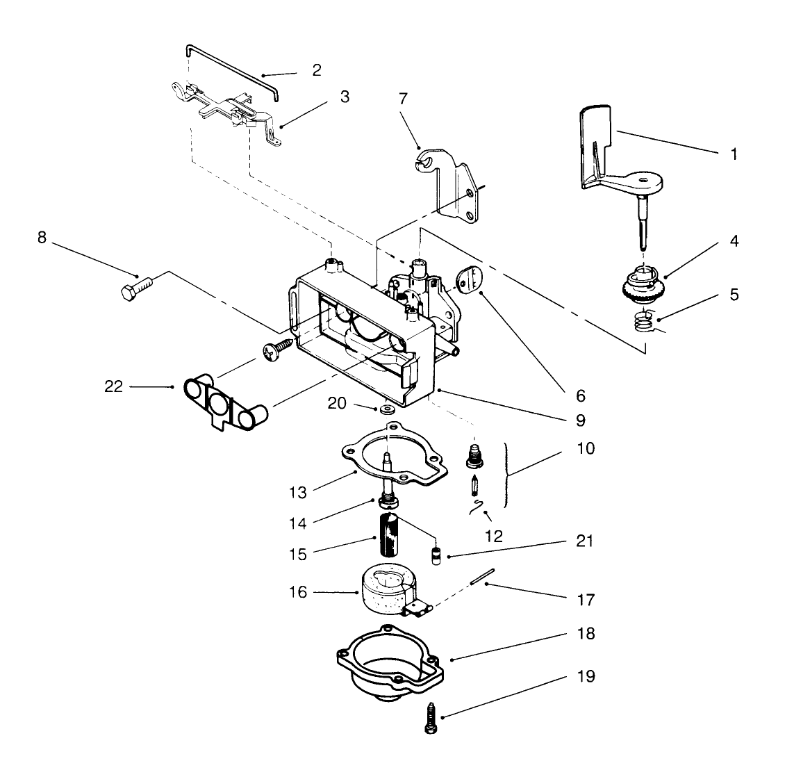
Engine: Carburetor
Single - circuit, with fixed main jet, float type -
Engine: Fuel required Fuel / Oil Ratio
Unleaded regular (87 octane) premixed with 2 cycle oil; 32:1 ratio -
Engine: Recommended oil
Toro 2-cycle or premium ashless NMMA certified oil -
Engine: Fuel Tank Capacity
1.3 qts. (1.23 ltr.) -
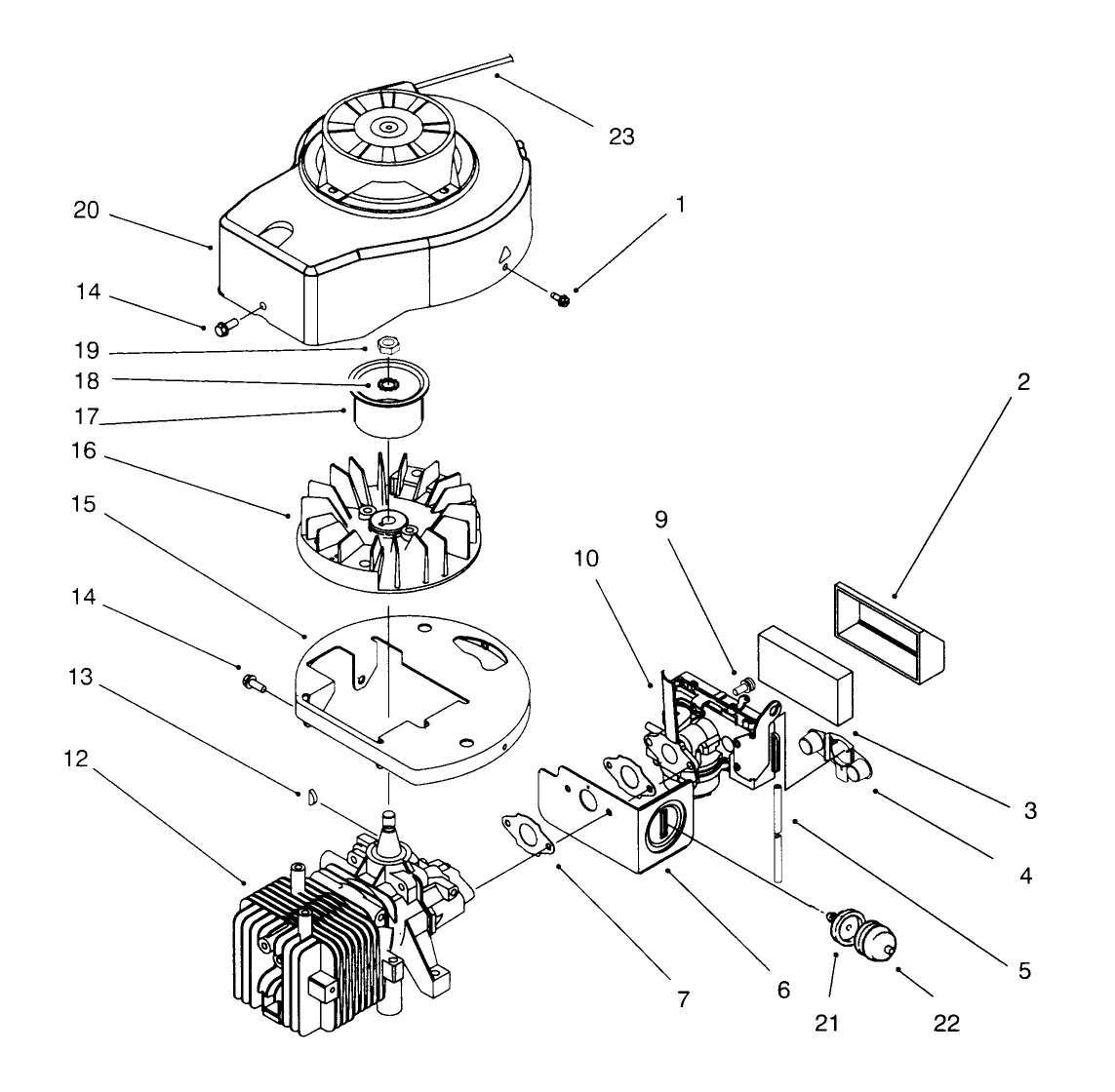
Engine: Ignition type
Solid state CD pack, Magneto type -
Engine: CD Pack air gap
.010" (.25mm) -
Engine: Spark timing
2 degrees - 8 degrees BTDC (cranking) ; 22 - 28 -
Engine: Spark plug / air gap
Champion RJ12C /.035" (.889 mm) -
Engine: Starting system
Rope rewind -
Engine: Governor
Air vane -
Engine: Governed engine speed
3050 +/- 100 RPM -
Engine: Idle speed
2200 - 2800 RPM -
Engine: Air cleaner
Oiled, foam type -
Engine: Choke
Primer bulb -
Engine: Fuel Filter
In-tank and in-carburetor -
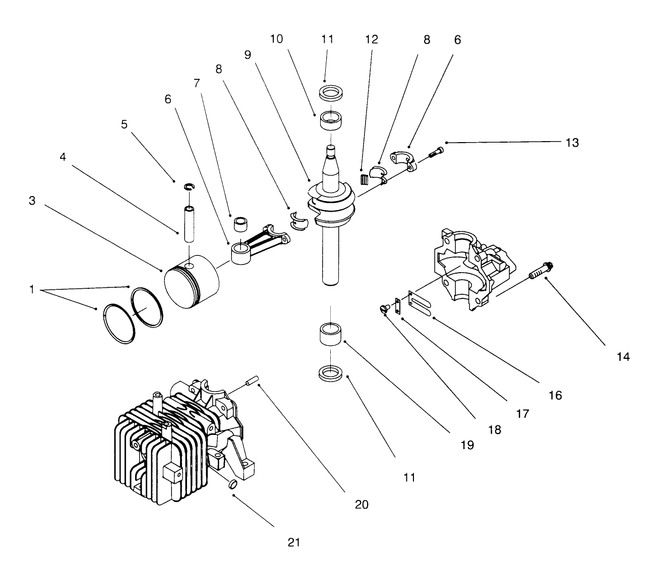
Engine: Piston
Permanent mold, high silicon aluminum -
Engine: Piston rings
Cast iron, semi-keystone top ring square cut secon -
Engine: Ring end gap
Normal range: .006" - .016" (.152 - .506mm) Wear l -
Engine: Reed valve air gap
.004" (.101mm) max. -
Engine Torque: Bolt, Blade
45-60 ft. lbs (60 -81.6 N-m) -
Engine Torque: Nut Flywheel
375 - 425 in lbs (42-47N-m) -
Engine Torque: Screw, Air vane
5-7 in lbs (5-8 N-m) -
Engine Torque: Screw, Brake plate assembly
60-70 in lbs (6.7-7.8 N-m) -
Engine Torque: Screw, Carburetor mounting
45-55 in lbs (5.0-6.1N-m) -
Engine Torque: Screw, CD ignition pack
90-110 in lbs (10-12 N-m) -
Engine Torque: Screw, Cylinder to crankcase
105-115 in lbs (12-13 N-m) -
Engine Torque: Screw, Engine mounting
350-400 in lbs (39-45 N-m) -
Engine Torque: Screw, Ground strap stop
15-25 in lbs (1.7-2.8 N-m) -
Engine Torque: Screw, Muffler cover
150-190 in lbs (17-22 N-m) -
Engine Torque: Screw, Muffler plate
140-200 in lbs (16-22 N-m) -
Engine Torque: Screw, Reed
10-13 in lbs (1.1-1.5 N-m) -
Engine Torque: Screw, Rod cap to rod#
65-75 in lbs (7.3-8.4 N-m) -
Engine Torque: Screw, Shroud
20-25 in lbs (2.3-2.8 N-m) -
Engine Torque: Screw, Shroud base
60-70 in lbs (6.7-7.8 N-m) -
Engine Torque: Spark Plug Torque
150-200 in lbs (17-23 N-m) -
Engine Torque: Rewind starter
65-75 in lbs (7.3-8.4N-m) -
Engine, Carburetor: Type
Toro, float type, single circuit, with primer -
Engine, Carburetor: Body material
Minlon -
Engine, Carburetor: Seat material
Bronze -
Engine, Carburetor: Needle
Stainless Steel with viton tip -
Engine, Carburetor: Inlet needle "pop off" pressure
5 psi (.7 Kg/cm2) -
Engine, Carburetor: Main jet
67.5 -
Engine, Carburetor: High altitude main jet
65 -
Engine, Carburetor: Float height
15/32" to 17/32" ( 11.9-13.5mm) bowl flange (no ga -
Chassis: Cut Height
1" to 3.5" by 1/2" -
Chassis: Weight
62 lbs. -
Chassis: Fuel Capacity
1.5 qts. -
Chassis: Wheel Size
(8" x 2.06" rear) 7" x 2.06" front -
Chassis: Deck Type
Steel -
Chassis: Discharge
Recycler -
Chassis: Drive System
Push -
Chassis: Engine Type
4.5 V -
Chassis: Cut Width
21" -
Chassis: Compliance System
Zone -
Chassis: Height of Cut Range
1-3.5"; 1/2" increments -
Engine: Engine Oil Type
Lawn-Boy Gen 2 / NMMA-TCW3 -
Engine: Engine Speed
2850±300 RPM -
Engine: Ignition Coil Air Gap
.010" / .25mm -
Engine: Mix Ratio
32:1 (4.0 oz./gal.) -
Engine: Spark Plug
Champion RJ12C -
Engine: Spark Plug Gap
.035"/ .9mm
















