Lawnmower
Product Information
- Model #: 20442
- Serial #: 6900001 - 6999999
- Product Type: Walk Behind Mowers
Loading...
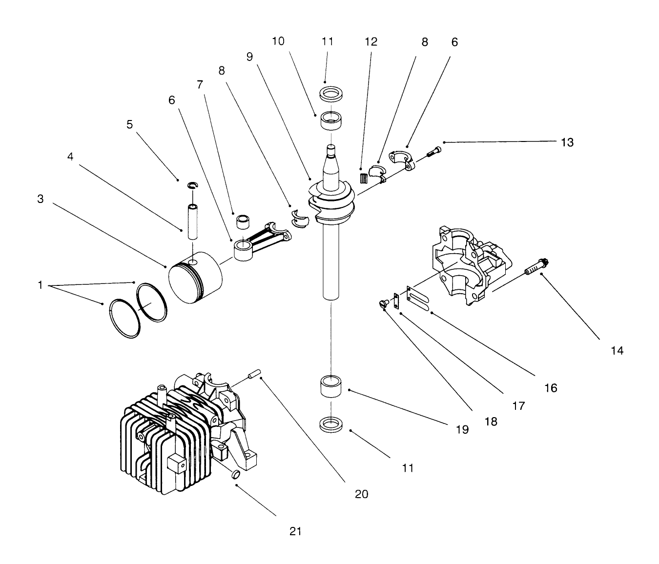
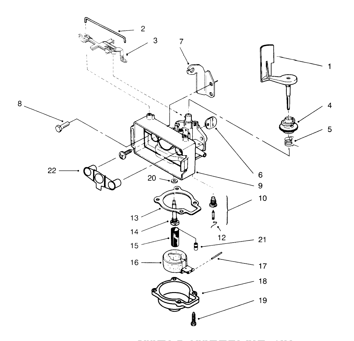
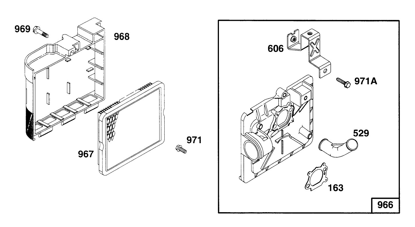
Assembly Drawings
Search for a part within assembly drawings:
-
Service Manual
-
Operator's Manual
-
Parts Catalog
Recycler bagging kit (Part # 59290)
Recycler side discharge kit (Part # 59291)
-
Model #
20442 -
Serial #
6900001 - 6999999 -
Product Name
Lawnmower -
Product Brand
Toro -
Product Type
Walk Behind Mowers -
Product Series
21" Steel Deck -
Chassis Type
Steel Deck WPM -
Swath
21 inch -
Discharge
Recycler -
Engine/Motor Manufacturer
Toro -
Engine/Motor Size
4.5 hp -
Engine/Motor Type
2 Cycle -
Engine Starter
Recoil -
Transmission Type
Gear
-
Chassis: Cut Height
1" to 3.5" by 1/2" -
Chassis: Weight
69 lbs. -
Chassis: Fuel Capacity
1.5 qts. -
Chassis: Wheel Size
(8" x 2.06" rear) 7" x 2.06" front -
Chassis: Deck Type
Steel -
Chassis: Discharge
Recycler -
Chassis: Drive System
Selfpropel (1 speed) -
Chassis: Engine Type
4.5 V -
Chassis: Cut Width
21" -
Chassis: Compliance System
Zone -
Drive System: Gearbox Lubricant
3 oz. (92gm) #2 Lithium grease -
Chassis: Height of Cut Range
1-3.5"; 1/2" increments -
Drive System: Ground Speed
2.5 mph -
Engine: Engine Oil Type
Lawn-Boy Gen 2 / NMMA-TCW3 -
Engine: Engine Speed
2850±300 RPM -
Engine: Ignition Coil Air Gap
.010" / .25mm -
Engine: Mix Ratio
32:1 (4.0 oz./gal.) -
Engine: Spark Plug
Champion RJ12C -
Engine: Spark Plug Gap
.035"/ .9mm


















