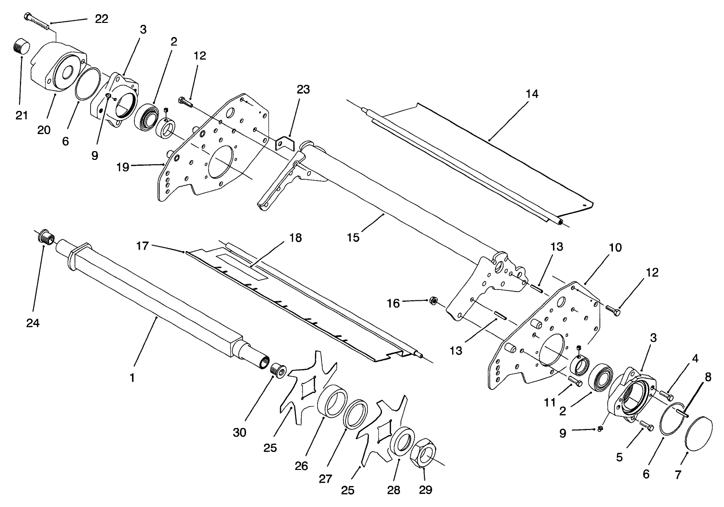
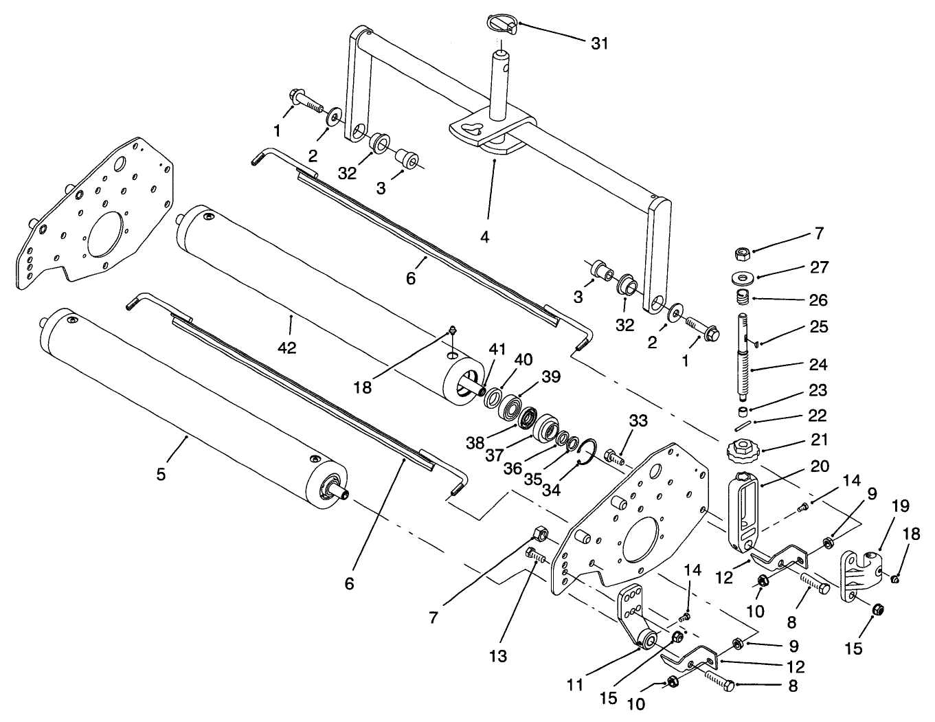
Dethatching Cutting Unit, Reelmaster 6500-D
Product Information
- Model #: 03870
- Serial #: 60001 - 60267
- Product Type: Attachments
Loading...
Assembly Drawings
Search for a part within assembly drawings:
-
Operator's Manual
-
Parts Catalog
-
EU Declaration of Conformity
-
Service Bulletin
-
Model #
03870 -
Serial #
60001 - 60267 -
Product Name
Dethatching Cutting Unit, Reelmaster 6500-D -
Product Brand
Toro -
Product Type
Attachments -
Product Series
RM Cutting Units

