Groundsmaster 4000-D
Product Information
- Model #: 30410
- Serial #: 220000001 - 220000200
- Product Type: Riding Products
Loading...
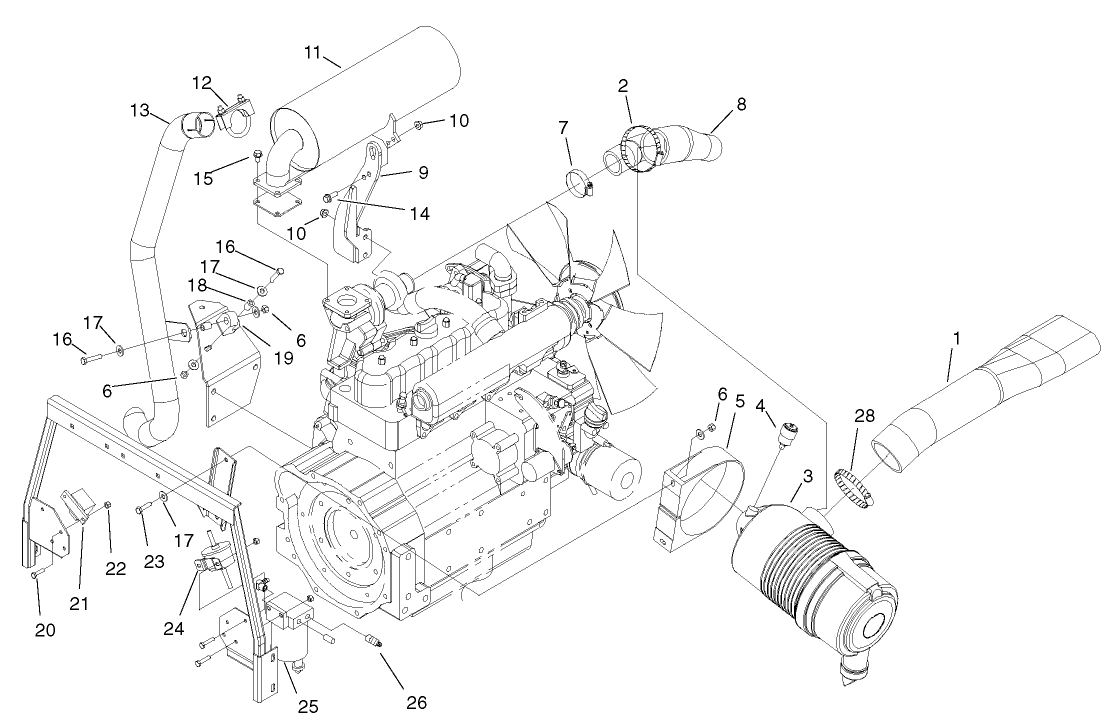
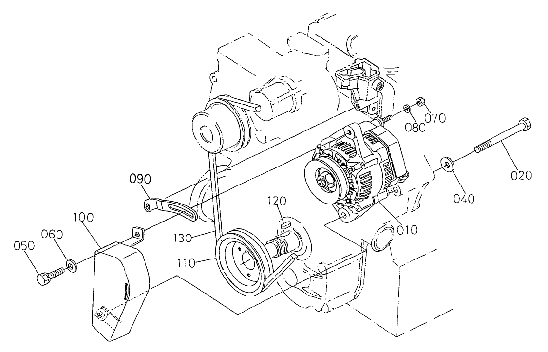
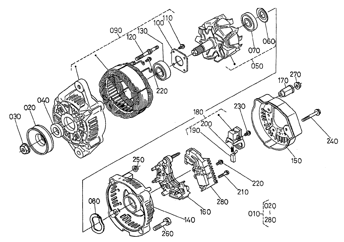
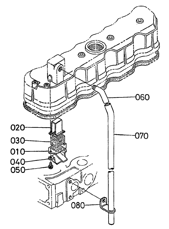
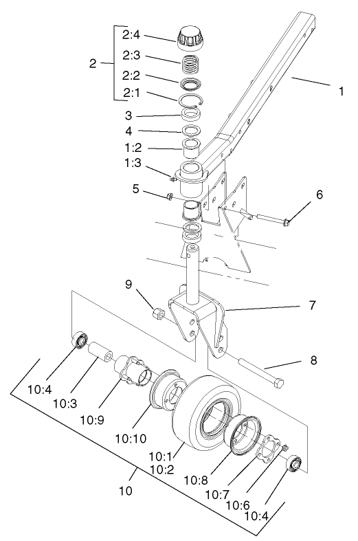
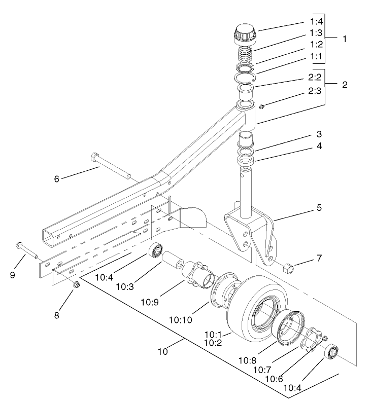
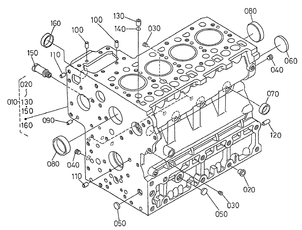
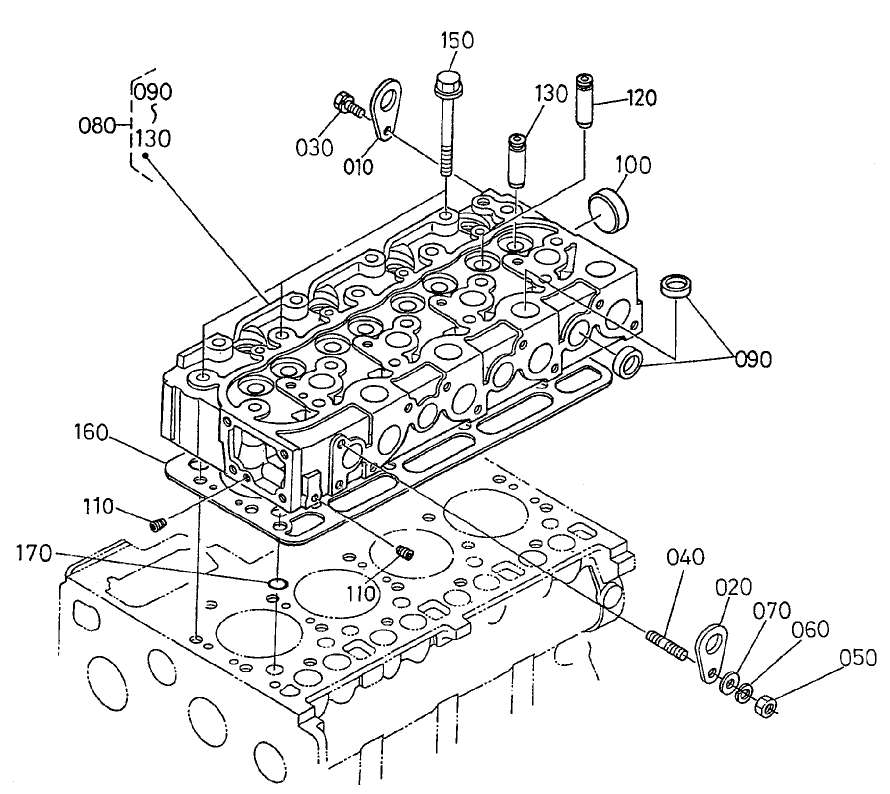
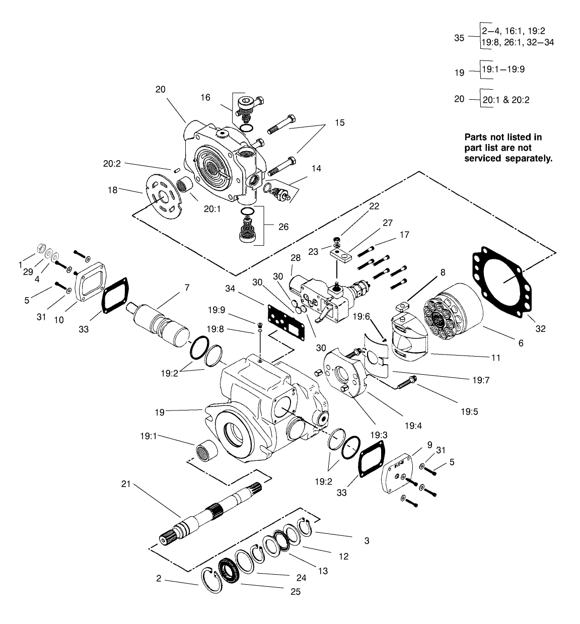
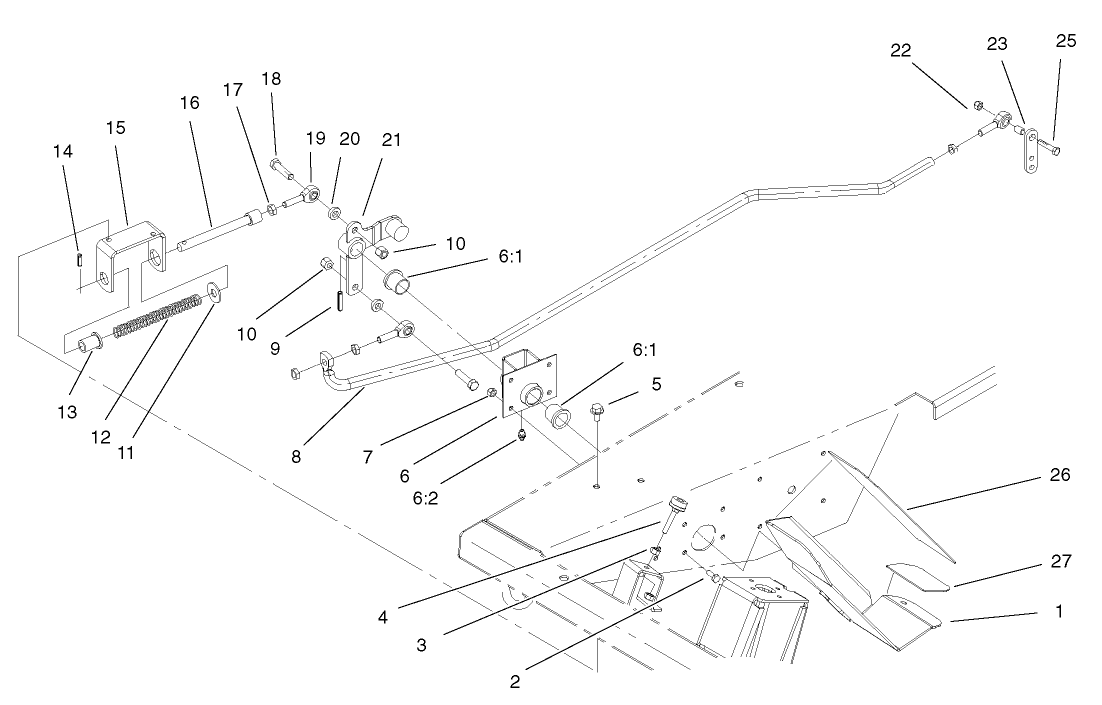
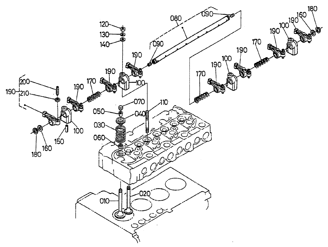
Assembly Drawings
Search for a part within assembly drawings:
-
Service Manual
-
Operator's Manual
-
Parts Catalog
-
EU Declaration of Conformity
-
Service Bulletin
Deluxe Seat Suspension, Groundsmaster 3000/4000 (Part # 30396)
Standard Seat Kit, Groundsmaster 300 (Part # 30398)
Right-Hand Replacement Mower, Groundsmaster 4000-D (Part # 30415)
Left-Hand Replacement Mower, Groundsmaster 4000-D (Part # 30416)
Front Replacement Mower, Groundsmaster 4000-D (Part # 30417)
Recycler Conversion Kit (Part # 30420)
Speed Control Kit, Groundsmaster 4000-D and 4100-D (Part # 30421)
Debris Blower, Groundsmaster 4000-D (Part # 30425)
Rotary Broom, Groundsmaster 4000-D and 4100-D (Part # 30426)
Air Conditioner Mounting Kit, Groundsmaster 4000-D (Part # 30427)
Road Light Kit, Groundsmaster 4000-D and 4100-D (Part # 30428)
Arm Rest Kit (Part # 30707)
Built for comfort.
Debris Blower Outlet Kit, Groundsmaster 3000/4000 Series (Part # 95-5909)
-
Model #
30410 -
Serial #
220000001 - 220000200 -
Product Name
Groundsmaster 4000-D -
Product Brand
Toro -
Product Type
Riding Products -
Product Series
GM 400 Series







































































































