Groundsmaster 4000-D
Product Information
- Model #: 30410
- Serial #: 250000501 - 250999999
- Product Type: Riding Products
Loading...
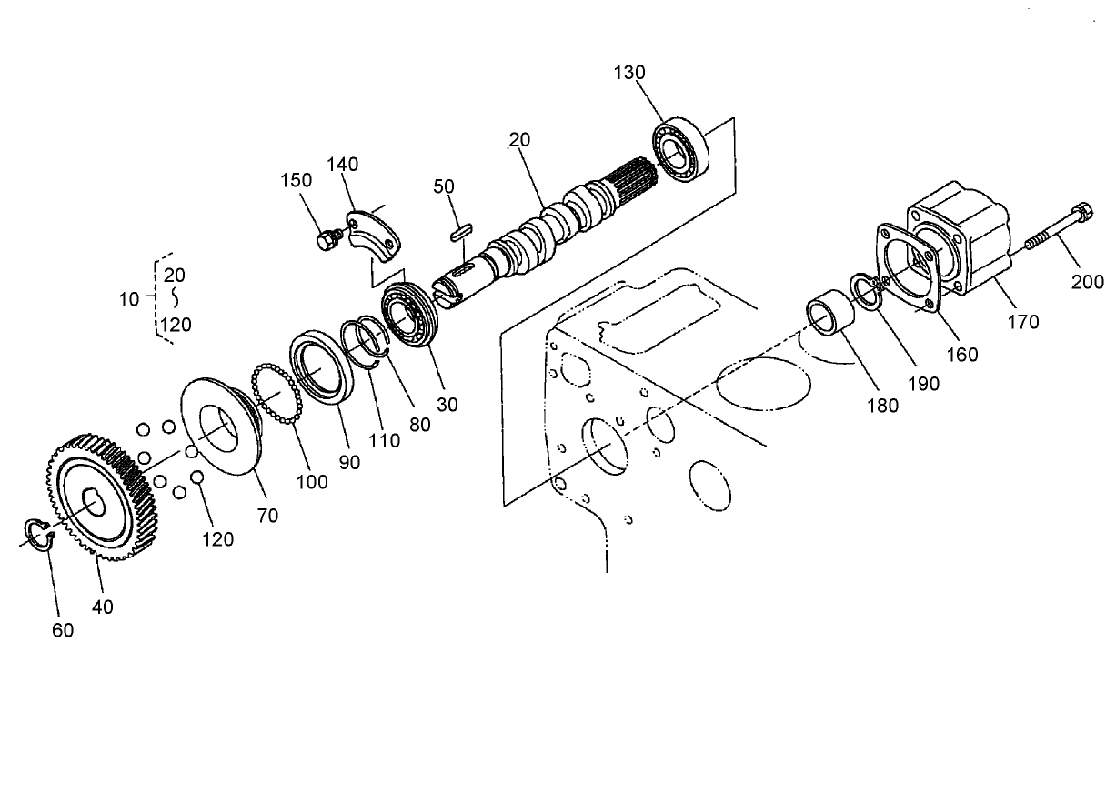
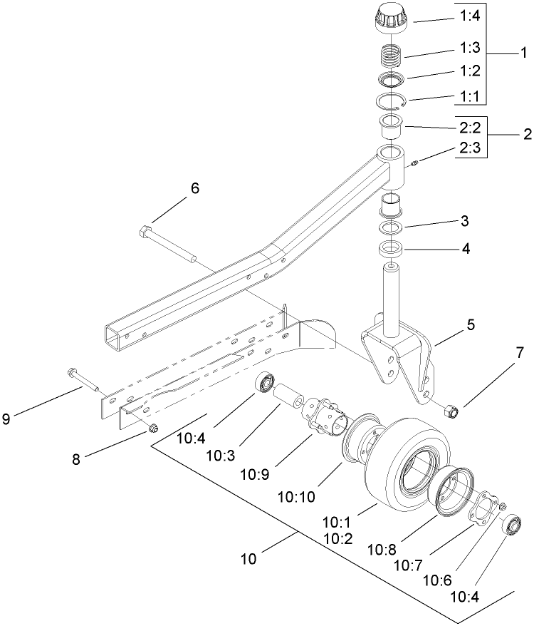
Assembly Drawings
Search for a part within assembly drawings:
-
Service Manual
-
Operator's Manual
-
Parts Catalog
-
EU Declaration of Conformity
-
Service Bulletin
TEST BOX - SWITCH (Part # 105-2811)
FRONT PLATE SERVICE KIT (Part # 107-4328)
7 Blade Service Pack- 21.75 Inch Atomic® Mulching Blade (Part # 108-1450)
Toro 21.75 Inch OEM Atomic® mulching 7-blade service pack (Part number 107-0214-03). The Toro Atomic® mulching blade is commonly referenced as a "Gator Style" or Gator Blade". The Atomic® Mulching Blade Provides the best quality of cut while mulching. This Toro blade has multiple applications. Be sure to verify model and serial number to ensure correct part.
RADIATOR-UPGRADE (Part # 108-1482)
Deluxe Seat Suspension, Groundsmaster 3000/4000 (Part # 30396)
Standard Seat Kit, Groundsmaster 300 (Part # 30398)
Right-Hand Replacement Mower, Groundsmaster 4000-D (Part # 30415)
Left-Hand Replacement Mower, Groundsmaster 4000-D (Part # 30416)
Front Replacement Mower, Groundsmaster 4000-D (Part # 30417)
Recycler Conversion Kit (Part # 30420)
Speed Control Kit, Groundsmaster 4000-D and 4100-D (Part # 30421)
Leaf Mulching Kit (Part # 30422)
Debris Blower, Groundsmaster 4000-D (Part # 30425)
Rotary Broom, Groundsmaster 4000-D and 4100-D (Part # 30426)
Air Conditioner Mounting Kit, Groundsmaster 4000-D (Part # 30427)
Road Light Kit, Groundsmaster 4000-D and 4100-D (Part # 30428)
Flow Divider Kit, Groundsmaster 4000-D and 4100-D (Part # 30429)
Air Ride Seat Suspension Kit, Groundsmaster 4000-D and 4100-D (Part # 30621)
Premium Seat Kit, Groundsmaster 4000-D and 4100-D (Part # 30622)
Arm Rest Kit (Part # 30707)
Built for comfort.
-
Model #
30410 -
Serial #
250000501 - 250999999 -
Product Name
Groundsmaster 4000-D -
Product Brand
Toro -
Product Type
Riding Products -
Product Series
GM 400 Series









































































































