Groundsmaster 4700-D
Product Information
- Model #: 30868
- Serial #: 220000001 - 220999999
- Product Type: Riding Products
Loading...
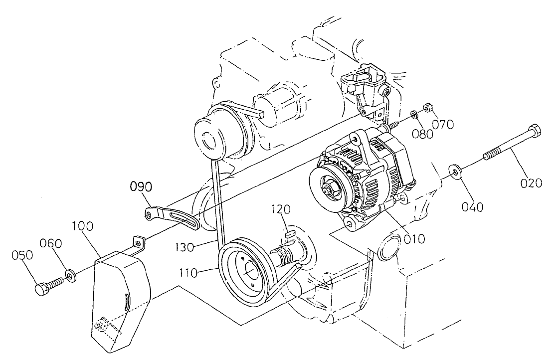
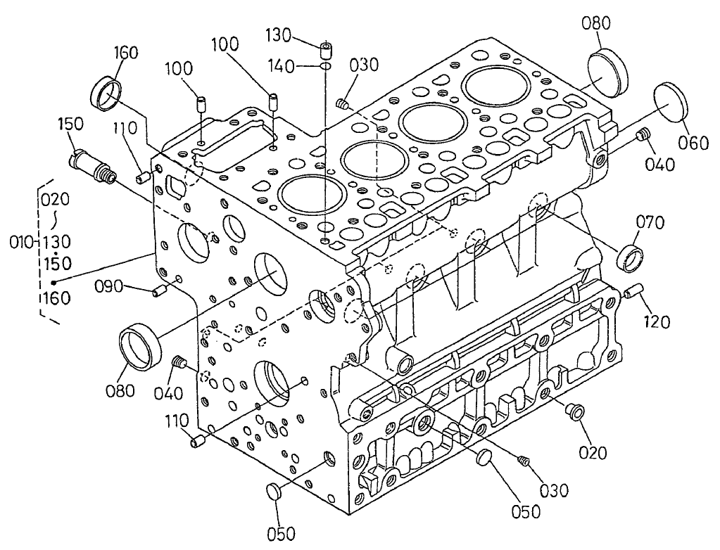
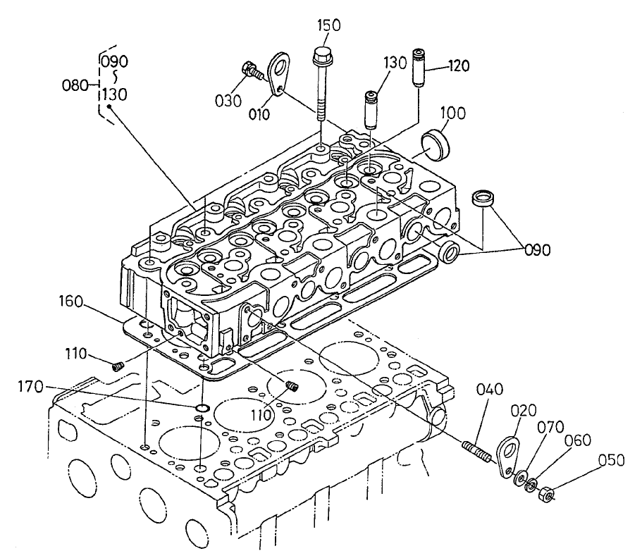
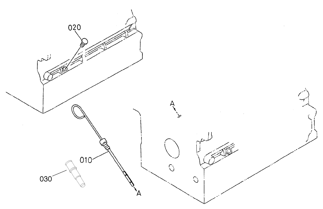
Assembly Drawings
Search for a part within assembly drawings:
-
Service Manual
-
Operator's Manual
-
Parts Catalog
-
Service Bulletin
27" High Lift Blade (Part # 105-4089)
Seat Suspension (standard), Groundsmaster 3000 (Part # 30395)
Standard Seat Kit, Groundsmaster 300 (Part # 30398)
Arm Rest Kit (Part # 30707)
Built for comfort.
27in Rotary Cutting Unit, Groundsmaster 3500-D/4500-D/4700-D (Part # 30827)
Mulching Kit, 27" Rotary Cutting Unit for Groundsmaster 3500-D/4000-D (Part # 30828)
-
Model #
30868 -
Serial #
220000001 - 220999999 -
Product Name
Groundsmaster 4700-D -
Product Brand
Toro -
Product Type
Riding Products -
Product Series
GM 400 Series




































































































