Stump Grinder Attachment
Product Information
- Model #: 22429
- Serial #: 220000201 - 220999999
- Product Type: Compact Utility Loaders, Attachments
Loading...
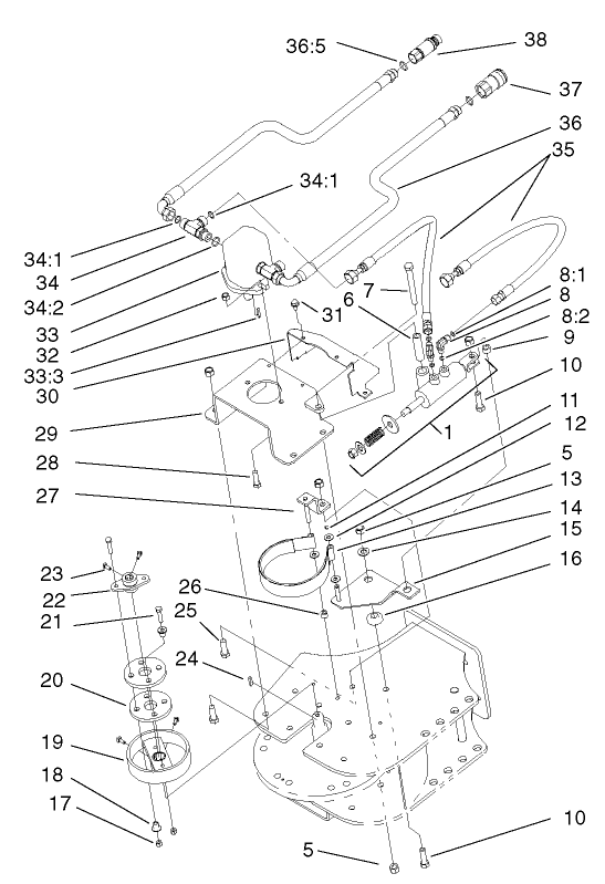
Assembly Drawings
Search for a part within assembly drawings:
-
Operator's Manual
-
Parts Catalog
Seal Kit (Part # 100-6120)
-
Model #
22429 -
Serial #
220000201 - 220999999 -
Product Name
Stump Grinder Attachment -
Product Brand
Toro -
Product Type
Compact Utility Loaders, Attachments -
Product Series
Attachments & Kits, SWS & CUE



