Mid-Size ProLine T-Bar Gear, 13 HP with 32in Side Discharge Mower
Product Information
- Model #: 30316
- Serial #: 260000001 - 260999999
- Product Type: Walk Behind Mowers
Loading...
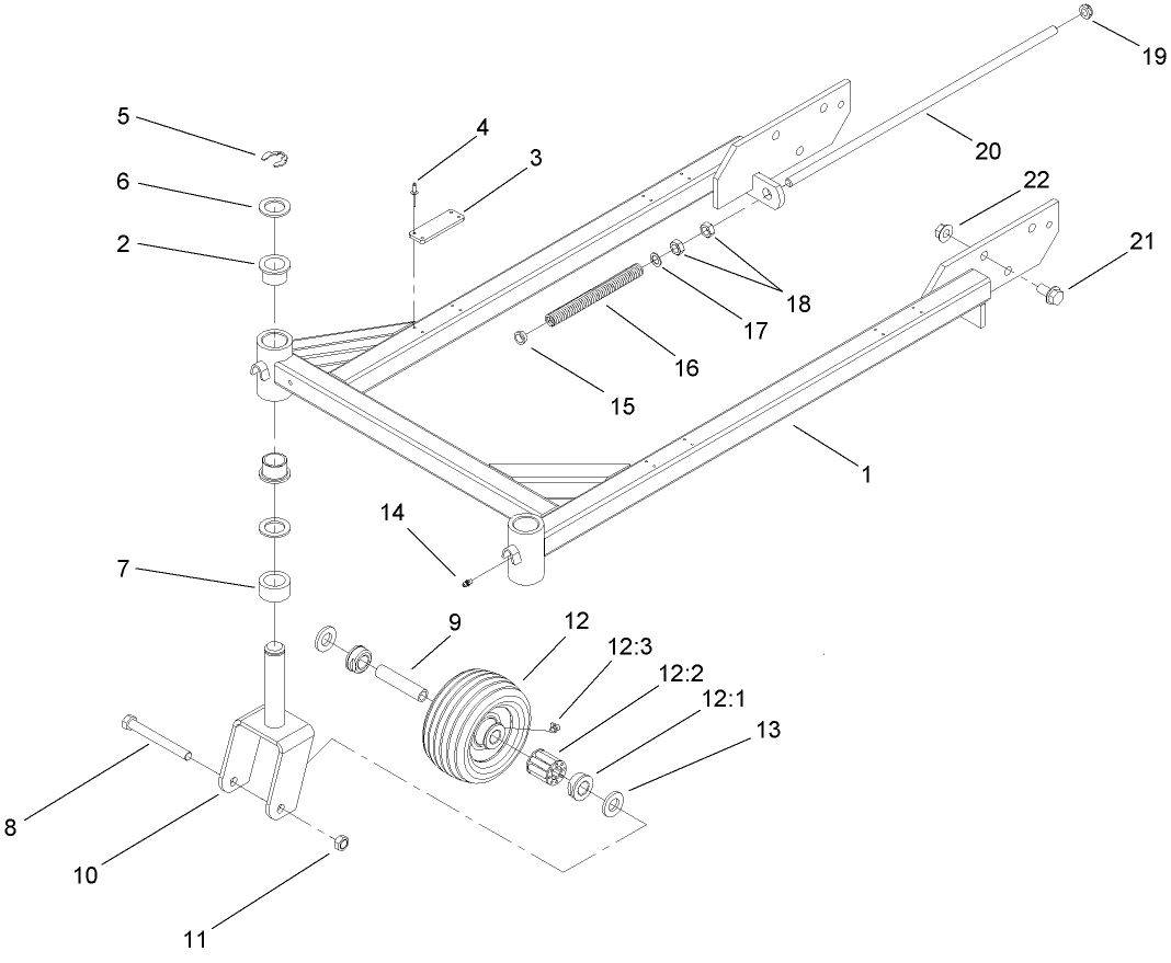
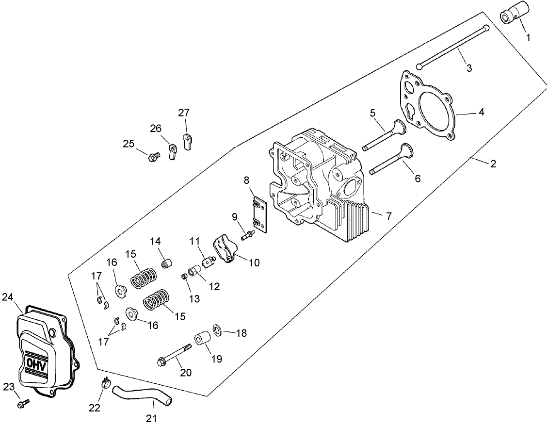
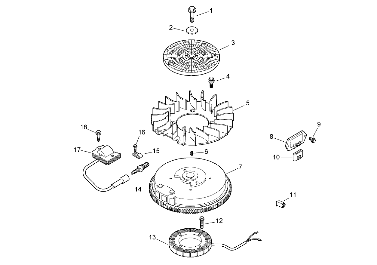
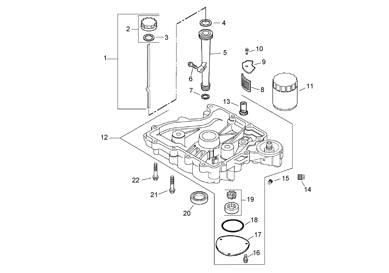
Assembly Drawings
Search for a part within assembly drawings:
-
Service Manual
-
Operator's Manual
-
Parts Catalog
-
Model #
30316 -
Serial #
260000001 - 260999999 -
Product Name
Mid-Size ProLine T-Bar Gear, 13 HP with 32in Side Discharge Mower -
Product Brand
Toro -
Product Type
Walk Behind Mowers -
Product Series
Mid-Size ProLine Mower -
Chassis Type
Mid-size - Floating Deck -
Swath
32 inch -
Discharge
Side -
Engine/Motor Manufacturer
Kohler -
Engine/Motor Size
13 hp -
Engine/Motor Type
4 Cycle CARB2, EPA2 -
Engine Starter
Recoil -
Transmission Type
Gear -
Traction Type
2wd
-
Engine: Ignition Coil Air Gap
.008-.012" / .2-.3mm -
Engine: Spark Plug
Champion RC12YC -
Drive System: Gearbox Lubricant
Peerless Bentonite Grease -
Engine: Engine Speed
3200±100 RPM -
Engine: Spark Plug Gap
.040"/ 1.02mm -
Chassis: Height of Cut Range
1" - 4.25" (25-108mm) -
Engine: Engine Oil Type
64 oz (1.9L) w/filter; 56 oz (1.6L) w/o; Above 32 Dg F SAE 30/10W-40; Below 32 Dg F SAE 5W-30/10W-30 -
Chassis: Tire Pressure
15 psi rear / 15 psi front -
Drive System: Ground Speed
Fwd. 0.9 / 2.1 / 3.4 / 4.3 / 5.0 Rev. 2.5 mph




















