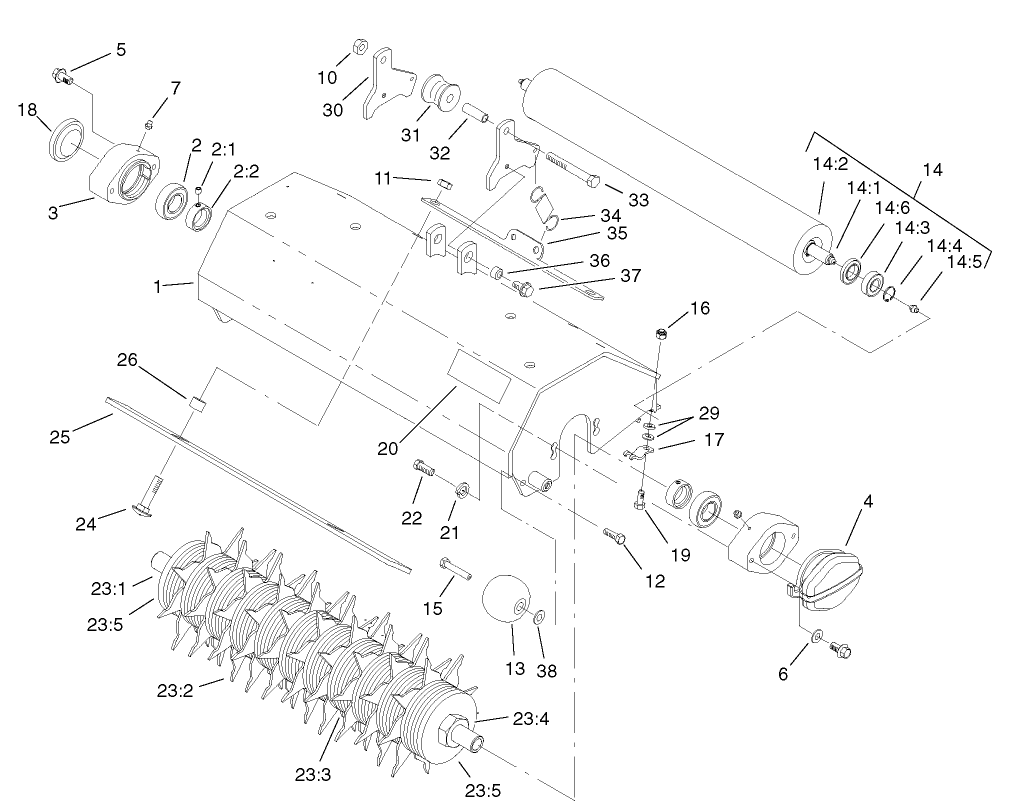
Spiker, Greensmaster 3000 Series
Product Information
- Model #: 04494
- Serial #: 270000001 - 270999999
- Product Type: Attachments
Loading...
Assembly Drawings
Search for a part within assembly drawings:
-
Operator's Manual
-
Parts Catalog
-
EU Declaration of Conformity
-
Service Bulletin
-
Model #
04494 -
Serial #
270000001 - 270999999 -
Product Name
Spiker, Greensmaster 3000 Series -
Product Brand
Toro -
Product Type
Attachments -
Product Series
GR 3000 Series Accessories

