32 in. (81 cm) Fixed Deck Gear Drive T-Bar
Product Information
- Model #: 30672
- Serial #: 310000001 - 310999999
- Product Type: Walk Behind Mowers
Loading...
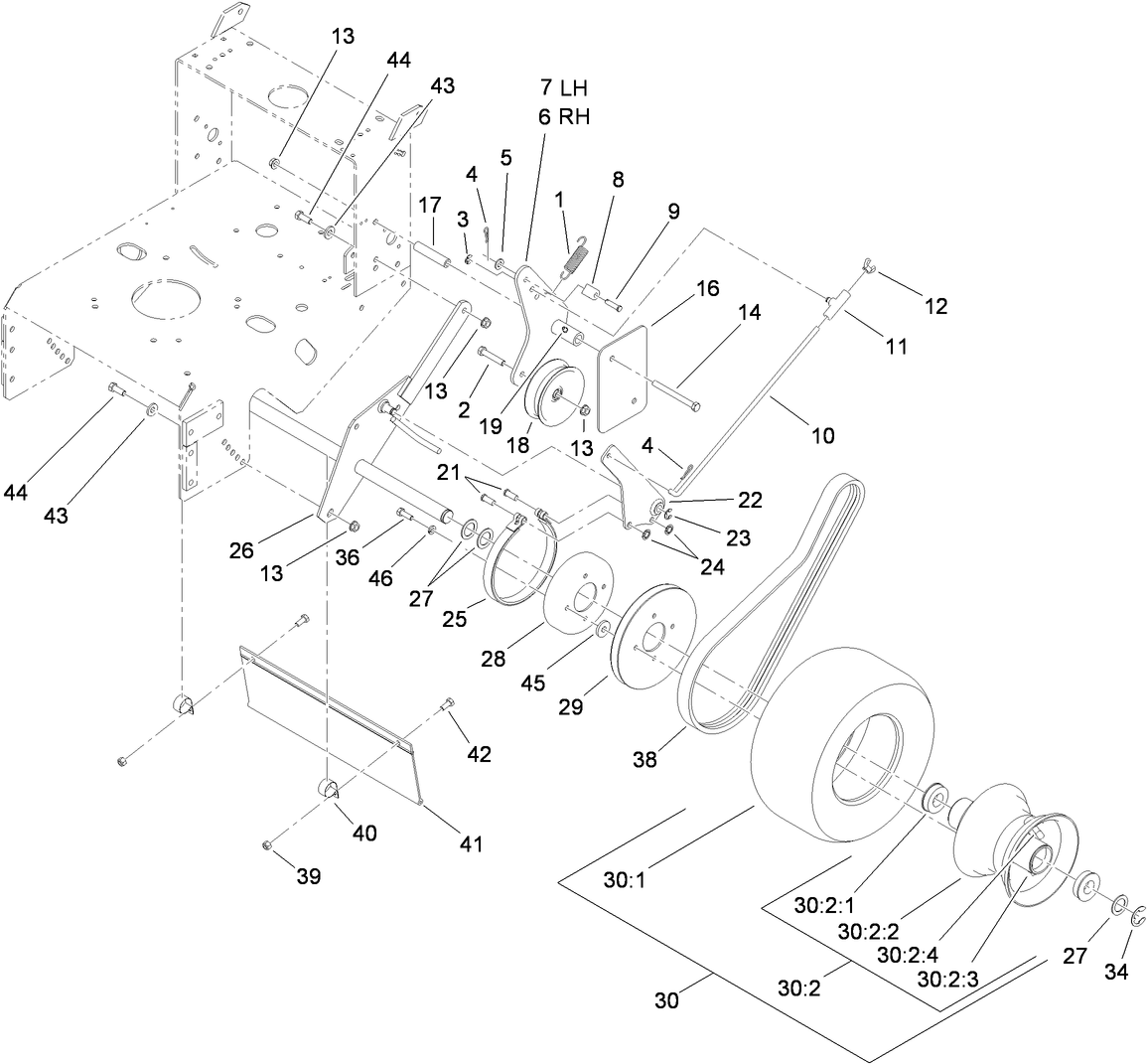
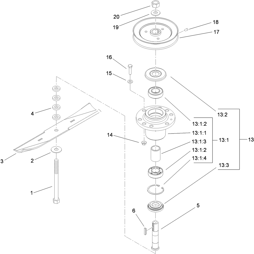
Assembly Drawings
Search for a part within assembly drawings:
-
Service Manual
-
Operator's Manual
-
Parts Catalog
-
Setup Instructions
16.25 Inch Notched Blade (Part # 103-2527)
Genuine OEM Part
16.25 Inch Atomic Blade (Part # 104-8595)
Toro OEM Atomic blade. The Toro Atomic blade is commonly referenced as a “Gator Style” or “Gator Blade”. Provides the best quality of cut while mulching. This Toro blade has multiple applications. Be sure to verify model and serial number to ensure the correct part.
Atomic 16.25 Inch Blade Pack (6) (Part # 110-0407)
Toro OEM Atomic blade pack. (6) 16.25 Inch Atomic blades. Atomic blade is commonly referenced as a “Gator Style” or “Gator Blade”. Provides the best quality of cut while mulching. This Toro blade has multiple applications. Be sure to verify model and serial number to ensure the correct part.
Extension Spring (Part # 110-1119)
Genuine OEM Part
32 Inch Recycler Kit (Part # 110-4915)
Genuine OEM Part
Soft Bag Kit for Mid-Size Mowers (Part # 30198)
Genuine OEM Part
Please contact your local dealer
-
Model #
30672 -
Serial #
310000001 - 310999999 -
Product Name
32 in. (81 cm) Fixed Deck Gear Drive T-Bar -
Product Brand
Toro -
Product Type
Walk Behind Mowers -
Product Series
Mid-Size ProLine Mower -
Chassis Type
Mid-size - Fixed Deck -
Swath
32 inch -
Discharge
Side -
Engine/Motor Manufacturer
Kawasaki -
Engine/Motor Size
16 hp -
Engine/Motor Type
4 Cycle -
Engine Starter
Recoil -
Transmission Type
Gear -
Traction Type
2wd
-
Engine: Engine Speed
3600±100 RPM -
Engine: Spark Plug
NGK BPR4ES -
Engine: Spark Plug Gap
.030"/ .76mm -
Drive System: Gearbox Lubricant
Peerless Bentonite Grease -
Chassis: Height of Cut Range
1" - 4.25" (25-108mm) -
Engine: Ignition Coil Air Gap
.008-.016" / .2-.4mm -
Drive System: Ground Speed
Fwd. 2.1 / 2.8 / 3.6 / 4.3 / 6.5 Rev. 3.2 mph -
Chassis: Tire Pressure
12-14 psi rear -
Engine: Engine Oil Type
67 oz. (2.1 Liter) SAE 10W-30 or 10W-40











