Snowthrower, Compact Tool Carrier
Product Information
- Model #: 22456
- Serial #: 315000001 - 315999999
- Product Type: Compact Utility Loaders, Attachments
Loading...
Assembly Drawings
Search for a part within assembly drawings:
-
Operator's Manual
-
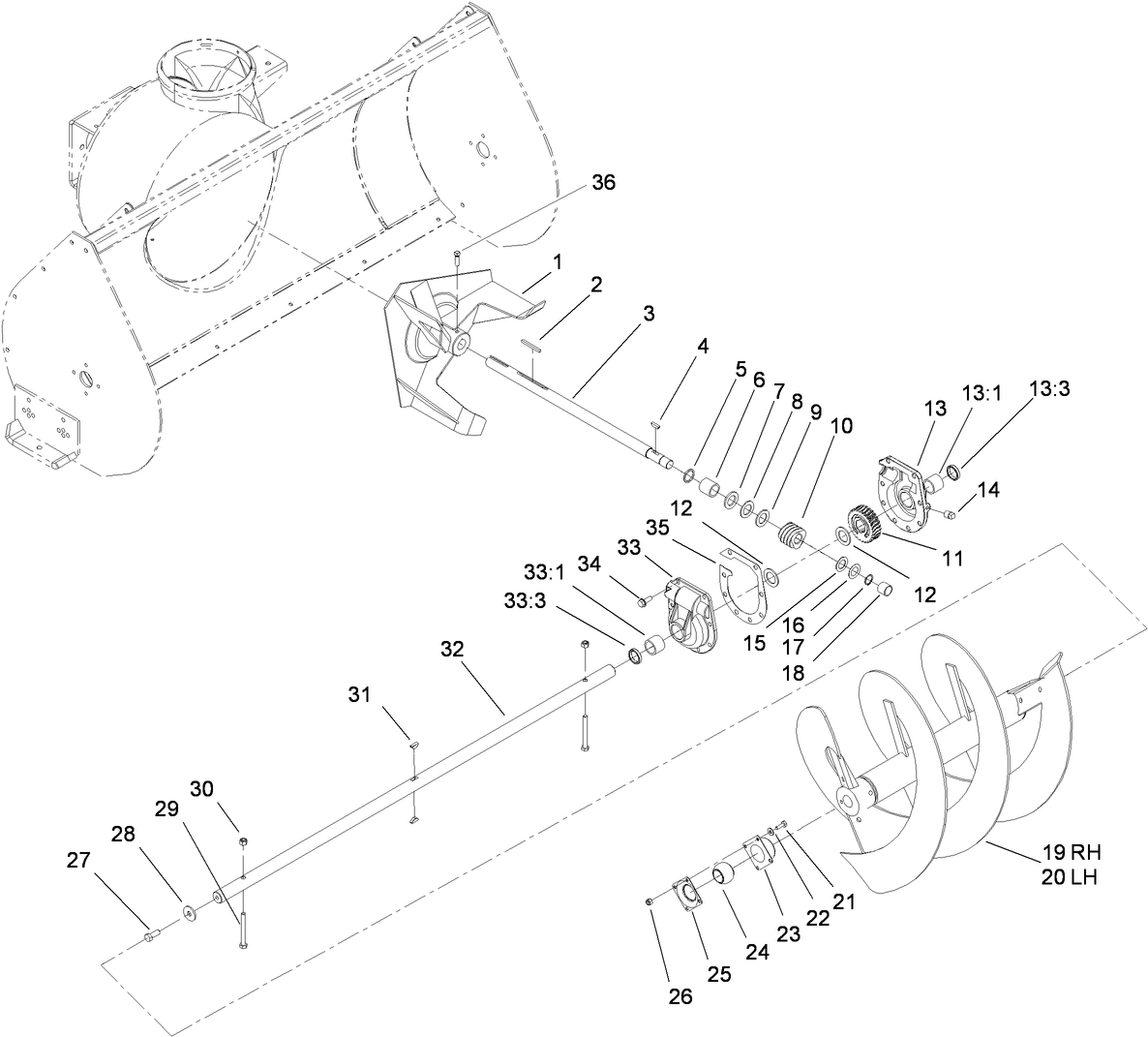
Parts Catalog
ORB Flush Face Adapter Kit, Dingo (Part # 100-4744)
-
Model #
22456 -
Serial #
315000001 - 315999999 -
Product Name
Snowthrower, Compact Tool Carrier -
Product Brand
Toro -
Product Type
Compact Utility Loaders, Attachments -
Product Series
Attachments & Kits, SWS & CUE



