Brush Cutter BRC-28
Product Information
- Model #: 33522
- Serial #: 412000000 - 999999999
- Product Type: Misc
Loading...
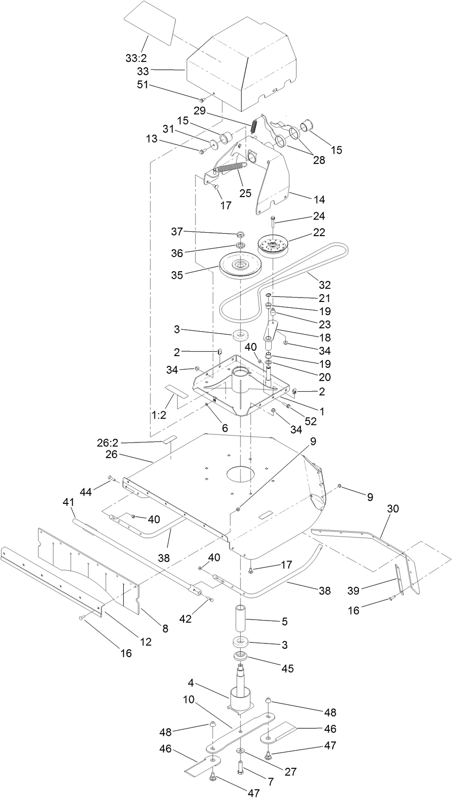
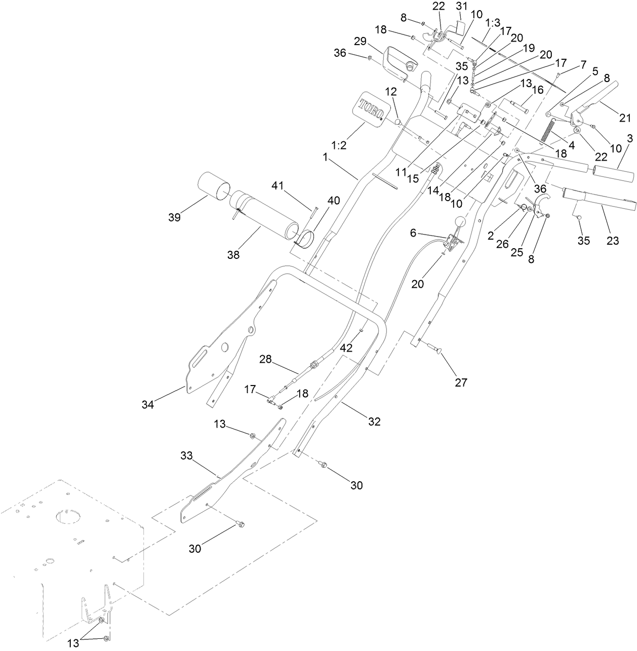
Assembly Drawings
Search for a part within assembly drawings:
-
Operator's Manual
-
Parts Catalog
-
Product Warranty
-
Schematic Drawing - Electrical
-
ACMA Declaration of Conformity
-
EU/UK Declaration of Conformity
-
Model #
33522 -
Serial #
412000000 - 999999999 -
Product Name
Brush Cutter BRC-28 -
Product Brand
Toro -
Product Type
Misc -
Chassis Type
Walk Behind -
Swath
28 inch -
Engine/Motor Manufacturer
Toro -
Engine/Motor Size
452cc -
Engine/Motor Type
4 Cycle -
Engine Starter
Electric -
Transmission Type
Hydrostatic -
Traction Type
2wd













