Brush Cutter BRC-28
Product Information
- Model #: 33522
- Serial #: 400000000 - 402263121
- Product Type: Misc
Loading...
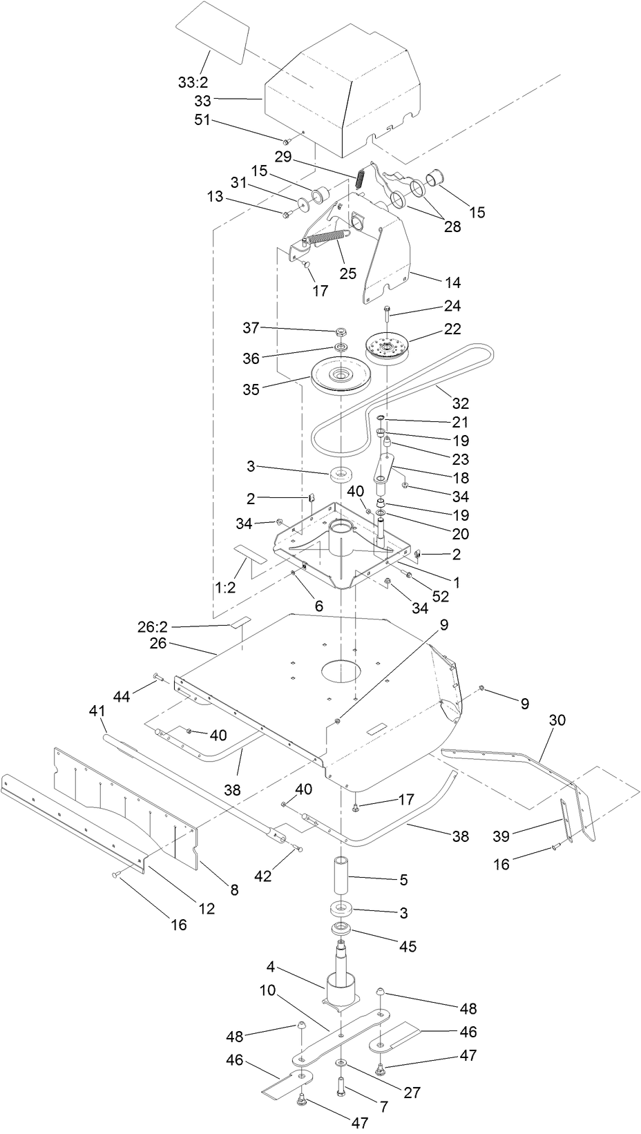
Assembly Drawings
Search for a part within assembly drawings:
-
Operator's Manual
-
Parts Catalog
-
Schematic Drawing - Electrical
-
ACMA Declaration of Conformity
-
EU/UK Declaration of Conformity
Spark Arrestor Kit (Part # 131-4160)
Toro OEM spark arrestor prevents carbon build ups from being ejected from the engine and igniting a fire. When it comes to reliability, Toro delivers replacement parts designed to the exact engineering specifications of our equipment. For peace of mind, insist on Toro genuine parts.
Toro Brush Blade (Part # 132-7036-03)
Toro OEM brush blade clears and trims weeds, small trees, and other foliage not accessible by a lawn mower or rotary mower. Will-fit parts might look similar or claim similar functionality but only genuine Toro parts ensure your mower performs as it's intended by providing the perfect fit and maximum performance.
Toro Brush Cutter Flail Blade Kit (Part # 136-4622)
Toro flail blade kits Flail mowers cut grass very short and fine and can handle rough uneven surfaces. To best protect your investment and maintain optimal performance of your equipment, count on Toro genuine OEM parts.
Toro Brush Cutter Flail Blade End Kit (Part # 136-4623)
Toro genuine flail blade end kit. To best protect your investment and maintain optimal performance of your equipment, count on Toro genuine OEM parts.
-
Model #
33522 -
Serial #
400000000 - 402263121 -
Product Name
Brush Cutter BRC-28 -
Product Brand
Toro -
Product Type
Misc -
Product Series
Turf Maintenance Equipment -
Chassis Type
Walk Behind -
Swath
28 inch -
Engine/Motor Manufacturer
Toro -
Engine/Motor Size
452cc -
Engine/Motor Type
4 Cycle -
Engine Starter
Electric -
Transmission Type
Hydrostatic -
Traction Type
2wd
-
Engine: Spark Plug
NGK BP6ES -
Engine: Spark Plug Gap
.030"/ .76mm -
Chassis: Tire Pressure
12-14 psi rear -
Engine: Engine Oil Type
48 oz. (1.4 Liter) SAE 10w-30 /API SF or higher -
Engine: Engine Speed
3300±100 RPM -
Drive System: Gearbox Lubricant
HYPR-OIL 500 / 15w-50 Synthetic Motor Oil













