60V MAX* 21 in. (53 cm) Power Clear® e21 Single-Stage Snow Blower - 7.5Ah Battery Included
Product Information
- Model #: 39901
- Serial #: 418000000 - 999999999
- Product Type: Snowthrowers
Loading...
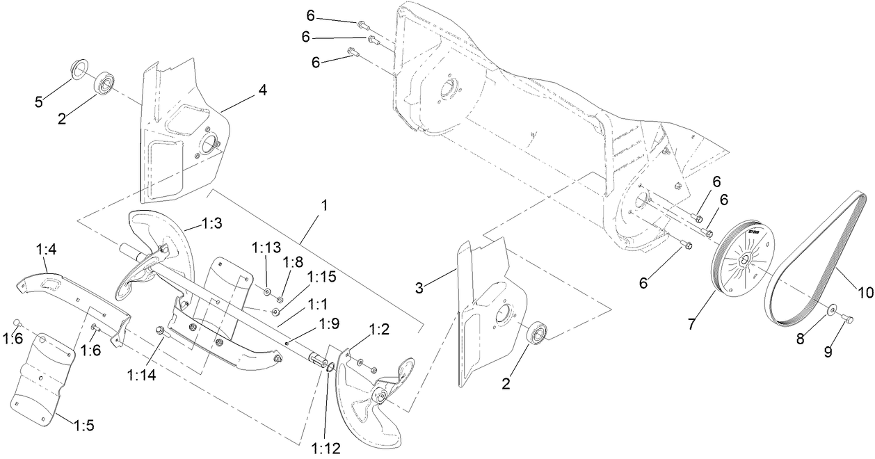
Assembly Drawings
Search for a part within assembly drawings:
-
Operator's Manual
-
Parts Catalog
-
Product Warranty
60V MAX* Flex-Force 2.0Ah Lithium-Ion Battery (Part # 88620)
Take charge of the yard with the Toro Flex-Force Power System 60-Volt 2 Amp battery. Get maximum power, performance and runtime. The Flex-Force Power System automatically optimizes the interchangeable battery's performance for each product/application, so you always get the most out of your experience.
60V MAX* Flex-Force 4.0Ah Lithium-Ion Battery (Part # 88640)
Take charge of the yard with the Toro Flex-Force Power System 60V L216 Lithium-Ion battery. Get maximum power, performance and runtime from the intelligent battery software. The Flex-Force Power System automatically optimizes the interchangeable battery's performance for each product/application, so you always get the most out of your experience. When it comes to reliability, Toro delivers replacement parts designed to the exact engineering specifications of our equipment. For peace of mind, insist on Toro genuine parts.
60V MAX* Flex-Force 5.0Ah Lithium-Ion Battery (Part # 88650)
Genuine OEM Parts
60V MAX* Flex-Force 6.0Ah Lithium-Ion Battery (Part # 88660)
The Toro 60V* Flex-Force Power System® is the most powerful battery in its class. Period. It's the one battery you need to finish everything without sacrificing anything. It offers the ultimate innovation with our "3P" configured stack for 3 times the power, higher max performance, and the ability to push your tools harder, for longer. It’s flexible enough to work across a full line of unbeatable Toro tools from handheld trimmers and edgers all the way up to the biggest and baddest in our lineup, including America’s #1 mower and snow blower brand. From tool to tool to tool, done and done and done. It’s 60 volts of all the things you want from a battery: Easier. Faster. Cleaner. Greener. Quieter. No cords. No mess. No hassles. Virtually no maintenance. That's power without compromise.
L324 battery is compatible with all Toro 60V Flex-Force Power System tools. Battery charger is compatible with all Toro Flex-Force tools (88602)
*Battery manufacturer rating = 60V maximum & 54V typical usage. Actual voltage varies with load.
L324 battery is compatible with all Toro 60V Flex-Force Power System tools. Battery charger is compatible with all Toro Flex-Force tools (88602)
*Battery manufacturer rating = 60V maximum & 54V typical usage. Actual voltage varies with load.
60V MAX* Flex-Force 7.5Ah Lithium-Ion Battery (Part # 88675)
Take charge of the yard with the Toro Flex-Force Power System 60-Volts L405 Lithium-Ion battery. Get maximum power, performance and runtime from the intelligent battery software. The Flex-Force Power System automatically optimizes the interchangeable battery's performance for each product/application, so you always get the most out of your experience.
-
Model #
39901 -
Serial #
418000000 - 999999999 -
Product Name
60V MAX* 21 in. (53 cm) Power Clear® e21 Single-Stage Snow Blower - 7.5Ah Battery Included -
Product Brand
Toro -
Product Type
Snowthrowers -
Chassis Type
Single Stage -
Swath
21 inch -
Discharge
Single Stage -
Engine/Motor Type
60 VDC -
Transmission Type
NA





