2"-5" HOC KIT - SERVICE
Product Information
- Model #: 84-5010
- Serial #: None - None
- Product Type: Attachments
Loading...
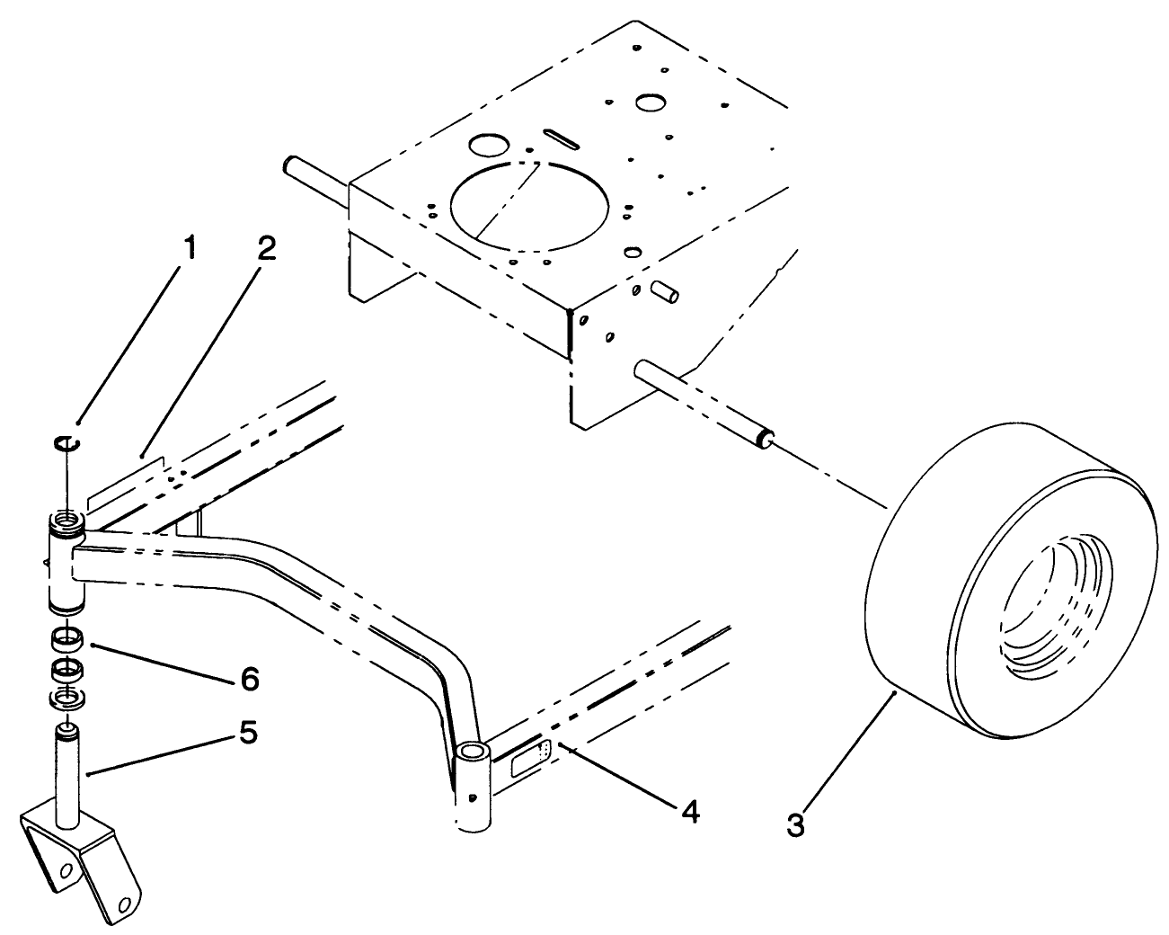
Assembly Drawings
Search for a part within assembly drawings:
-
Parts Catalog
-
Installation Instructions
-
Service Bulletin
-
Model #
84-5010 -
Serial #
None - None -
Product Name
2"-5" HOC KIT - SERVICE -
Product Brand
Toro -
Product Type
Attachments -
Product Series
Attachments & Kits, Mid-Size Mower

