KIT-CE COMPLIANCE 30544
Product Information
- Model #: 93-9465
- Serial #: None - None
- Product Type: Attachments
Loading...
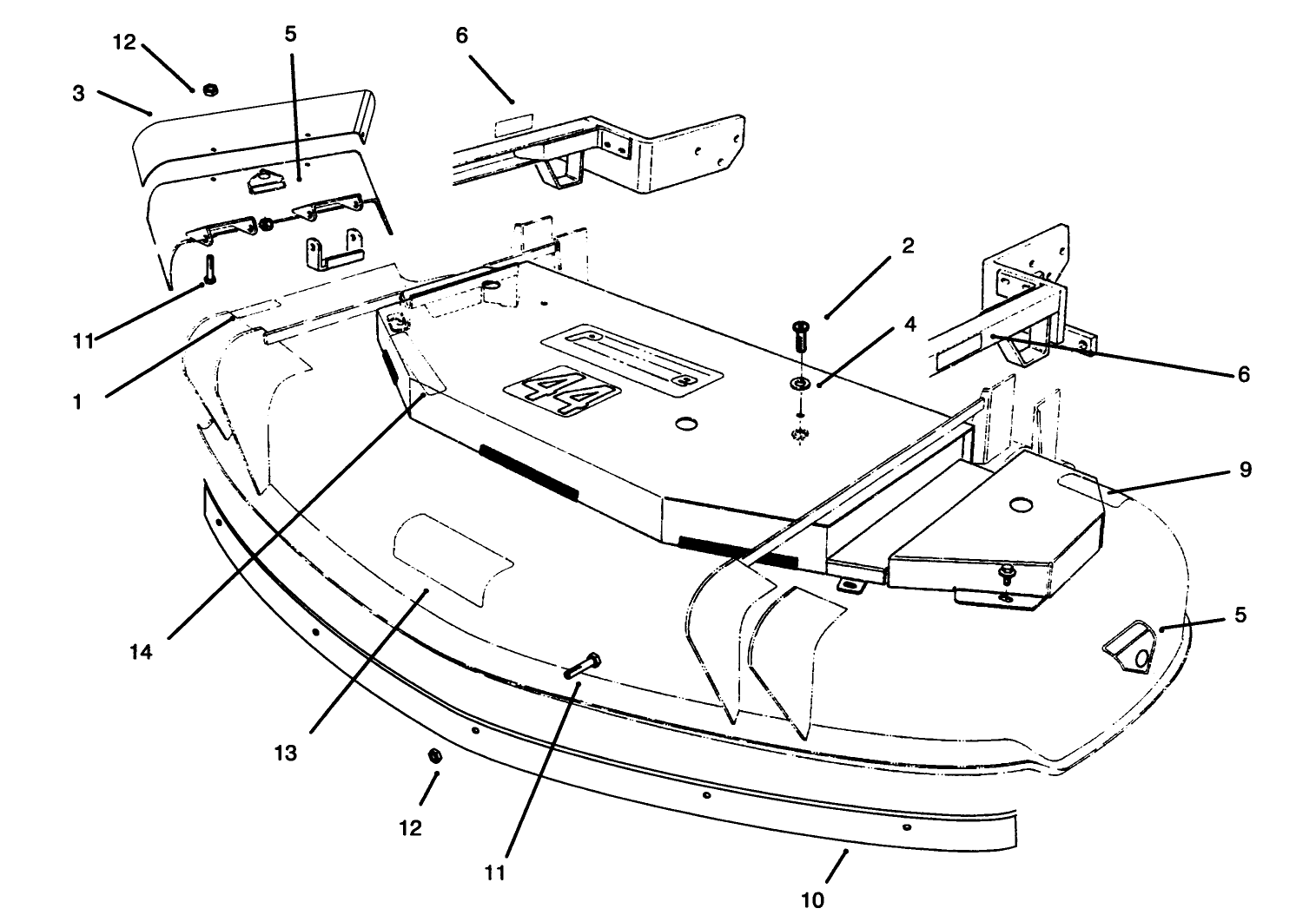
Assembly Drawings
Search for a part within assembly drawings:
-
Parts Catalog
-
Installation Instructions
-
Model #
93-9465 -
Serial #
None - None -
Product Name
KIT-CE COMPLIANCE 30544 -
Product Brand
Toro -
Product Type
Attachments -
Product Series
Attachments & Kits, Mid-Size Mower


