Mid-Size ProLine Gear Traction Unit, 12.5 hp
Product Information
- Model #: 30165
- Serial #: 230000001 - 230999999
- Product Type: Walk Behind Mowers
Loading...
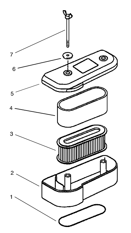
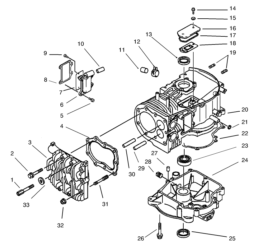
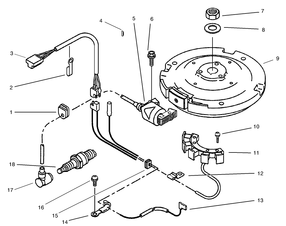
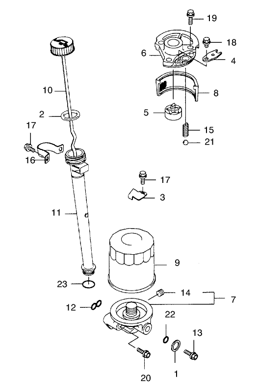
Assembly Drawings
Search for a part within assembly drawings:
-
Service Manual
-
Operator's Manual
-
Parts Catalog
-
EU Declaration of Conformity
Discontinued (Part # 30128)
Genuine OEM Part
44/52" Steel Bagger (3.5 bu.) (Part # 30131)
36" Side Discharge Mower with Weight Kit (Part # 30135)
36" Steel Bagger (3.5 bu.) (Part # 30141)
44" / 112cm Side Discharge Mower SFS Deck (Part # 30149)
52" SFS Side Discharge Mower (Part # 30151)
-
Model #
30165 -
Serial #
230000001 - 230999999 -
Product Name
Mid-Size ProLine Gear Traction Unit, 12.5 hp -
Product Brand
Toro -
Product Type
Walk Behind Mowers -
Product Series
Mid-Size ProLine Mower -
Swath
Deck Optional -
Discharge
Deck Optional -
Engine/Motor Manufacturer
Kawasaki -
Engine/Motor Size
12.5 hp -
Engine/Motor Type
4 Cycle CARB2, EPA2 -
Engine Starter
Recoil -
Transmission Type
Gear
-
Engine: Spark Plug
Champion RCJ8 or NGK BMR4A -
Engine: Engine Speed
3600±100 RPM -
Engine: Ignition Coil Air Gap
.012" / .3mm -
Drive System: Gearbox Lubricant
Peerless Bentonite Grease -
Engine: Spark Plug Gap
.025"/ .65mm -
Chassis: Tire Pressure
15 psi rear / 25-30 psi front -
Drive System: Ground Speed
Fwd. 1.9 / 3.0 / 3.9 / 4.5 Rev. 2.2 mph -
Engine: Engine Oil Type
54 oz. (1.6 Liter) SAE 30

















