Mid-Size Proline Gear Traction Unit, 12.5 hp
Product Information
- Model #: 30165
- Serial #: 210000001 - 210999999
- Product Type: Walk Behind Mowers
Loading...
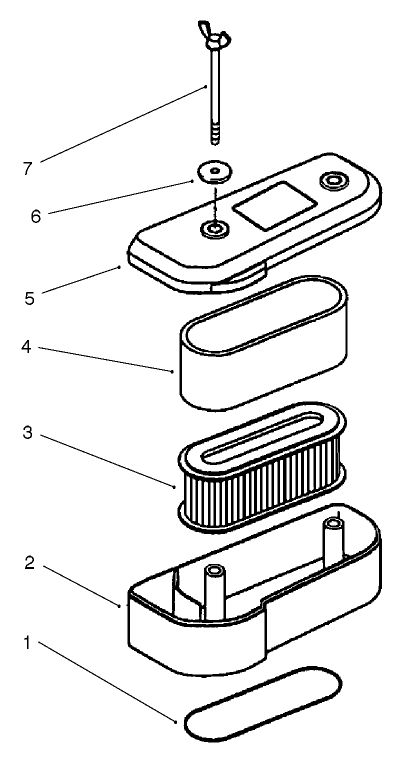
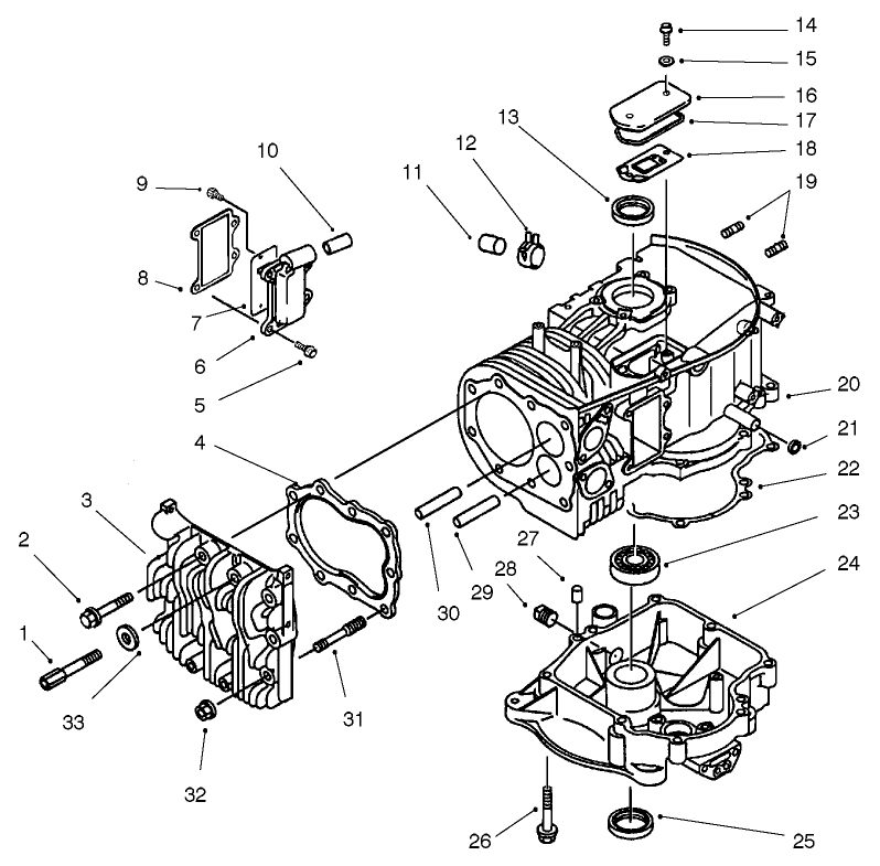
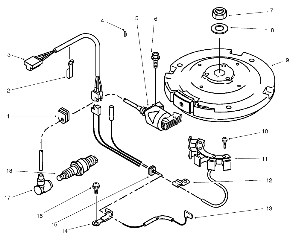
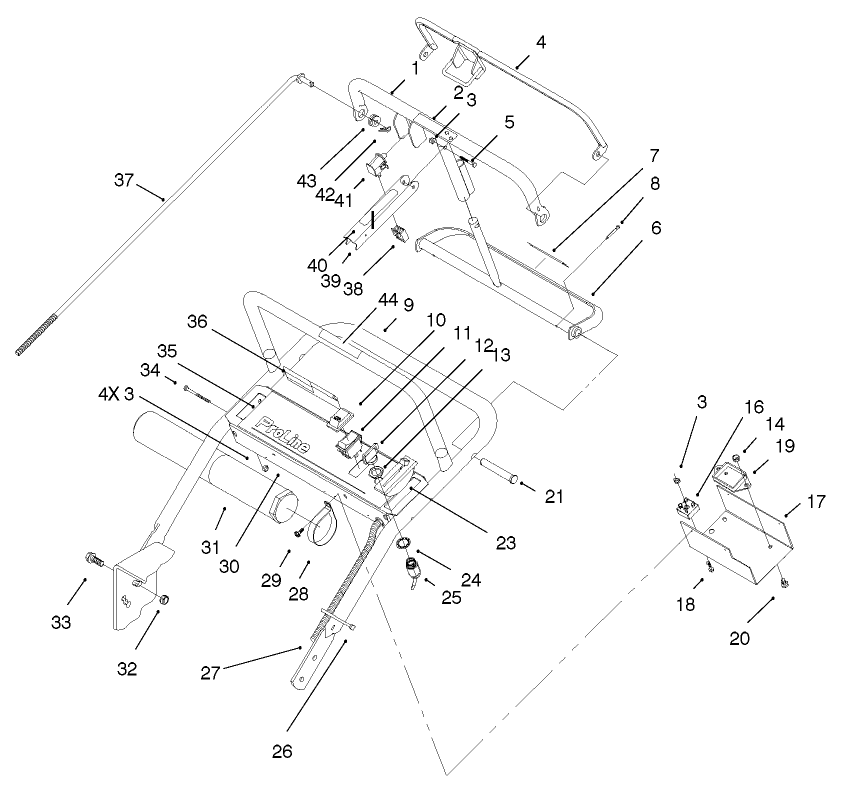
Assembly Drawings
Search for a part within assembly drawings:
-
Service Manual
-
Operator's Manual
-
Parts Catalog
15.5 Inch Atomic Blade (Part # 104-1300)
Toro OEM Atomic blade. The Toro Atomic blade is commonly referenced as a “Gator Style” or “Gator Blade”. Provides the best quality of cut while mulching. This Toro blade has multiple applications. Be sure to verify model and serial number to ensure the correct part.
18 Inch Atomic Blade (Part # 104-1301)
Toro OEM Atomic blade. The Toro Atomic blade is commonly referenced as a “Gator Style” or “Gator Blade”. Provides the best quality of cut while mulching. This Toro blade has multiple applications. Be sure to verify model and serial number to ensure the correct part.
44/52 inch Striping Kit (Part # 30121)
Genuine OEM Part
Deluxe Sulky (Part # 30123)
Discontinued (Part # 30128)
Genuine OEM Part
Bag Kit (Part # 30129)
Steel Basket Bag Kit (Part # 30130)
44/52" Steel Bagger (3.5 bu.) (Part # 30131)
36" Side Discharge Mower with Weight Kit (Part # 30135)
36" Side Discharge Mower (Part # 30138)
36" Steel Bagger (3.5 bu.) (Part # 30141)
112cm Side Discharge Mower (Part # 30147)
52" SFS Side Discharge Mower (Part # 30151)
52" Mower (Part # 30152)
15.5 Inch Hi-Flow Blade (Part # 55-4940-03)
Toro OEM Hi Flow blade. Hi-Flow are also known as basic blades, regular blades, or 2-in-1 blades, Hi-Flow mower blades are the go-to blades for mowers with a bagger. The blades are designed to cut the grass and Flow the clippings, propelling them up and out of the discharge chute. This Toro blade has multiple applications. Be sure to verify model and serial number to ensure the correct part.
-
Model #
30165 -
Serial #
210000001 - 210999999 -
Product Name
Mid-Size Proline Gear Traction Unit, 12.5 hp -
Product Brand
Toro -
Product Type
Walk Behind Mowers -
Product Series
Mid-Size ProLine Mower -
Swath
Deck Optional -
Discharge
Deck Optional -
Engine/Motor Manufacturer
Kawasaki -
Engine/Motor Size
12.5 hp -
Engine/Motor Type
4 Cycle CARB1, EPA1 -
Engine Starter
Recoil -
Transmission Type
Gear
-
Engine: Spark Plug
Champion RCJ8 or NGK BMR4A -
Engine: Engine Speed
3600±100 RPM -
Engine: Ignition Coil Air Gap
.012" / .3mm -
Drive System: Gearbox Lubricant
Peerless Bentonite Grease -
Engine: Spark Plug Gap
.025"/ .65mm -
Chassis: Height of Cut Range
1" - 4.5" (25-114mm) -
Chassis: Tire Pressure
12-14 psi rear / 25 psi front -
Drive System: Ground Speed
Fwd. 1.9 / 3.0 / 3.9 / 4.5 Rev. 2.2 mph -
Engine: Engine Oil Type
48 oz. (1.42 Liter) SAE 30



















