XLS 380 Lawn Tractor
Product Information
- Model #: 71254
- Serial #: 312000001 - 312999999
- Product Type: Riding Products
Loading...
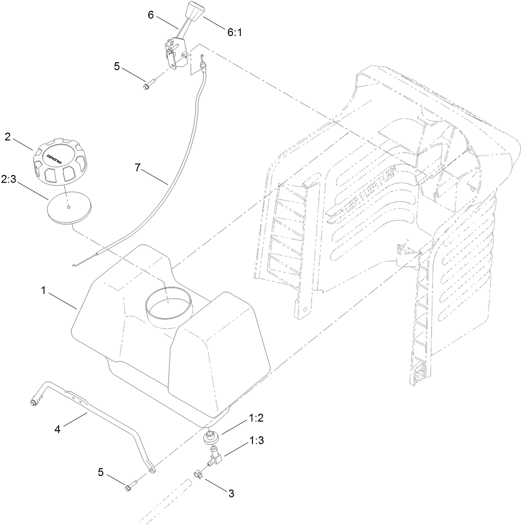
Assembly Drawings
Search for a part within assembly drawings:
-
Service Manual
-
Operator's Manual
-
Parts Catalog
-
EU Declaration of Conformity
-
Setup Instructions
Belt Guard Kit, XLS 380 Lawn Tractor (Part # 120-7820)
Bumper Kit, XLS Lawn Tractor (Part # 79114)
Twin Soft Bagger, XLS Lawn Tractor (Part # 79118)
38in Finishing Kit, Twin Soft Bagger for XLS Lawn Tractor (Part # 79119)
-
Model #
71254 -
Serial #
312000001 - 312999999 -
Product Name
XLS 380 Lawn Tractor -
Product Brand
Toro -
Product Type
Riding Products -
Product Series
Lawn Tractor, XL Series -
Swath
38 inch -
Discharge
Side Discharge -
Engine/Motor Manufacturer
TORO -
Engine Starter
Electric
-
Engine: Battery
12V 195CCA -
Engine: Spark Plug Gap
.030"/ .76mm -
Engine: Engine Speed
2800±100 RPM -
Engine: Spark Plug
Champion QC12YC -
Drive System: Ground Speed
Fwd. 0 - 5.5 Rev. 0 - 1.5 mph -
Chassis: Height of Cut Range
1.2" - 4" -
Chassis: Tire Pressure
14 psi rear / 14 psi front -
Engine: Engine Oil Type
filter change 40 oz. (1.2 L); no filter 48 oz. (1.4 L) SAE 30




















