GrandStand® 40 in. (102 cm) 15 hp 541cc
Product Information
- Model #: 74536
- Serial #: 314000001 - 314999999
- Product Type: Riding Products
Loading...
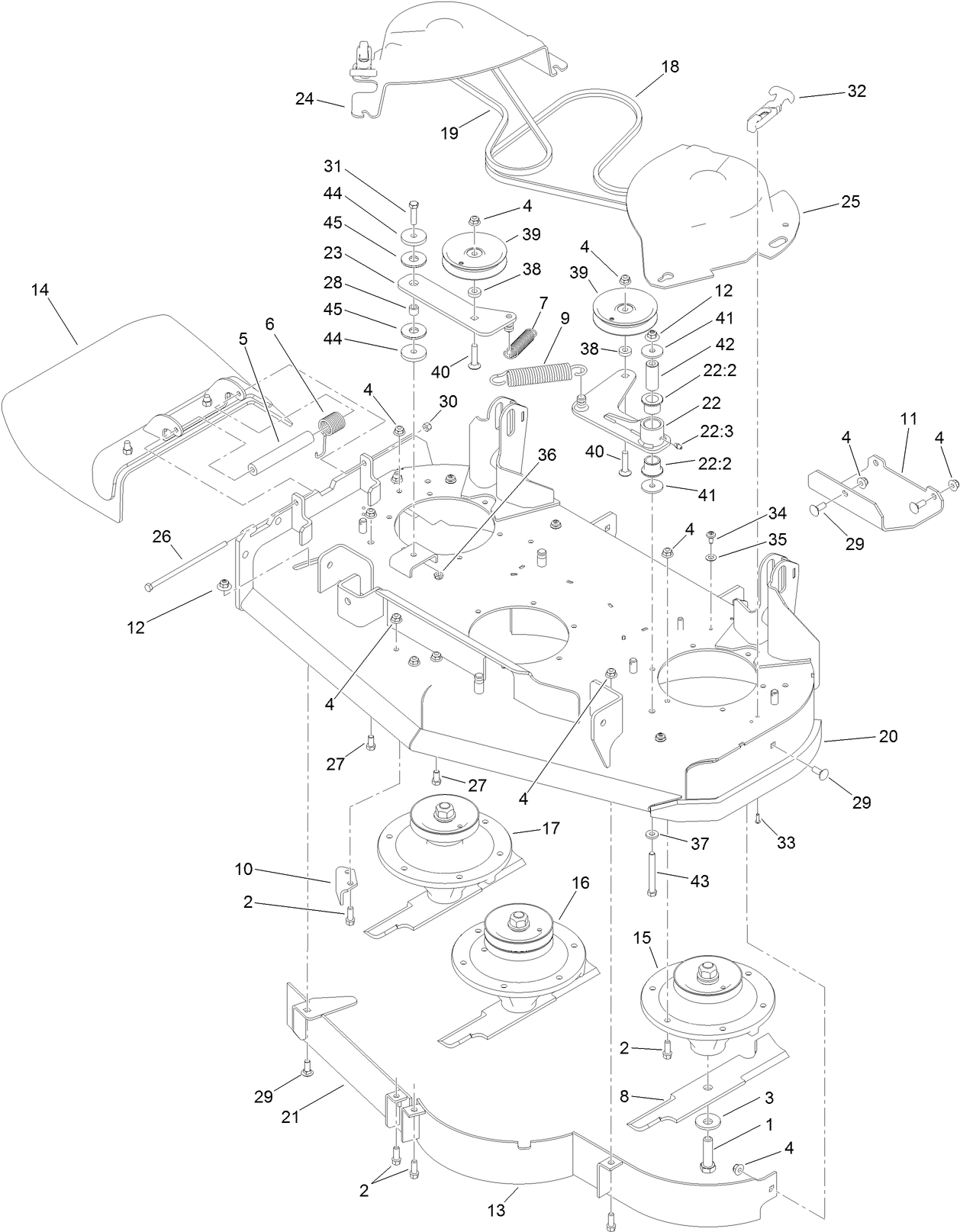
Assembly Drawings
Search for a part within assembly drawings:
-
Service Manual
-
Operator's Manual
-
Parts Catalog
-
Engine Evaporative Emission Warranty
-
Setup Instructions
40 inch GrandStand bagging Enhancement Kit (Part # 110-2025)
Toro 40 inch GrandStand bagging Enhancement Kit. To best protect your investment and maintain optimal performance of your equipment, count on Toro genuine parts and accessories.
40 Inch GrandStand Recycler Kit (Part # 110-2070)
By adding the Toro Recycler system to your Toro GrandStand riding mower, you create your own natural fertilizer. The 40 in. Recycler Kit, when installed on compatible 40 in. deck Toro zero turn riding mowers, gives it the capability to mulch grass by cutting it multiple times turning it into fine clipping pieces. These are returned under the mower back into the soil to serve as natural fertilizer.
40 Inch Turbo Force Plate Kit (Part # 110-6902)
40 Inch Turbo Force Plate Kit for GransStand mowers. Count on Toro genuine OEM air cleaners and air cleaner assemblies to keep your gasoline powered equipment running at peak performance
GrandStand Light Kit (Part # 114-3505)
Extend your mowing day with these Toro genuine high-intensity, low amperage LED light kit. This lighting kit is built in durable cast aluminum alloy housing with stainless steel mounting hardware and wiring harness and lighted rocker switch. When it comes to reliability, Toro delivers replacement parts designed to the exact engineering specifications of our equipment. For peace of mind, insist on Toro genuine parts.
Hypr-Oil™ 500 (quart) (Part # 114-4713)
High Performance Hydro Oil
Hypr-Oil™ 500 (gallon) (Part # 114-4714)
High Performance Hydro Oil
Hypr-Oil™ 500 Hydraulic Oil (5 gallon) (Part # 114-4715)
Maximize commercial mower performance with Hypr-Oil™ 500. Tested and approved by Toro Engineering.
Please contact your local dealer
14 Inch Recycle Blade Pack - 6 Blades (Part # 114-4961)
Toro 14 Inch OEM Recycler blade pack. (6) Recycler blades. Recycler straight edge, standard discharge blade. The blade is designed for a High quality cut and long-lasting durability. These blades are designed with “wings,” called “accelerators” that kind of act like a fan — forcing the tiny bits of grass back into the earth. This Toro blade has multiple applications. Be sure to verify model and serial number to ensure the correct part.
14 Inch Low Flow Blade Pack - 6 Blades (Part # 114-4962)
Toro 14 Inch OEM Low Flow blade pack. (6) Low Flow blades. Low Flow mower blades have slightly curved ends that keep air Flow to a minimum. The lack of suction allows cut grass to exit the mower while keeping dust and debris levels down. Toro Low Flow mower blades cause less engine strain than Hi-Flow blades. This Toro blade has multiple applications. Be sure to verify model and serial number to ensure the correct part.
Please contact your local dealer
Med Flow Blade Pack - 6 Blades (Part # 114-4963)
Toro OEM Medium Flow blade pack. (6) Medium Flow blades. Medium Flow mower straight edge, standard discharge blade. These blades have slight upward angle on the edges. Great blades for use when horsepower is a concern. Produce medium Flow but requires less horsepower than Hi-Flow blades. This Toro blade has multiple applications. Be sure to verify model and serial number to ensure the correct part.
14 Inch Hi-Flow Blade Pack - 6 Blades (Part # 114-4964)
Toro 14 Inch OEM Hi-Flow blade pack. (6) Hi-Flow blades. This sharp replacement Hi-Flow lawn mower blade provides a crisp, clean cut time after time. You can count on the quality and reliability of this Toro replacement Hi-Flow lawn mower blade. This Toro blade has multiple applications. Be sure to verify model and serial number to ensure the correct part.
14 Inch Atomic Blade Pack - 6 Blades (Part # 114-4965)
Toro OEM Atomic (6) blade pack. Atomic blade is commonly referenced as a “Gator Style” or “Gator Blade”. Provides the best quality of cut while mulching. This Toro blade has multiple applications. Be sure to verify model and serial number to ensure the correct part.
GrandStand Weight Kit (Part # 117-3620)
Weight Kit for Toro Grandstand models. Helps distribute weight for a smooth ride and an even cut on rough terrain. When it comes to reliability, Toro delivers replacement parts designed to the exact engineering specifications of our equipment. For peace of mind, insist on Toro genuine parts.
Stripping Kit (Part # 117-8560)
The Toro Striping Kit allows you to create "ballpark" stripes and patterns in your lawn while you mow. Striping kits lay the grass down in the direction of travel. The differences in direction reflect light to provide vivid light and dark stripes in your lawn. Adjustable to increase or decrease downward pressure.
GrandStand Operator Chute Gate Kit (Part # 117-8565)
Toro OEM chute gate kit. Protect people and property from flying debris, keep grass out of flower beds and driveways, reducing raking, blowing and re-mowing.
Trash Container Kit (Part # 121-7530)
Toro genuine rider trash container kit. When it comes to reliability, Toro delivers replacement parts designed to the exact engineering specifications of our equipment. For peace of mind, insist on Toro genuine parts.
40 inch Deck MVP Kit (GrandStand) (Part # 127-1647)
Genuine OEM Part
3 Bushell Soft Collection Bag for GrandStand Mowers (Part # 30104)
3 Bushell Soft Collection Bag for GrandStand Mowers. To best protect your investment and maintain optimal performance of your equipment, count on Toro genuine parts and accessories.
Spark Arrestor (Part # 98-9099)
Toro OEM spark arrestor prevents carbon build ups from being ejected from the engine and igniting a fire.
-
Model #
74536 -
Serial #
314000001 - 314999999 -
Product Name
GrandStand® 40 in. (102 cm) 15 hp 541cc -
Product Brand
Toro -
Product Type
Riding Products -
Product Series
Professional Grade Stand-on Mowers -
Chassis Type
Stand On -
Swath
40 inch -
Discharge
Side -
Engine/Motor Manufacturer
Kawasaki -
Engine/Motor Size
15 hp -
Engine/Motor Type
4 Cycle -
Engine Starter
Electric -
Transmission Type
Hydrostatic -
Traction Type
2wd
-
Engine: Battery
12V 300CCA -
Engine: Engine Speed
3600±100 RPM -
Engine: Spark Plug
NGK BPR4ES -
Engine: Spark Plug Gap
.030"/ .76mm -
Engine: Ignition Coil Air Gap
.008-.016" / .2-.4mm -
Chassis: Tire Pressure
12-14 psi rear -
Engine: Engine Oil Type
67 oz. (2.1 Liter) SAE 10W-30 or 10W-40 -
Chassis: Height of Cut Range
1-5", 1/4" increments -
Drive System: Ground Speed
Fwd. 0 - 8 Rev. 0 - 3 mph -
Drive System: Gearbox Lubricant
HYPR-OIL 500 / 15w-50 Synthetic Motor Oil

























