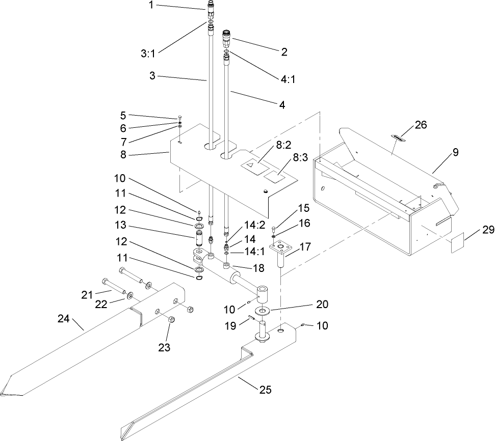
Tree Fork Attachment
Product Information
- Model #: 22438
- Serial #: 312000001 - 312999999
- Product Type: Compact Utility Loaders, Attachments
Loading...
Assembly Drawings
Search for a part within assembly drawings:
-
Operator's Manual
-
Parts Catalog
NPT Flush Face Adapter Kit, Dingo (Part # 100-4745)
Coupler Kit (Part # 106-7695)
-
Model #
22438 -
Serial #
312000001 - 312999999 -
Product Name
Tree Fork Attachment -
Product Brand
Toro -
Product Type
Compact Utility Loaders, Attachments -
Product Series
Attachments & Kits, SWS & CUE

