Reelmaster 5200-D 2 Wheel Drive
Product Information
- Model #: 03540
- Serial #: 210000001 - 210000199
- Product Type: Riding Products
Loading...
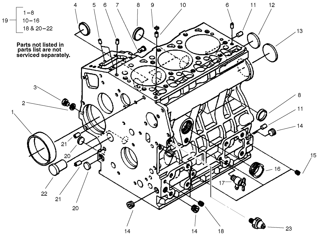
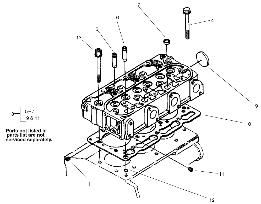
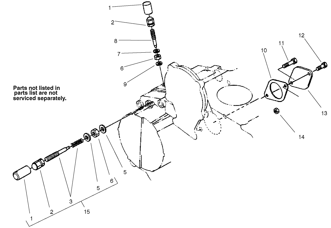
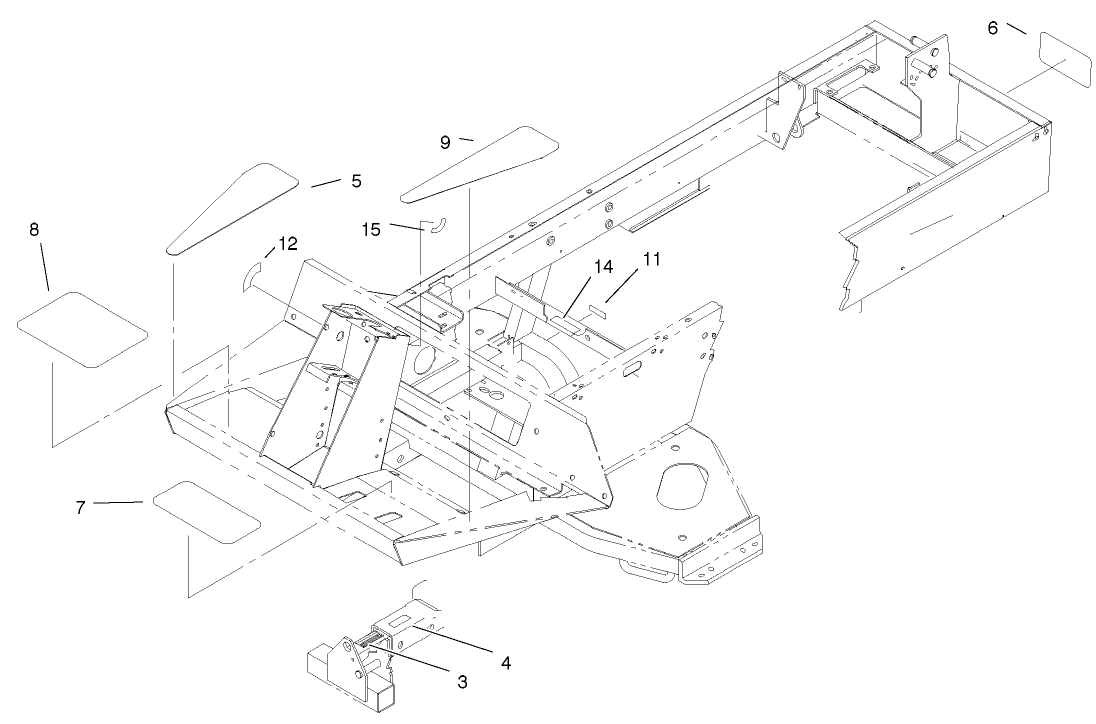
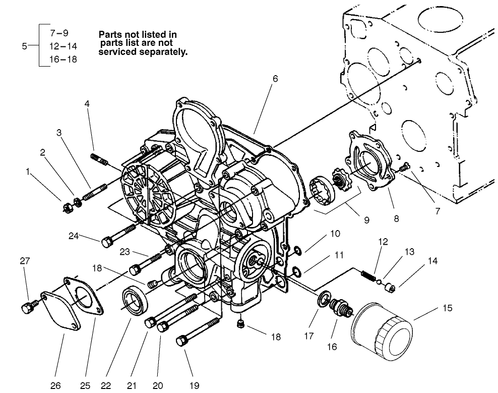
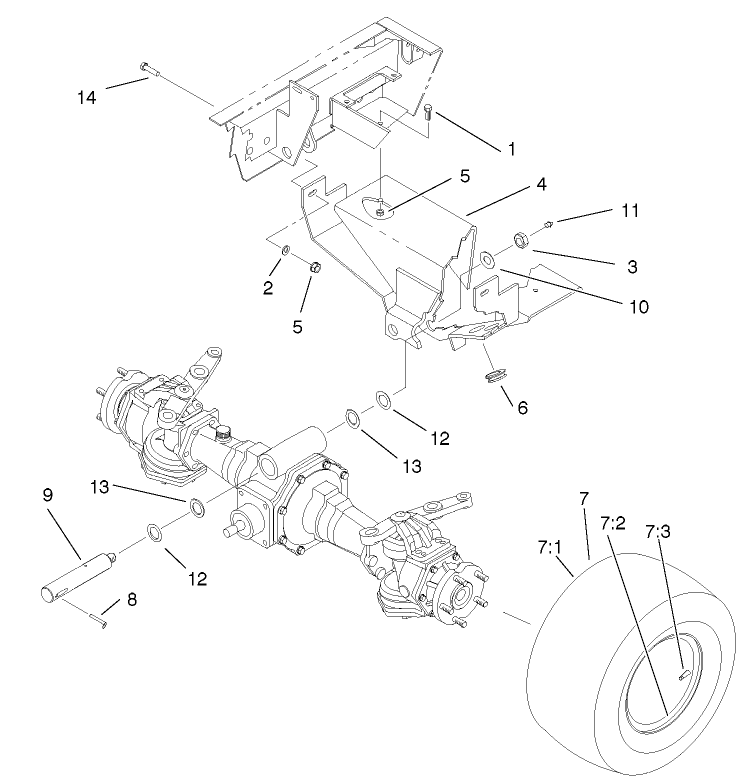
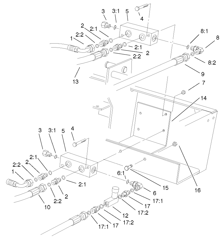
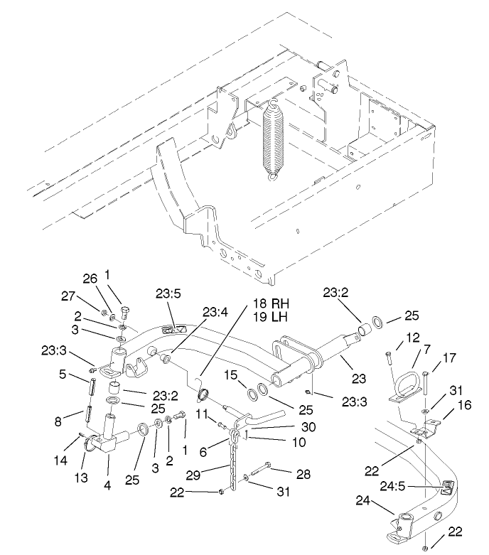
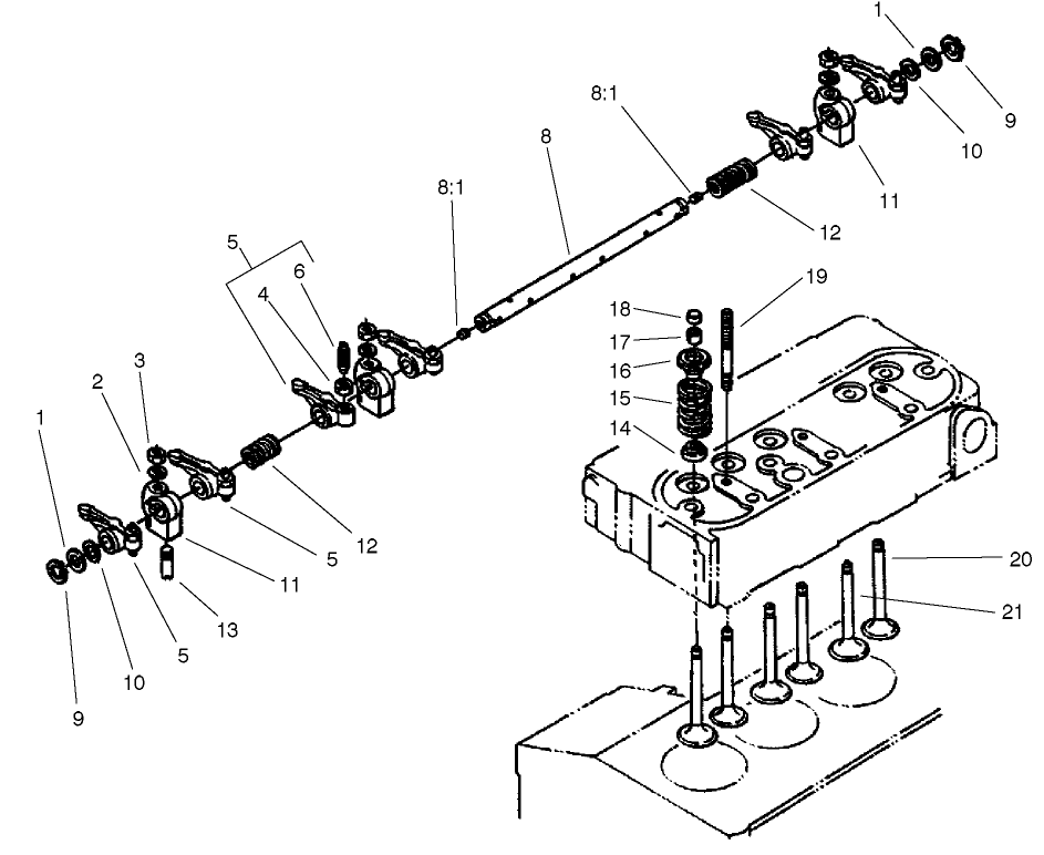
Assembly Drawings
Search for a part within assembly drawings:
-
Service Manual
-
Operator's Manual
-
Parts Catalog
-
Service Bulletin
5-Blade Reel Mower, Reelmaster 5100-D and 5300-D (Part # 03506)
8-Blade Reel Mower, Reelmaster 5100-D and 5300-D (Part # 03509)
Grass Basket Kit, Reelmaster 5000 Series (Part # 03513)
Dethatching Reel, Reelmaster 5100-D and 5300-D (Part # 03516)
Scraper and Comb Kit, Reelmaster 5100-D and 5300-D (Part # 03518)
Leak Detector Kit, Reelmaster (Part # 03521)
Premium Rear Roller Kit, Reelmaster 5100 and 5300 (Part # 03523)
Rear Roller, Reelmaster 5100 and 5300 (Part # 03525)
Rear Roller Brush Kit, Reelmaster 5000 (Part # 03526)
5-Blade Cutting Unit, Reelmaster 5200-D and 5400-D (Part # 03527)
8-Blade Cutting Unit, Reelmaster 5200-D and 5400-D (Part # 03528)
RM 5000 BASKET KIT (Part # 03532)
RM5000 ROLLER BRUSH KIT (Part # 03533)
Four Wheel Drive Kit, Reelmaster 5200-D, 5400-D and 5500-D (Part # 03538)
21.25 Inch Fairway Cut Heavy Duty Bedknife (Part # 100-3350)
21.25 Inch OEM Fairway Cut Heavy Duty Bedknife. You can count on the quality and reliability of this replacement Low Cut bedknife. Be sure to verify the make and serial number to ensure correct part.
WIEHLE SCRAPER ASM (Part # 104-3380-03)
COMB KIT-RM5000 (Part # 104-3385)
REAR ROLLER SCRAPER KIT-RM5000 (Part # 104-3395)
Brush And Handle Assembly (Part # 29-9100)
Toro OEM Brush And Handle Assembly.
Arm Rest Kit (Part # 30707)
Built for comfort.
Air Pre-Cleaner Bowl Extension (Part # 43-3810-03)
BAR-GAUGE (Part # 65-8320)
Rear Weight Kit, Reelmaster 5100 Series (Part # 75-6690)
FULL ROLLER ASM (Part # 82-6680)
High Height-Of-Cut Kit, Reelmaster 5100 (Part # 83-5300)
Wiehle Scraper Kit (Part # 83-5400)
Diagnostic Display Box (Part # 85-4750)
Rear Roller Scraper, Reelmaster 5000 (Part # 98-1450)
-
Model #
03540 -
Serial #
210000001 - 210000199 -
Product Name
Reelmaster 5200-D 2 Wheel Drive -
Product Brand
Toro -
Product Type
Riding Products -
Product Series
RM 5000 Series






















































































