Reelmaster 6700-D 4 Wheel Drive
Product Information
- Model #: 03808
- Serial #: 230000001 - 230000300
- Product Type: Riding Products
Loading...
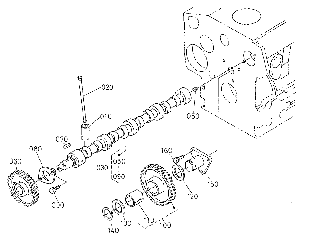
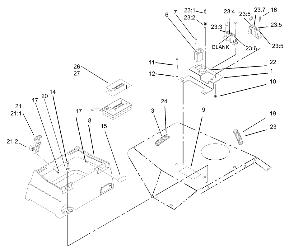
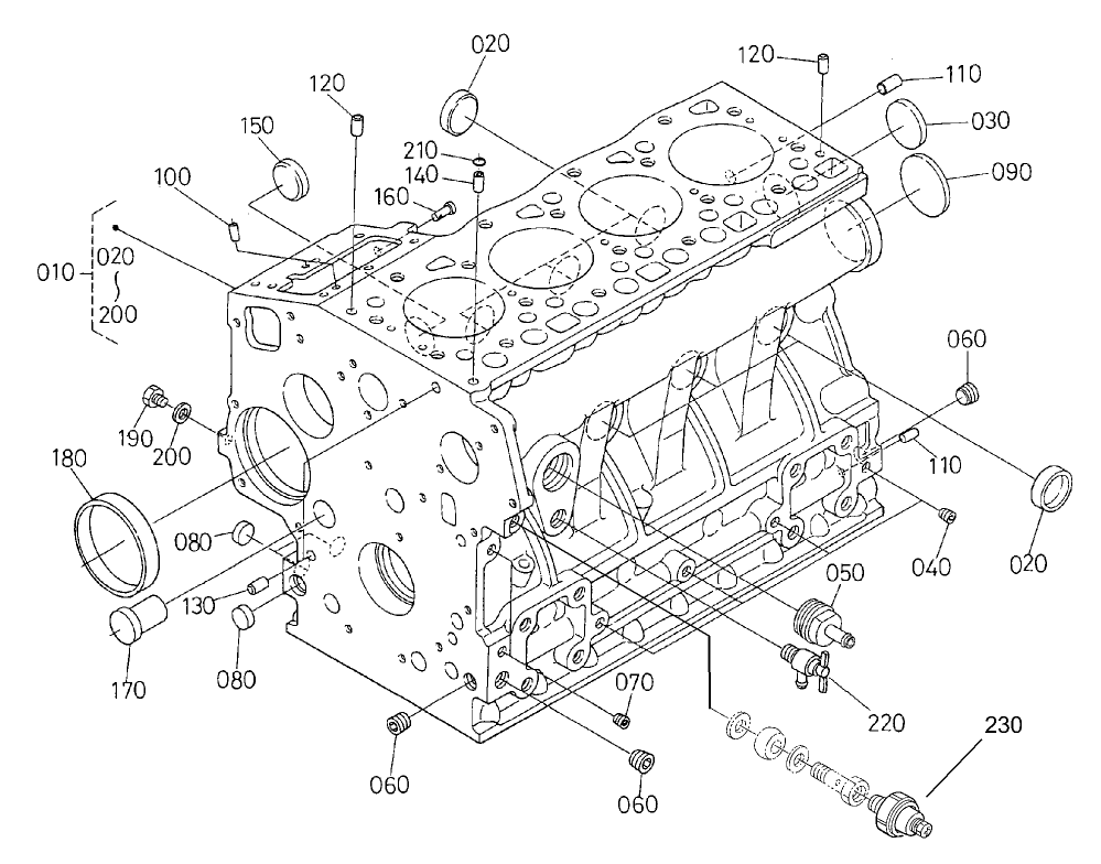
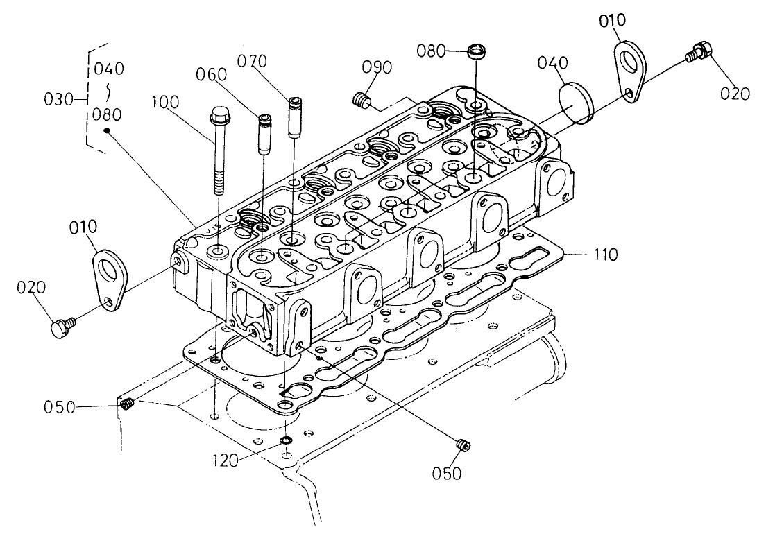
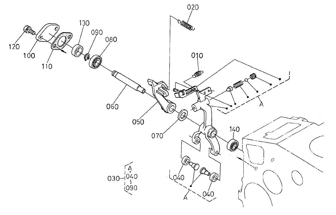
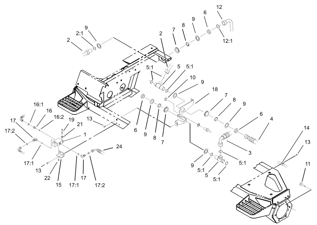
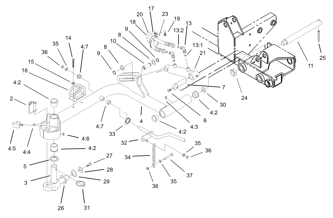
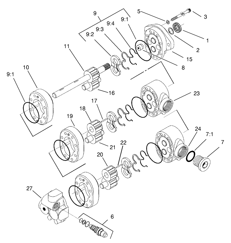
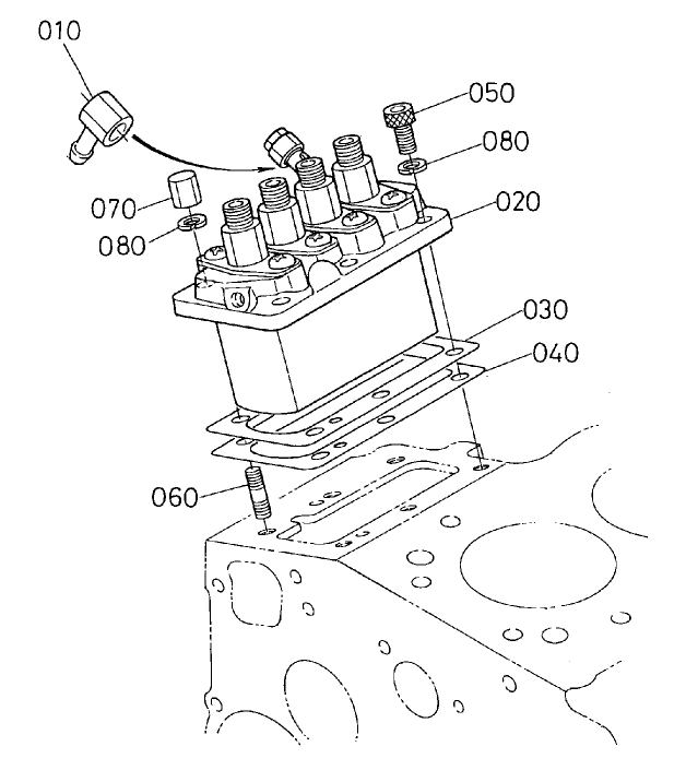
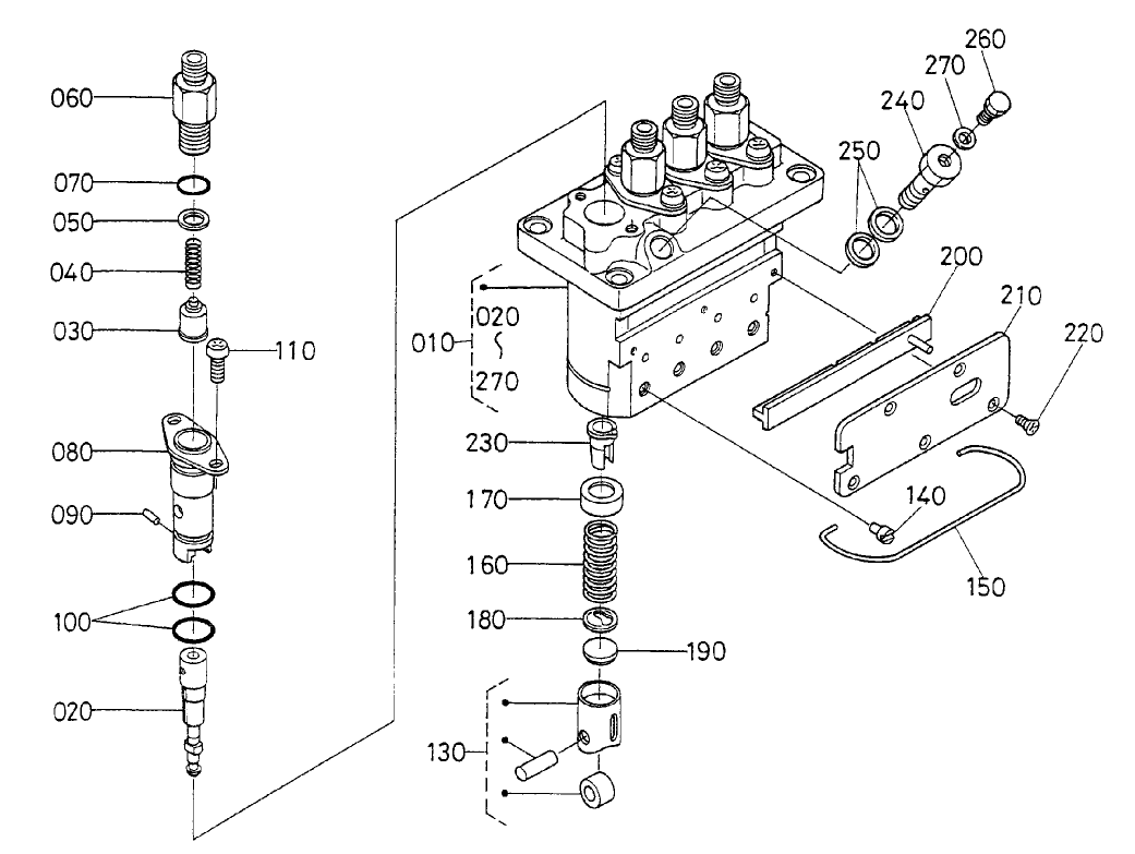
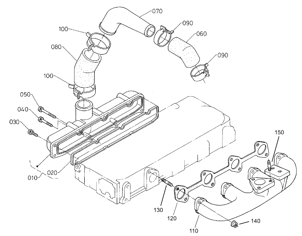
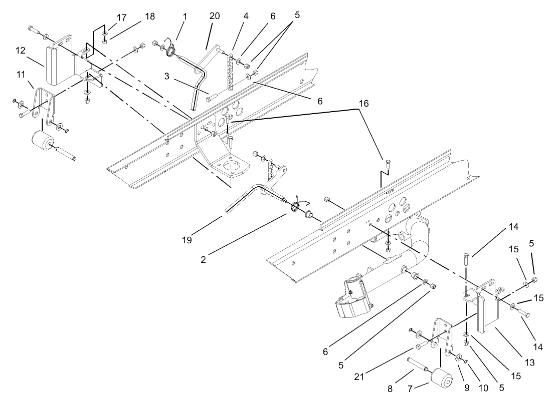
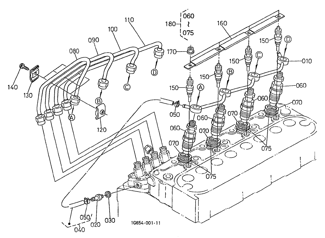
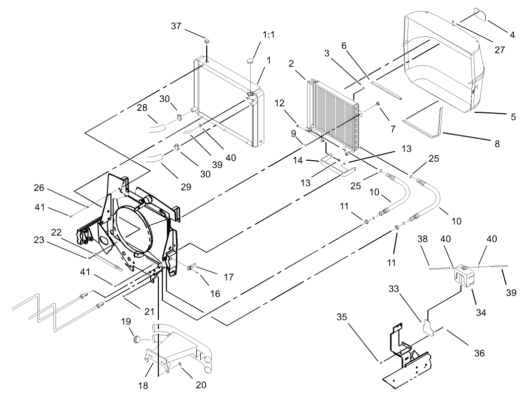
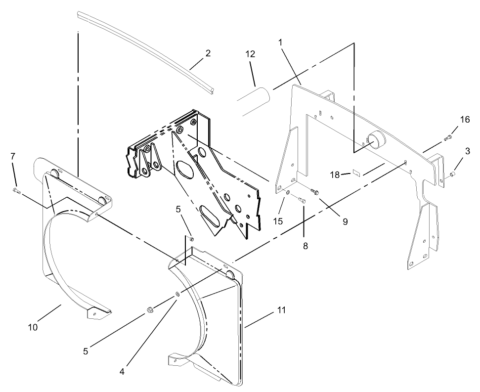
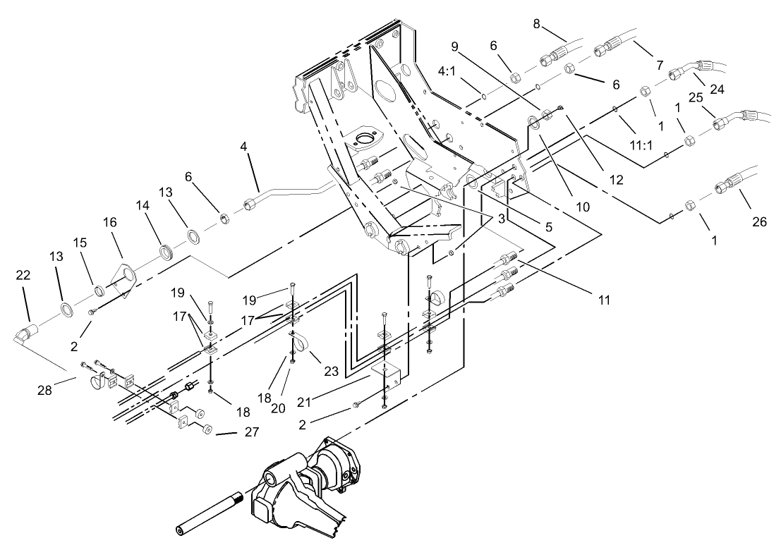
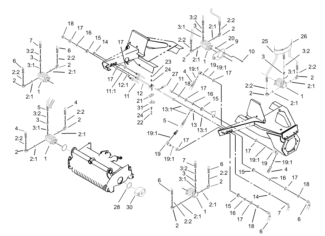
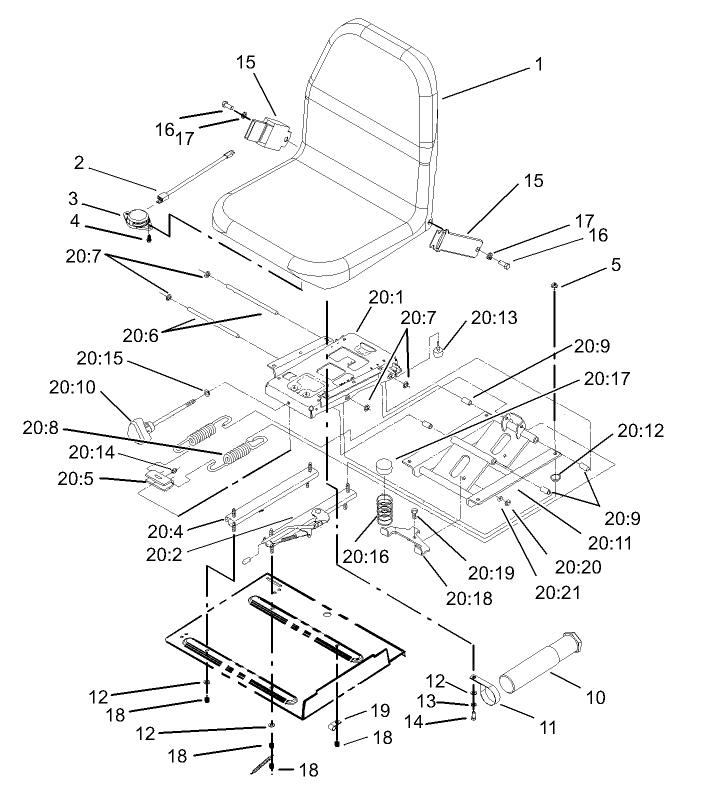
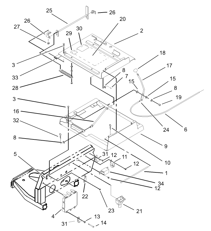
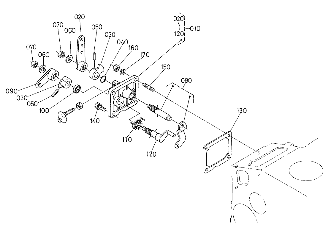
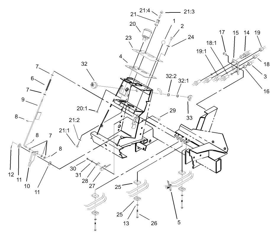
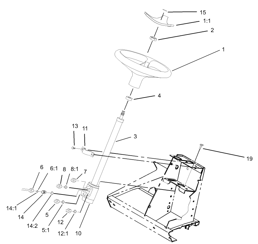
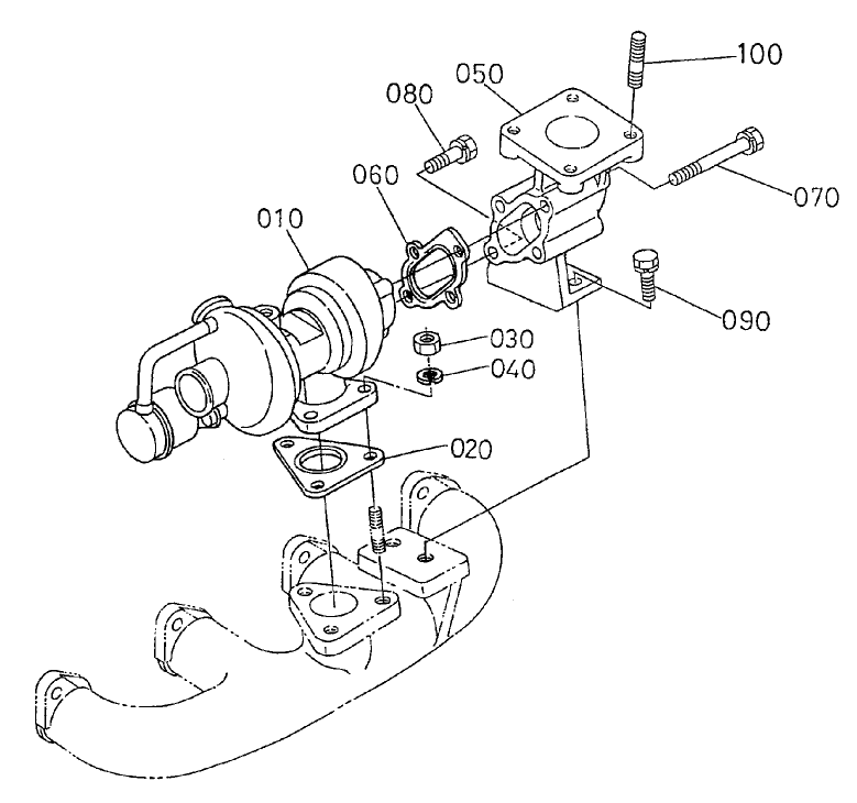
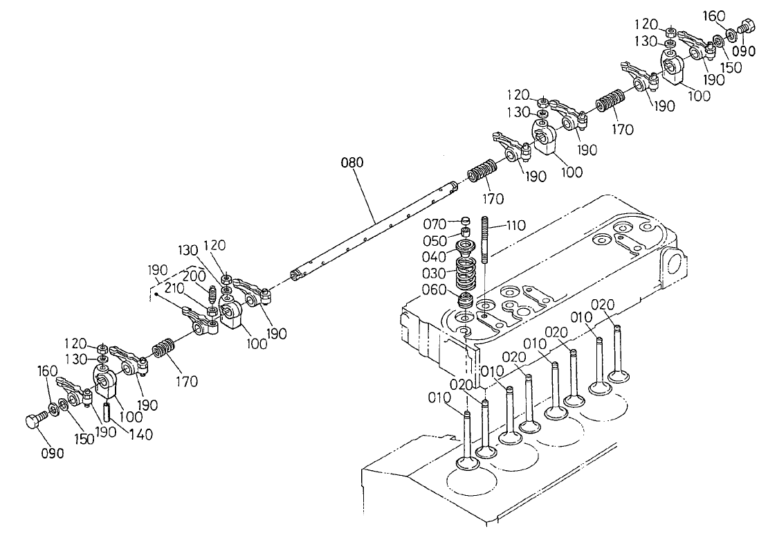
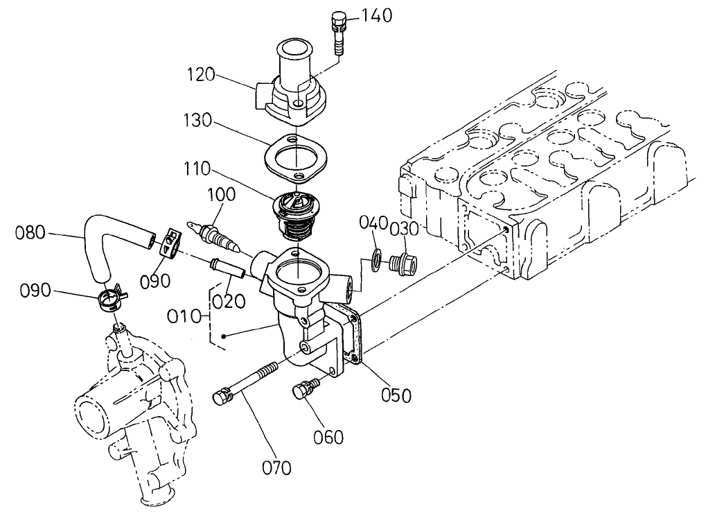
Assembly Drawings
Search for a part within assembly drawings:
-
Service Manual
-
Operator's Manual
-
Parts Catalog
-
EU Declaration of Conformity
-
Service Bulletin
Turf Evaluator (Part # 03499)
Leak Detector Kit, Reelmaster (Part # 03521)
5-Blade Reel Mower, Reelmaster 5500-D and 6000-D Series (Part # 03860)
7-Blade Reel Mower, Reelmaster 5500-D and 6000-D Series (Part # 03861)
11-Blade Reel Mower, Reelmaster 5500-D and 6000-D Series (Part # 03862)
Dethatcher Kit, Reelmaster 5500-D/6000-D Series (Part # 03872)
Rear Roller Brush Kit, Reelmaster 5500-D, 6500-D and 6700-D (Part # 03876)
Basket Kit, Reelmaster 6500-D/6700-D (Part # 03882)
RM55/6000 WIEHLE SCRAPER (Part # 100-9908-03)
Rear Roller Scraper Kit, Reelmaster 5500/6000 (Part # 100-9920)
Wheel Weight Kit (Part # 104-1478)
Comb/Scraper Kit, Reelmaster 5500-D and 6000 Series Cutting Units (Part # 104-1845)
MUFFLER - SPARK ARRESTOR (Part # 104-5201)
RM6000 Reel Drive Hose Kit (Part # 105-0139)
Contains 105-7903 @ 4, 99-5614 @ 2, 105-7902 @ 2, 92-7560 @ 1, 105-7901 @ 4, 92-7559 @ 2, 3290-379 @ 10, 99-5621 @ 3, 33114-020 @ 6, 3253-4 @ 6, 237-30 @ 20, 237-21 @ 10
RM6700 Reel Drive Hose Kit (Part # 105-0140)
Contains 94-1433 @ 2, 100-3814 @ 2, 3290-378 @ 4, 99-5621 @ 2, 33114-020 @ 4, 3253-4 @ 4, 3334-945 @ 2, 237-30 @ 8, 237-21 @ 4
Brush And Handle Assembly (Part # 29-9100)
Toro OEM Brush And Handle Assembly.
Arm Rest Kit (Part # 30707)
Built for comfort.
Diagnostic Display Box (Part # 85-4750)
Fabric Canopy for ROPS (Part # 93-9160)
22.19 Inch Low Cut Standard Bedknife (Part # 93-9774)
Toro 22.19 Inch OEM Low Cut Standard Bedknife. You can count on the quality and reliability of this replacement Low Cut bedknife. Be sure to verify the make and serial number to ensure correct part.
HYDRAULIC MOTOR- 25CC (Part # 98-9998)
22.00 Inch Full Roller Assembly (Part # 99-5749)
Toro 22.00 Inch OEM Full Front Roller Assembly. This roller has a 3.00 inch diameter. This Assembly comes with the roller tube, roller shaft, oil seals, ball bearings, Inner seals, outer seals, washers, grease & fittings. This roller is smooth, unlike the Wiehle roller that has groves built in. Toro OEMs are created to keep your equipment up and running with the highest quality parts. To verify that this fits your Toro equipment, please do a model & serial number search.
RM6000 SHOULDER SCRAPER (Part # 99-8670-03)
23.00 Inch Shoulder Roller Assembly (Part # 99-8675)
Toro 23.00 Inch OEM Shoulder Roller Assembly. This roller has a 3.00 inch diameter. This Assembly comes with a Wiehle shoulder roller, roller shaft, oil seal, ball bearings, inner seal, retaining ring, outer seal, roller washer, grease fittings & grease. This roller is smooth, unlike the Wiehle roller that has groves built in. Toro OEMs are created to keep your equipment up and running with the highest quality parts. To verify that this fits your Toro equipment, please do a model & serial number search.
-
Model #
03808 -
Serial #
230000001 - 230000300 -
Product Name
Reelmaster 6700-D 4 Wheel Drive -
Product Brand
Toro -
Product Type
Riding Products -
Product Series
RM 6000 Series


























































































