270-HE Lawn and Garden Tractor
Product Information
- Model #: 72116
- Serial #: 230000001 - 230999999
- Product Type: Riding Products
Loading...
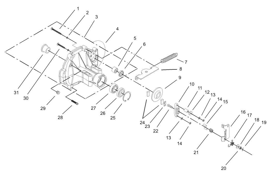
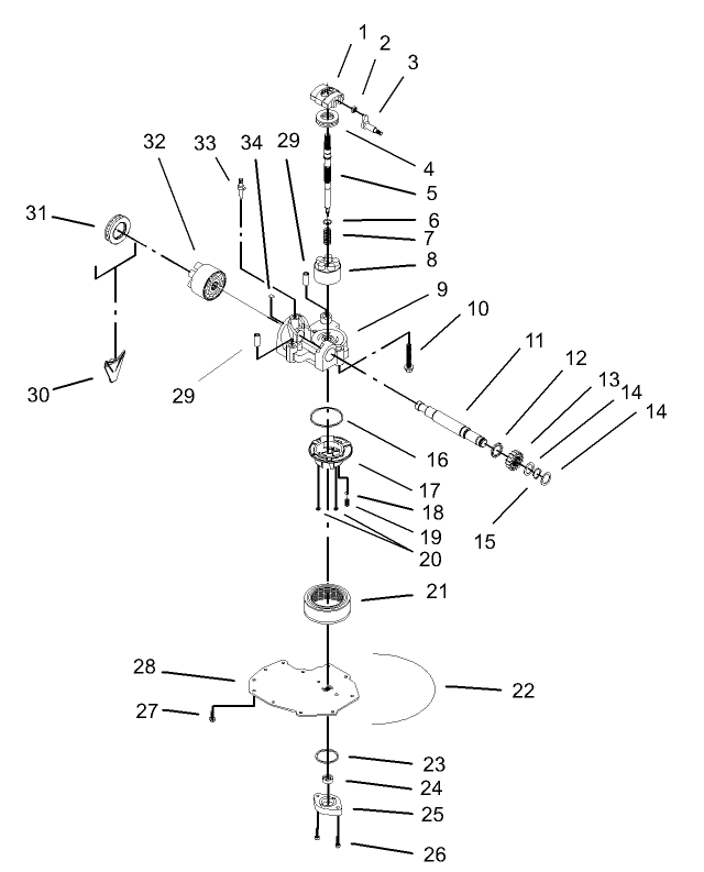
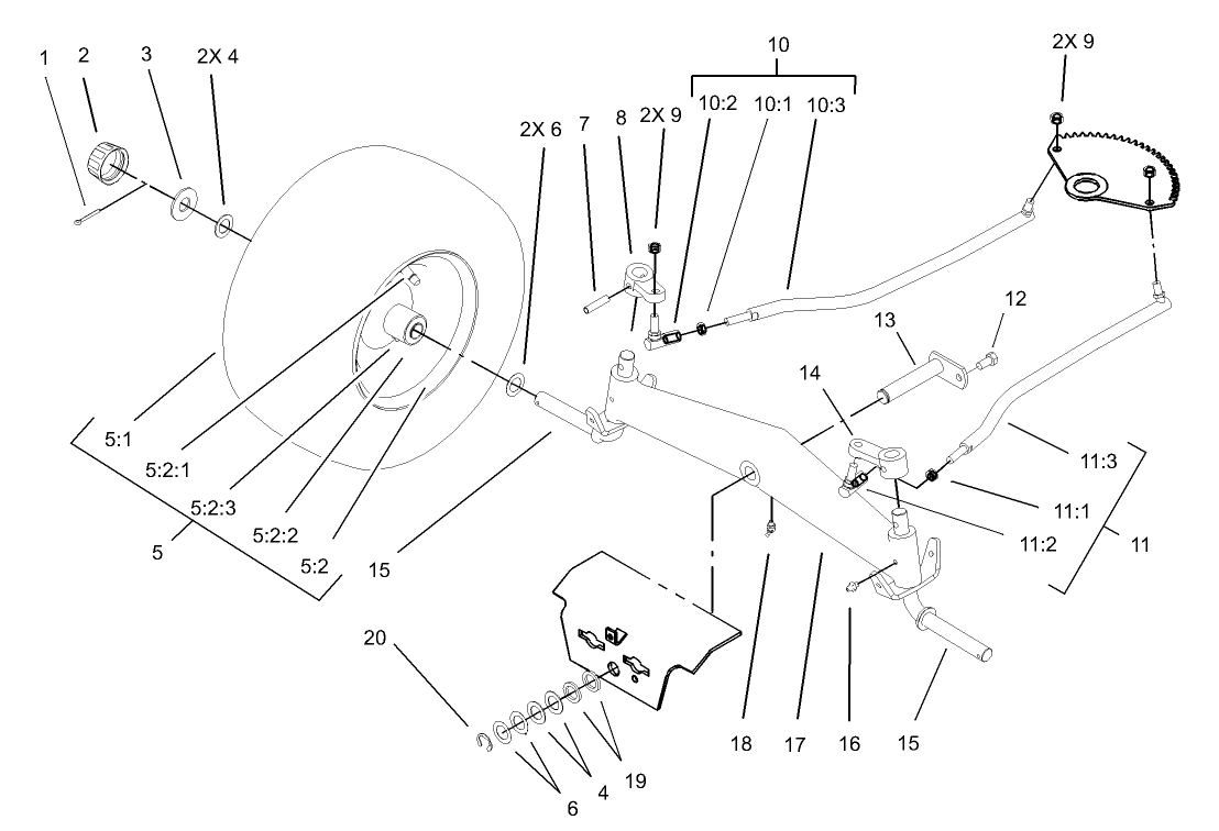
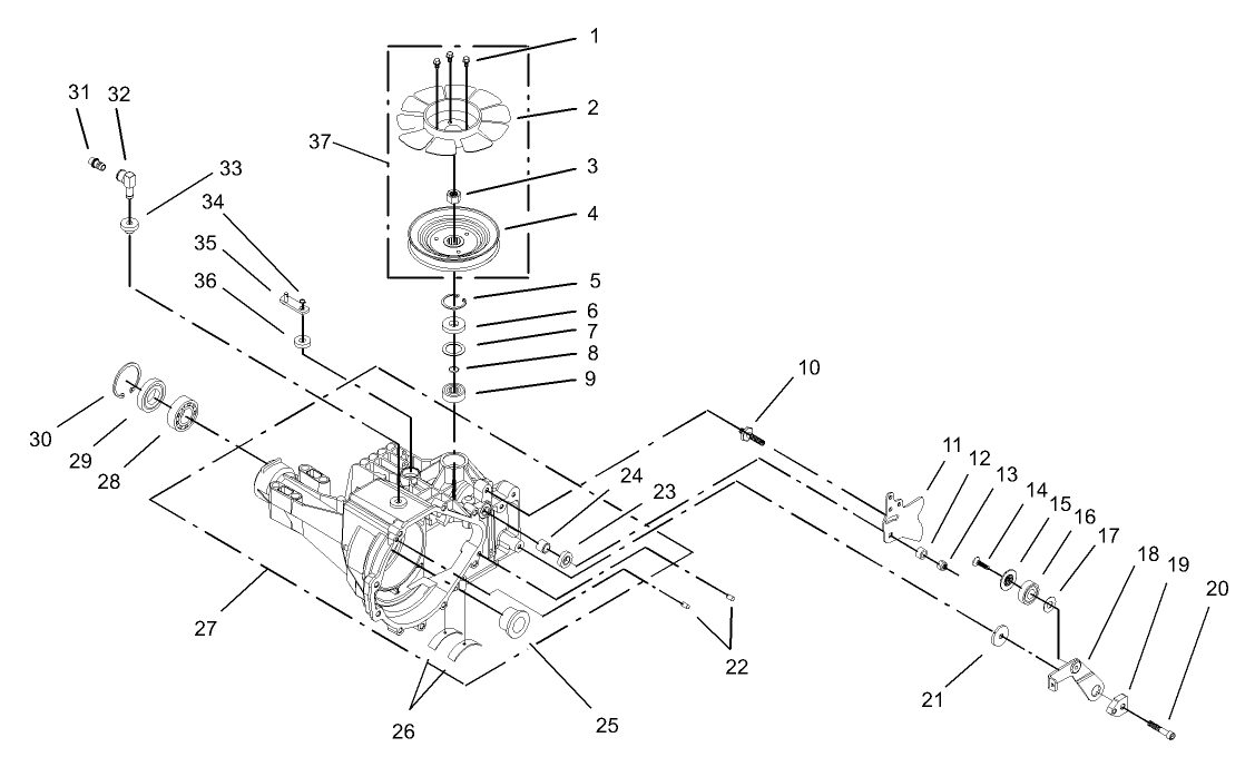
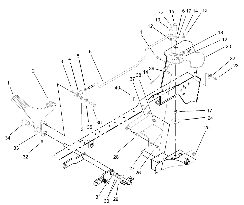
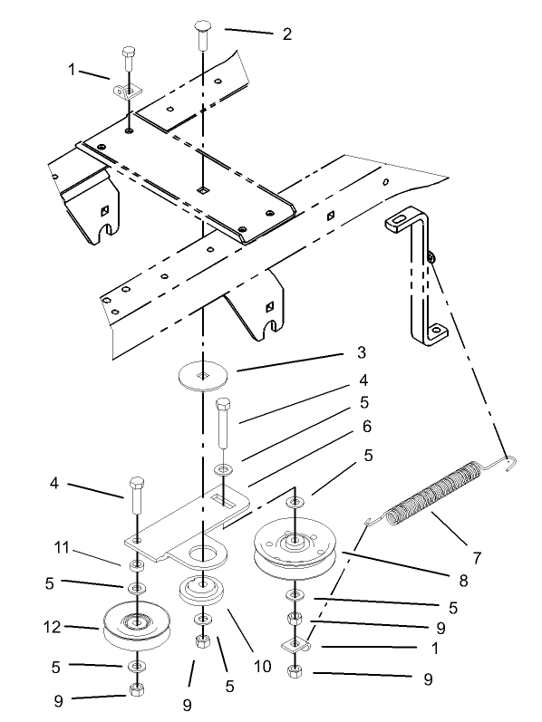
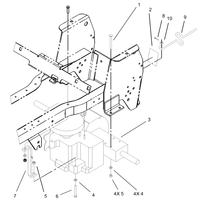
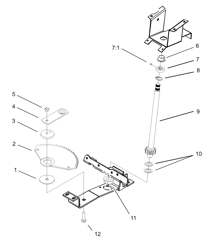
Assembly Drawings
Search for a part within assembly drawings:
-
Service Manual
-
Operator's Manual
-
Parts Catalog
-
EU Declaration of Conformity
-
Setup Instructions
Quiet Collector (Part # 78200)
38" Side Discharge Mower (Part # 78218)
42" Side Discharge Mower (Part # 78232)
52" Side Discharge Mower (Part # 78253)
48" Side Discharge Mower (Part # 78269)
48" Recycler Kit (Part # 79196)
48" Snow/Dozer Blade (Part # 79253)
42" Snowthrower (Part # 79263)
36" Tiller (Part # 79271)
Sweeper (Part # 79986)
Wheel Weight Kit (Part # 81115)
Genuine OEM Part
8 Inch Wheel Weight (Part # 81214)
Genuine OEM Part
23x10.5 Tire Chains (Part # 82146)
Genuine OEM Part
Yard Tractor Rear Drive Rim (Part # 92-6789)
A Toro original equipment replacement yard tractor rear drive rim.
Please contact your local dealer
-
Model #
72116 -
Serial #
230000001 - 230999999 -
Product Name
270-HE Lawn and Garden Tractor -
Product Brand
Toro -
Product Type
Riding Products -
Product Series
Yard & Garden Tractor, 260 Series -
Swath
Deck Optional -
Discharge
Deck Optional -
Engine/Motor Manufacturer
Kohler -
Engine/Motor Size
20 hp -
Engine/Motor Type
4 Cycle CARB2, EPA2 -
Engine Starter
Electric -
Transmission Type
Hydrostatic
-
Chassis: Tire Pressure
20 PSI / 1.4kg sq. cm -
Drive System: Ground Speed
Fwd. 0 - 6.3 Rev. 0 - 2.3 mph -
Engine: Battery
12V 340CCA -
Engine: Spark Plug
Champion RC12YC -
Engine: Spark Plug Gap
.040"/ 1mm -
Engine: Engine Speed
High 2400, Low 1400 RPM



































