Multi-Pro 5700-D Turf Sprayer
Product Information
- Model #: 41582
- Serial #: 260000001 - 260000300
- Product Type: Riding Products
Loading...
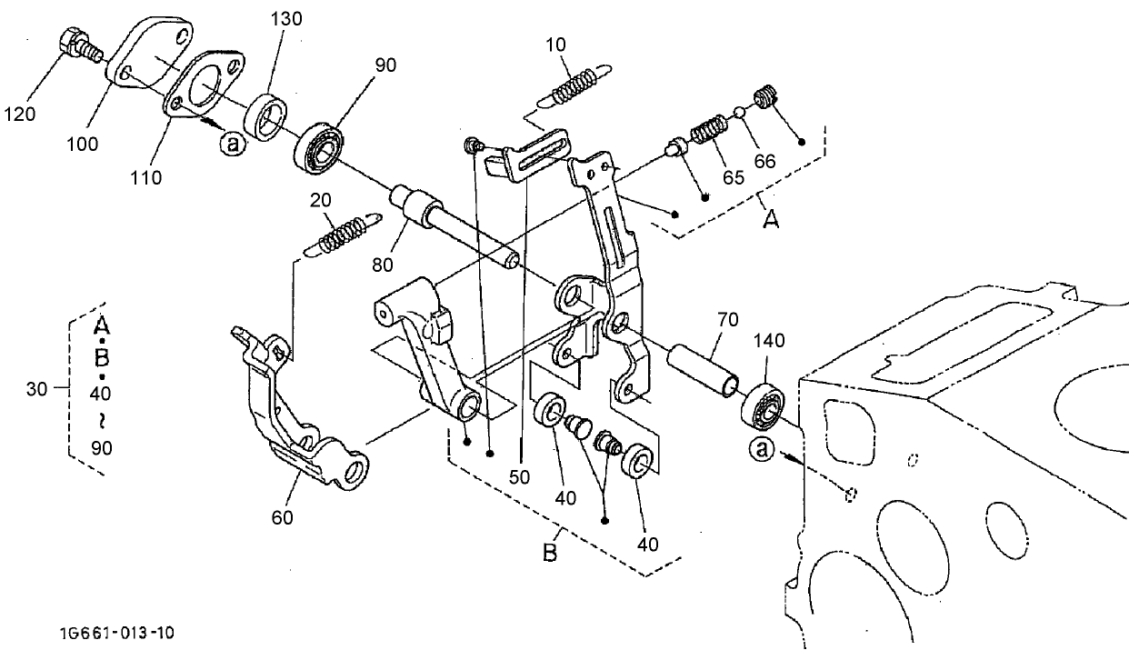
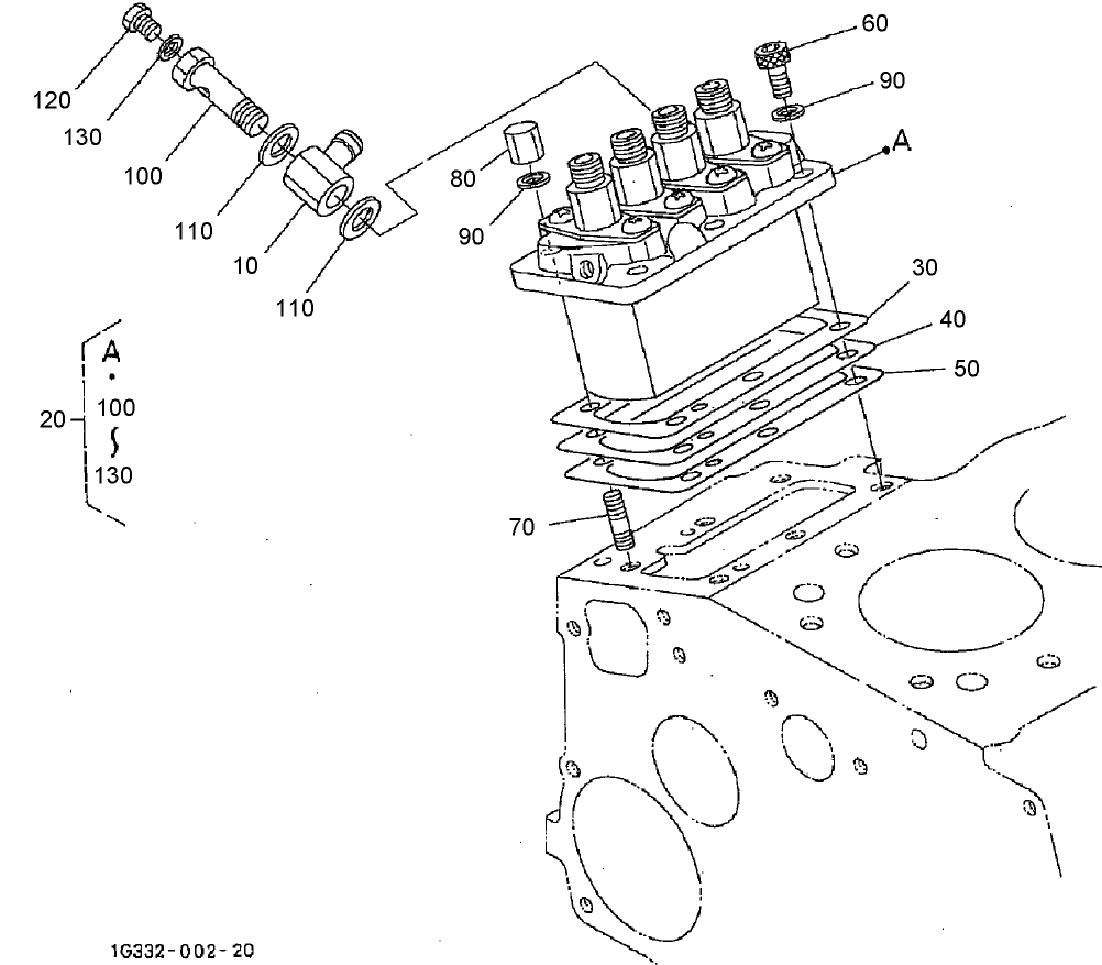
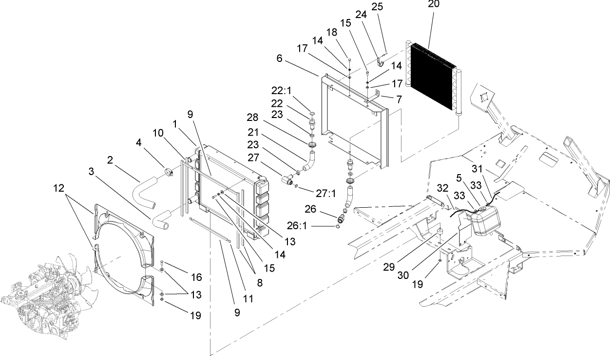
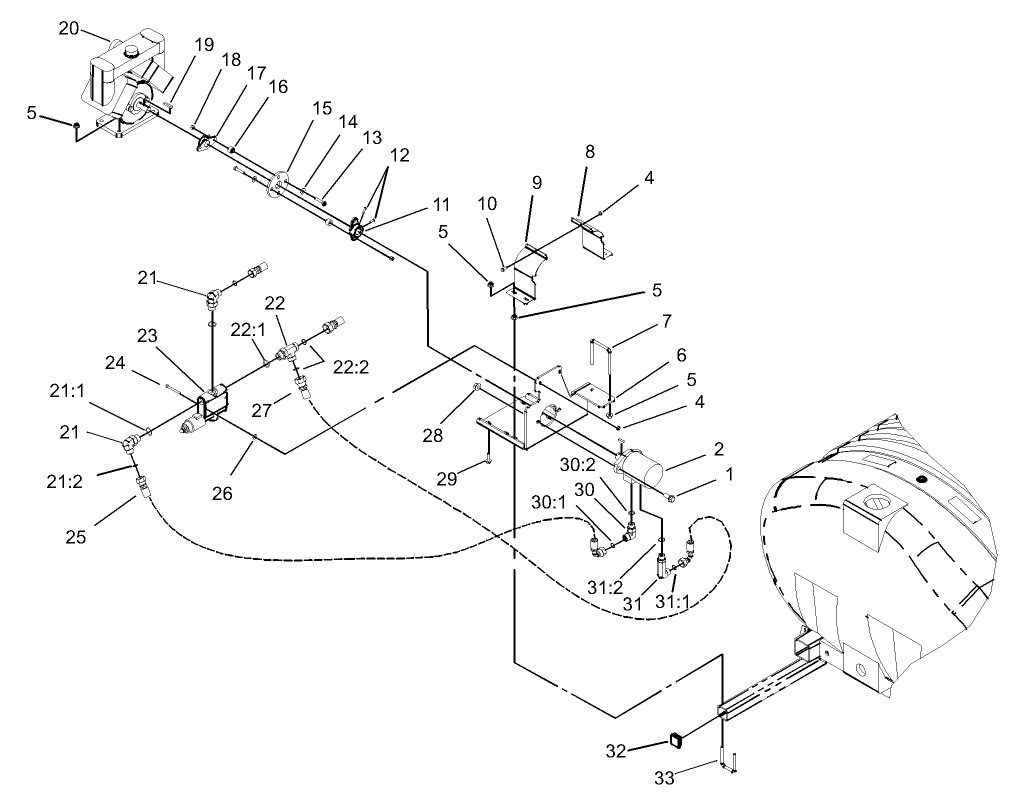
Assembly Drawings
Search for a part within assembly drawings:
-
Service Manual
-
Operator's Manual
-
Parts Catalog
-
EU Declaration of Conformity
-
Reference Guide
-
Service Bulletin
SPEEDOMETER KIT, MP5700 (Part # 106-4839)
MULTIPRO 5700 CE KIT (Part # 106-4841)
HEAT SHIELD BLANKET KIT (Part # 106-4843)
O-RING KIT, SPRAYER VALVES (Part # 106-4846)
Repair Kit - Seal (Part # 108-3263)
Contains 108-3267 @ 1, 108-3266 @ 1
Pro Control Spray System, Multi-Pro 5600 (Part # 41086)
Pro Foam Concentrate (Part # 41157)
Foam Marker Kit, Multi-Pro 1200, 1250, 5600 and 5700 Turf Sprayers and (Part # 41228)
Enclosed Boom, Multi-Pro 1100 (Part # 41355)
Enclosed Walking Boom (Part # 41358)
Enclosed Walking Boom Trailer (Part # 41359)
Mounting Kit for Enclosed Boom (Part # 41360)
Roll-Over Protection System, Multi-Pro 5000 Series Turf Sprayer (Part # 41566)
Electric Hose Reel Kit, Multi-Pro 5600/5700 Turf Sprayer (Part # 41569)
Spray Gun Kit, Multi-Pro 5600/5700 Turf Sprayer (Part # 41580)
Pro-Foam Concentrate (1 Gallon) (Part # 41607)
-
Model #
41582 -
Serial #
260000001 - 260000300 -
Product Name
Multi-Pro 5700-D Turf Sprayer -
Product Brand
Toro -
Product Type
Riding Products -
Product Series
Turf Maintenance Equipment











































































