Heated (Only) Cab Kit, 2015 and After Groundsmaster 4000-D Rotary Mower
Product Information
- Model #: 31232
- Serial #: 316000001 - 316999999
- Product Type: Attachments
Loading...
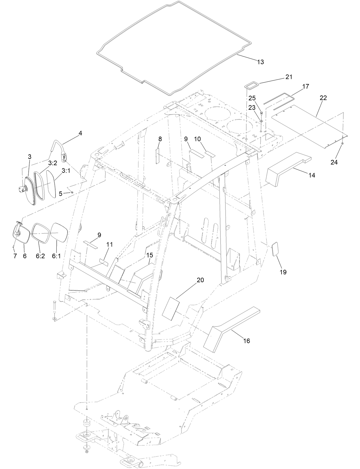
Assembly Drawings
Search for a part within assembly drawings:
-
Operator's Manual
-
Parts Catalog
-
Model #
31232 -
Serial #
316000001 - 316999999 -
Product Name
Heated (Only) Cab Kit, 2015 and After Groundsmaster 4000-D Rotary Mower -
Product Brand
Toro -
Product Type
Attachments -
Product Series
GM 400 Series








