44" Side Discharge Mower, Groundsmaster 120
Product Information
- Model #: 30546
- Serial #: 210000001 - 210999999
- Product Type: Attachments
Loading...
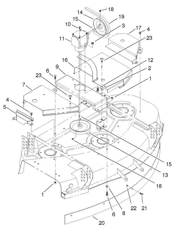
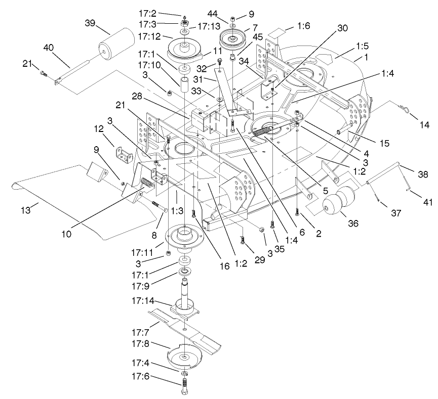
Assembly Drawings
Search for a part within assembly drawings:
-
Operator's Manual
-
Parts Catalog
-
Installation Instructions
-
Model #
30546 -
Serial #
210000001 - 210999999 -
Product Name
44" Side Discharge Mower, Groundsmaster 120 -
Product Brand
Toro -
Product Type
Attachments -
Product Series
Attachments & Kits, Groundsmaster -
Swath
44 inch -
Discharge
Side



