Groundsmaster 3500-D
Product Information
- Model #: 30821
- Serial #: 220000001 - 220000500
- Product Type: Riding Products
Loading...
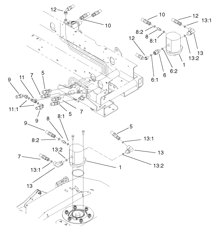
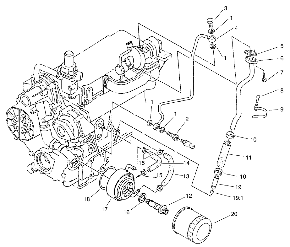
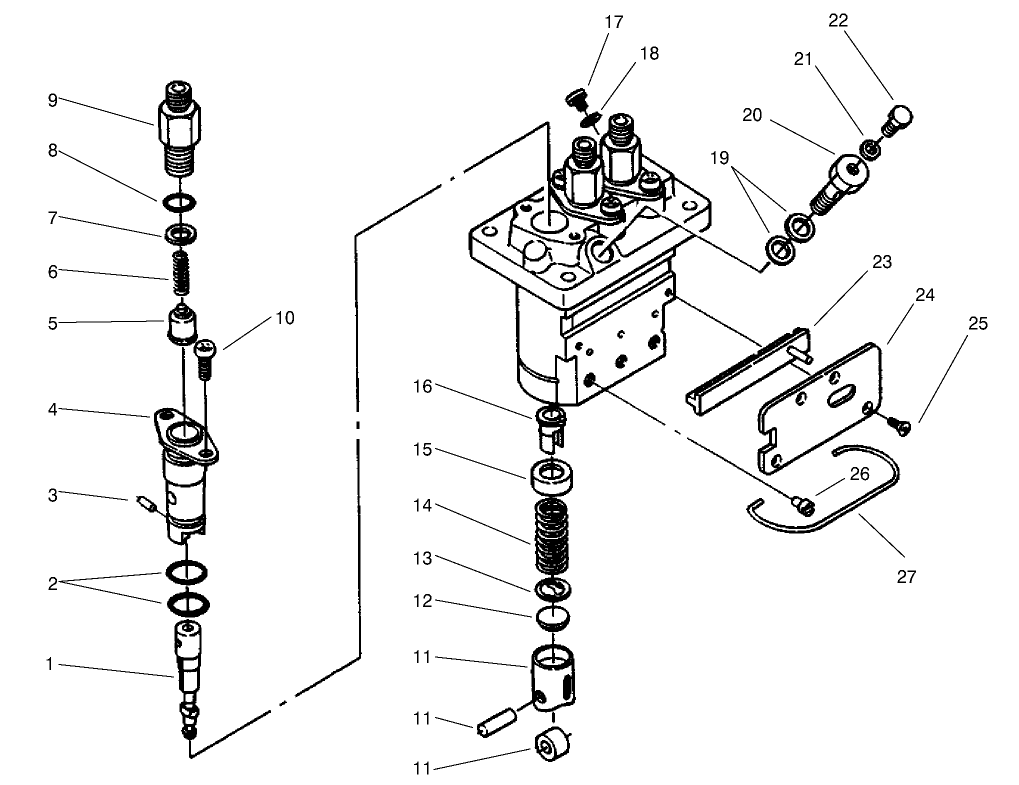
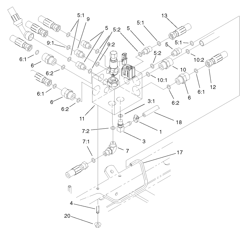
Assembly Drawings
Search for a part within assembly drawings:
-
Service Manual
-
Operator's Manual
-
Parts Catalog
-
EU Declaration of Conformity
-
Service Bulletin
Standard Seat Kit, Reelmaster 3100D (Part # 03224)
27" High Lift Blade (Part # 105-4089)
Arm Rest Kit (Part # 30707)
Built for comfort.
27" Rotary Cutting Unit, Groundsmaster 3500-D (Part # 30822)
Mulching Kit, 27" Rotary Cutting Unit for Groundsmaster 3500-D (Part # 30824)
27in Rotary Cutting Unit, Groundsmaster 3500-D/4500-D/4700-D (Part # 30827)
Mulching Kit, 27" Rotary Cutting Unit for Groundsmaster 3500-D/4000-D (Part # 30828)
RH Lift Arm Assy. (Part # 95-8553)
LH Lift Arm Assy. (Part # 95-8554)
-
Model #
30821 -
Serial #
220000001 - 220000500 -
Product Name
Groundsmaster 3500-D -
Product Brand
Toro -
Product Type
Riding Products -
Product Series
Attachments































































