417XT Garden Tractor
Product Information
- Model #: 72211
- Serial #: 240000001 - 240999999
- Product Type: Riding Products
Loading...
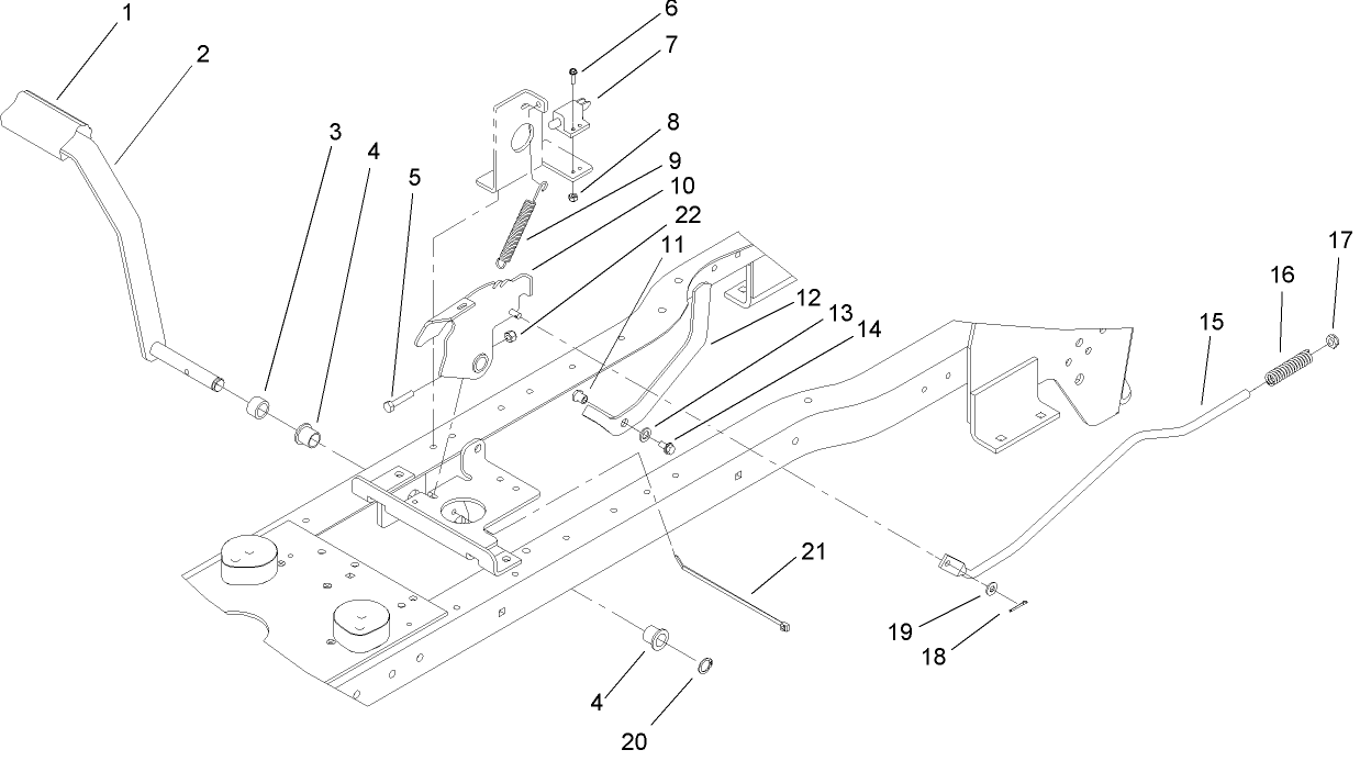
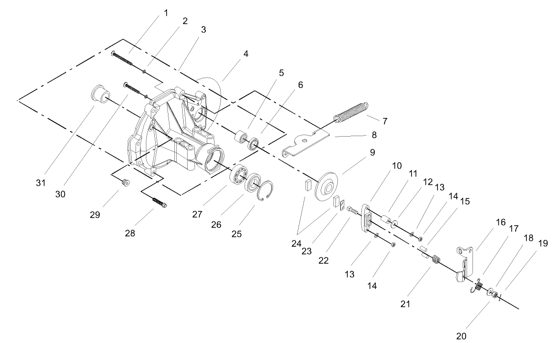
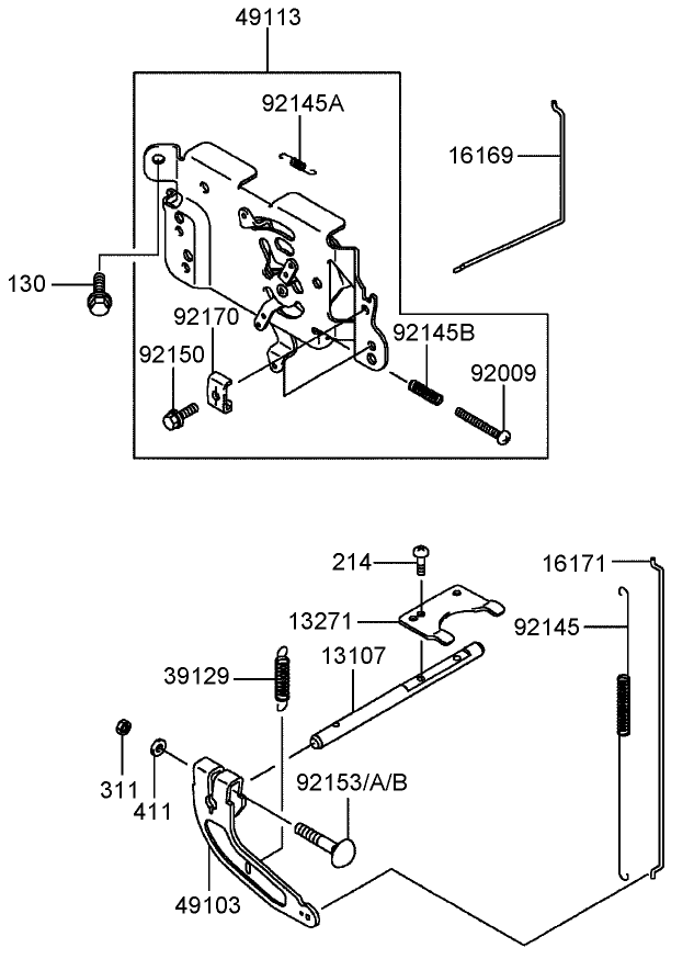
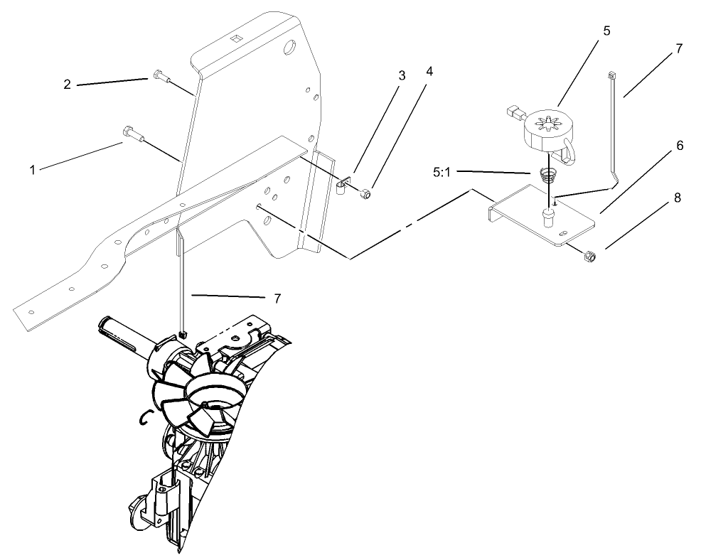
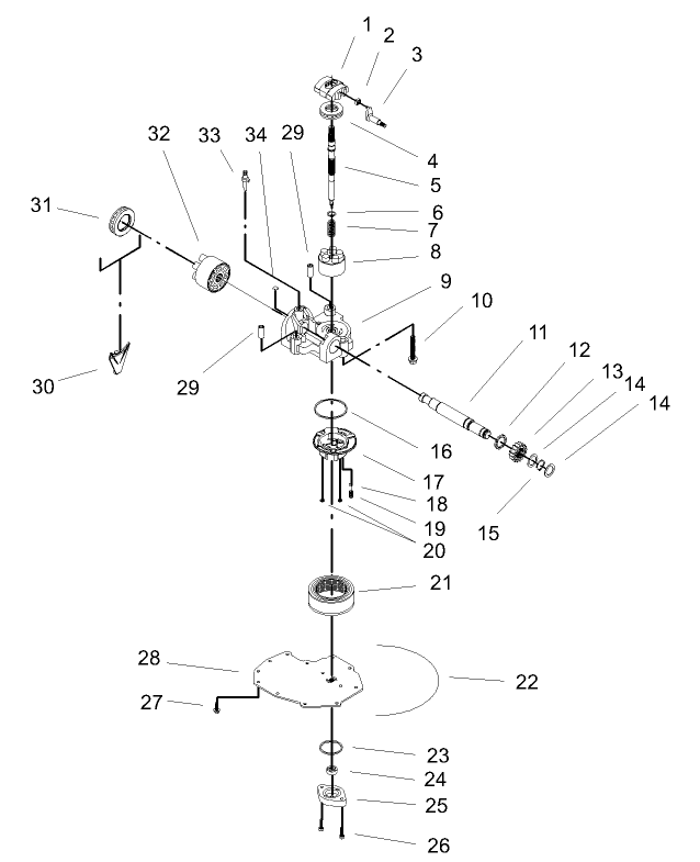
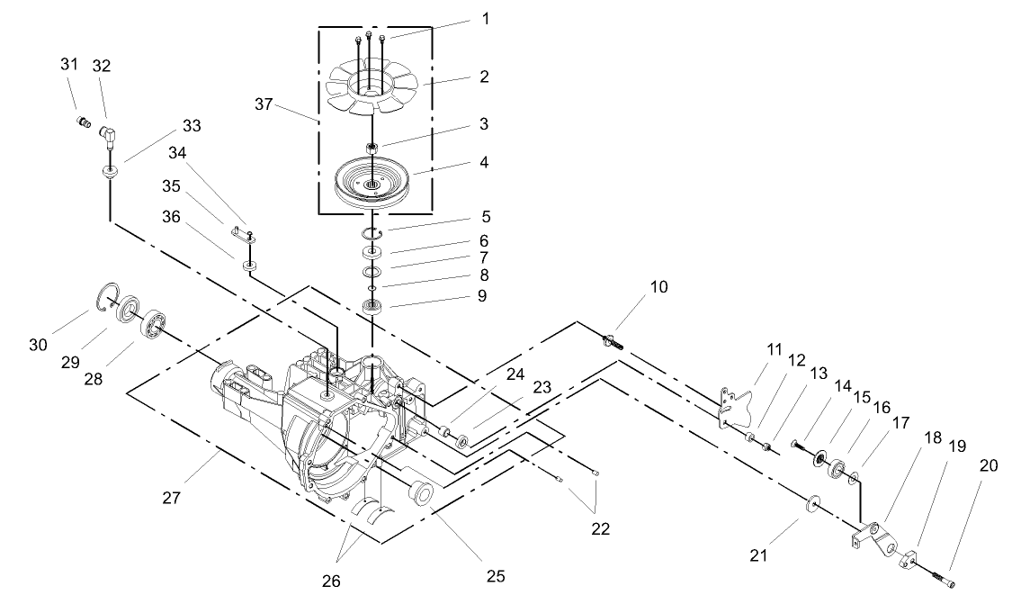
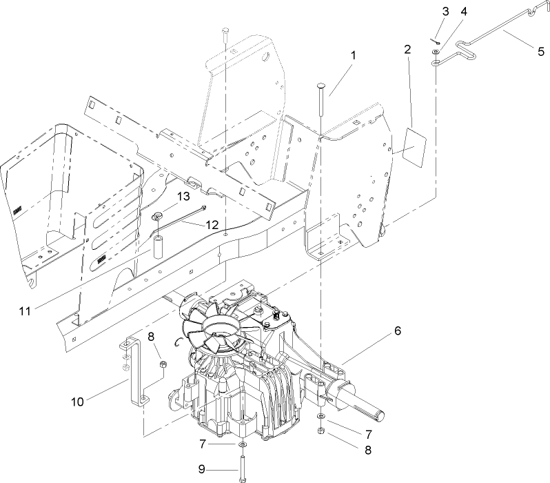
Assembly Drawings
Search for a part within assembly drawings:
-
Service Manual
-
Operator's Manual
-
Parts Catalog
-
EU Declaration of Conformity
-
Addendum
42" Rear Discharge Mower (Part # 78291)
52" Side Discharge Mower (Part # 78294)
122cm Side Discharge Mower, XT Series Garden Tractors (Part # 78295)
48" Recycler Kit (Part # 79196)
11.0 cu. ft. Vac Bagger 42"/48" (Part # 79480)
48" Snow/Dozer Blade (Part # 79481)
36" Tiller (Part # 79484)
-
Model #
72211 -
Serial #
240000001 - 240999999 -
Product Name
417XT Garden Tractor -
Product Brand
Toro -
Product Type
Riding Products -
Product Series
Garden Tractor, XT Series -
Chassis Type
Garden Tractor -
Swath
Deck Optional -
Discharge
Deck Optional -
Engine/Motor Manufacturer
Kawasaki -
Engine/Motor Size
17 hp -
Engine/Motor Type
4 Cycle CARB2, EPA2 -
Engine Starter
Electric -
Transmission Type
Hydrostatic
-
Chassis: Tire Pressure
20 PSI / 1.4kg sq. cm -
Engine: Battery
12V 340CCA -
Engine: Spark Plug
Champion RCJ8Y -
Engine: Spark Plug Gap
.030"/ .76mm -
Engine: Engine Speed
3250±100 RPM





































