Image Not Found

Product Information

  • Model #: 71254
  • Serial #: 313000001 - 313999999
  • Product Type: Riding Products
Image Not Found
Belt Guard Kit, XLS 380 Lawn Tractor (Part # 120-7820)
Image Not Found
Bumper Kit, XLS Lawn Tractor (Part # 79114)
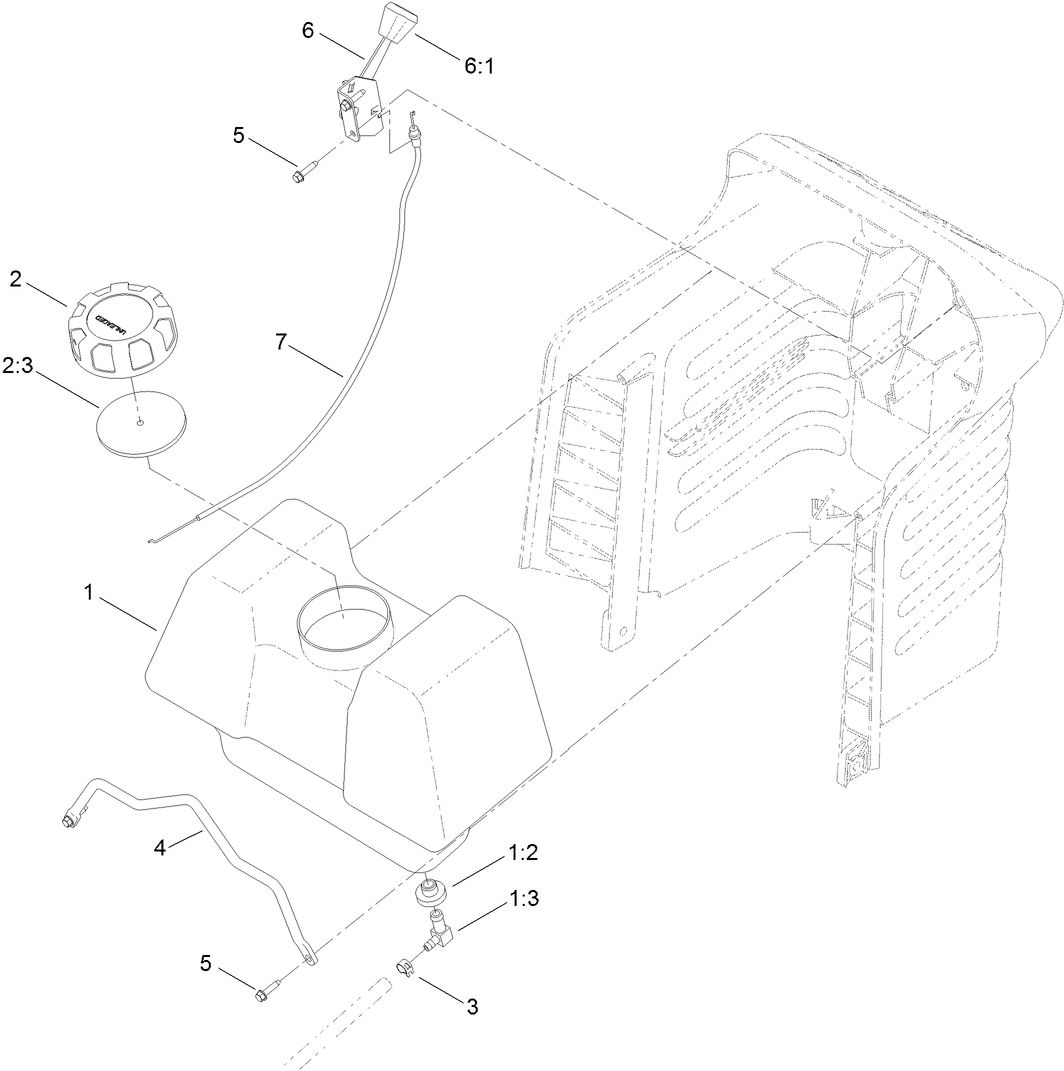
Image Not Found
Twin Soft Bagger, XLS Lawn Tractor (Part # 79118)
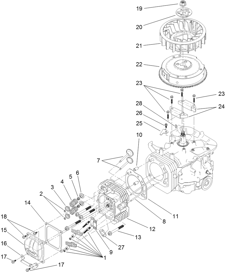
Image Not Found
38in Finishing Kit, Twin Soft Bagger for XLS Lawn Tractor (Part # 79119)
  • Model #
    71254
  • Serial #
    313000001 - 313999999
  • Product Name
    XLS 380 Lawn Tractor
  • Product Brand
    Toro
  • Product Type
    Riding Products
  • Product Series
    Lawn Tractor, XL Series
  • Chassis Type
    Lawn Tractor
  • Swath
    38 inch
  • Discharge
    Side Discharge
  • Engine/Motor Manufacturer
    Toro
  • Engine/Motor Size
    452cc
  • Engine Starter
    Electric
  • Engine: Battery
    12V 195CCA
  • Engine: Spark Plug Gap
    .030"/ .76mm
  • Engine: Engine Speed
    2800±100 RPM
  • Engine: Spark Plug
    Champion QC12YC
  • Drive System: Ground Speed
    Fwd. 0 - 5.5 Rev. 0 - 1.5 mph
  • Chassis: Height of Cut Range
    1.2" - 4"
  • Chassis: Tire Pressure
    14 psi rear / 14 psi front
  • Engine: Engine Oil Type
    filter change 40 oz. (1.2 L); no filter 48 oz. (1.4 L) SAE 30

Register your product

Registering your product will ensure notification of important updates and expedite warranty service should it be necessary.

Register Now