Reelmaster 5610 Traction Unit
Product Information
- Model #: 03690
- Serial #: 270000501 - 270001000
- Product Type: Riding Products
Loading...
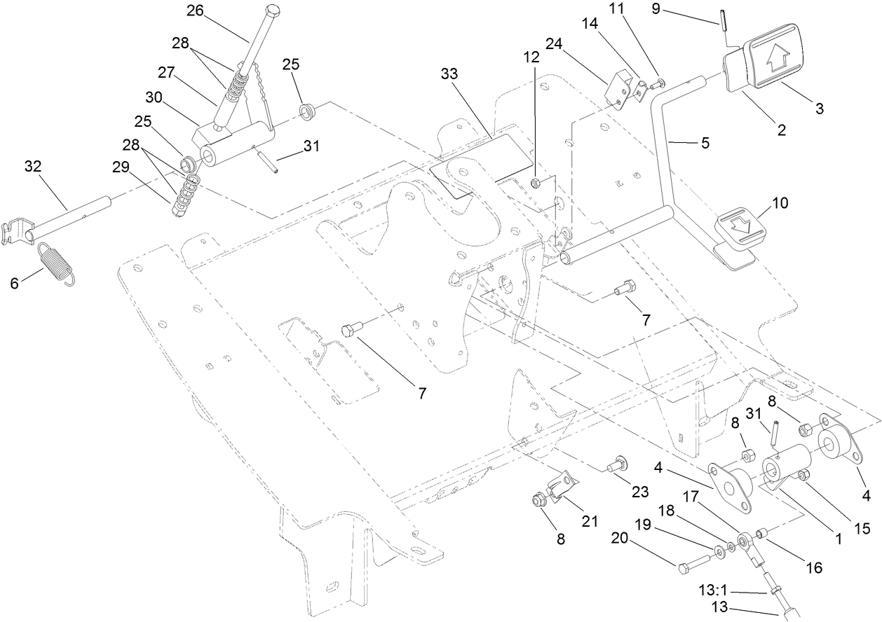
Assembly Drawings
Search for a part within assembly drawings:
-
Service Manual
-
Operator's Manual
-
Parts Catalog
-
EU Declaration of Conformity
-
Service Bulletin
Leak Detector Kit, Reelmaster (Part # 03521)
Air Ride Seat Suspension Kit (Part # 03667)
For all-day operator comfort – Non-cab models only (Cab models are equipped with a cloth air-ride seat standard.)
Four-Wheel Drive Kit, Reelmaster 5010 Series Traction Unit (Part # 03671)
8-Blade DPA Cutting Unit with 7in Reel, Reelmaster 5510/5610 Series Tr (Part # 03681)
11-Blade DPA Cutting Unit with 7in Reel, Reelmaster 5510/5610 Series T (Part # 03682)
Verticutter, Reelmaster 5510/5610 Series Cutting Unit with 7in Reel (Part # 03684)
Turf Evaluator (Part # 04399)
Mirror device used to assess turf conditions
Gauge Bar Assembly (Part # 108-6715)
Toro OEM Gauge Bar Assembly.
*OBS* COOL TOP ROPS MOUNTED FAN-US SALES (Part # 110-8804)
Two-Post ROPS Kit, Reelmaster 5010-D Series Tractors (Part # 110-8860)
Weight Plate (Part # 110-8985-03)
Brush And Handle Assembly (Part # 29-9100)
Toro OEM Brush And Handle Assembly.
Hardtop Sunshade, Groundsmaster and Reelmaster Traction Units (Part # 30359)
Diagnostic Display Box (Part # 85-4750)
Plastic Plug (Part # 93-7498)
-
Model #
03690 -
Serial #
270000501 - 270001000 -
Product Name
Reelmaster 5610 Traction Unit -
Product Brand
Toro -
Product Type
Riding Products -
Product Series
RM 5000 Series









































































