Workman 4300-D 4 Wheel Drive Liquid Cooled
Product Information
- Model #: 07215
- Serial #: 90001 - 90151
- Product Type: Vehicles
Loading...
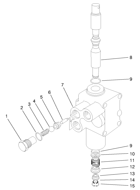
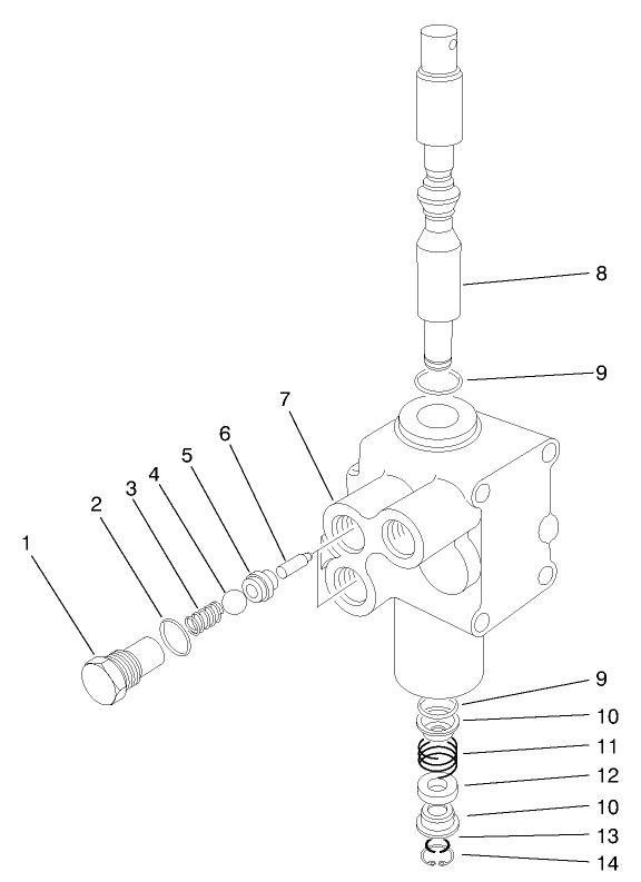
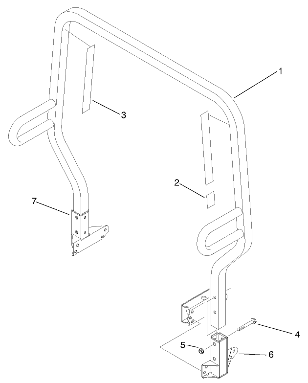
Assembly Drawings
Search for a part within assembly drawings:
-
Service Manual
-
Operator's Manual
-
Parts Catalog
-
EU Declaration of Conformity
-
Service Bulletin
-
Model #
07215 -
Serial #
90001 - 90151 -
Product Name
Workman 4300-D 4 Wheel Drive Liquid Cooled -
Product Brand
Toro -
Product Type
Vehicles -
Product Series
Workman Series
























































