Workman 3300-D 2 Wheel Drive Liquid Cooled
Product Information
- Model #: 07205
- Serial #: 90001 - 90248
- Product Type: Vehicles
Loading...
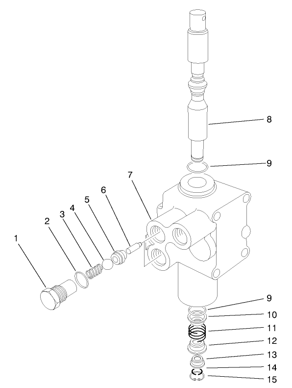
Assembly Drawings
Search for a part within assembly drawings:
-
Service Manual
-
Operator's Manual
-
Parts Catalog
-
EU Declaration of Conformity
-
Service Bulletin
-
Model #
07205 -
Serial #
90001 - 90248 -
Product Name
Workman 3300-D 2 Wheel Drive Liquid Cooled -
Product Brand
Toro -
Product Type
Vehicles -
Product Series
Workman Series




















































