Greensmaster 3250-D
Product Information
- Model #: 04383
- Serial #: 220000001 - 220999999
- Product Type: Riding Products
Loading...
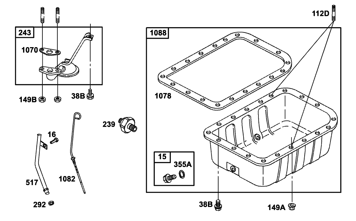
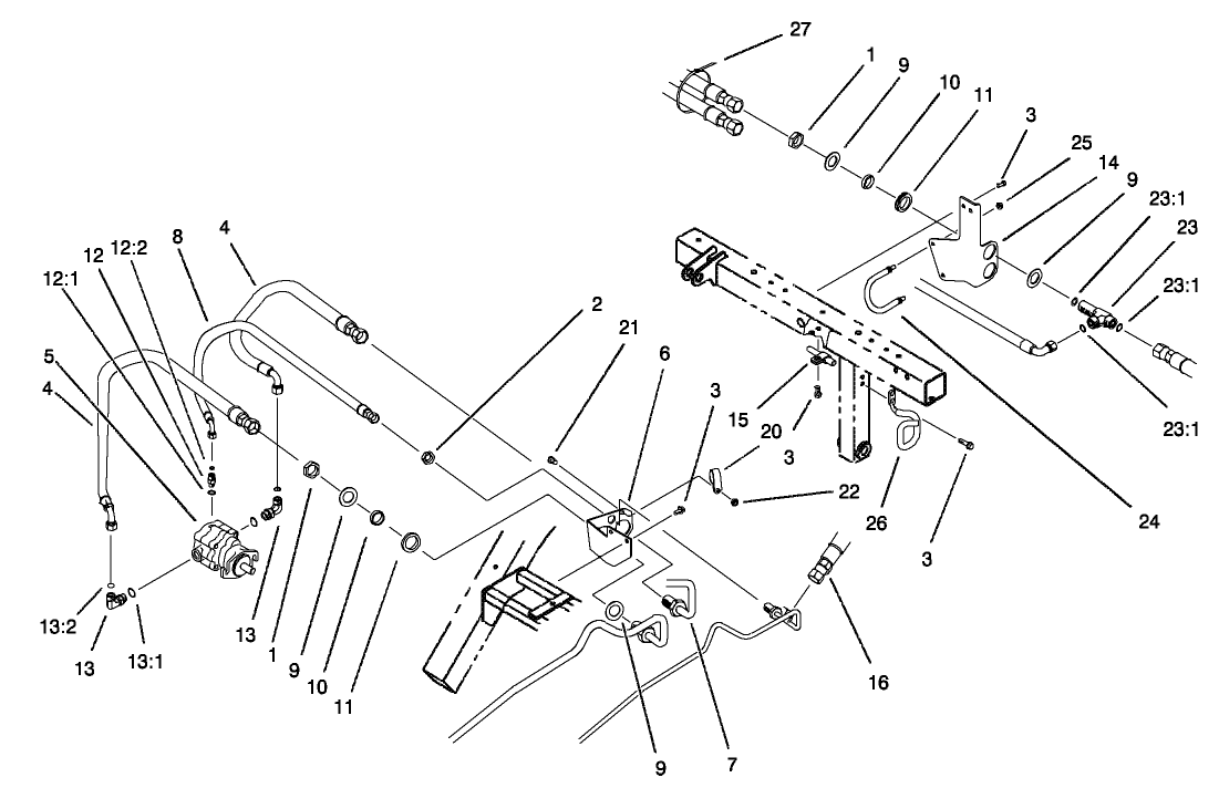
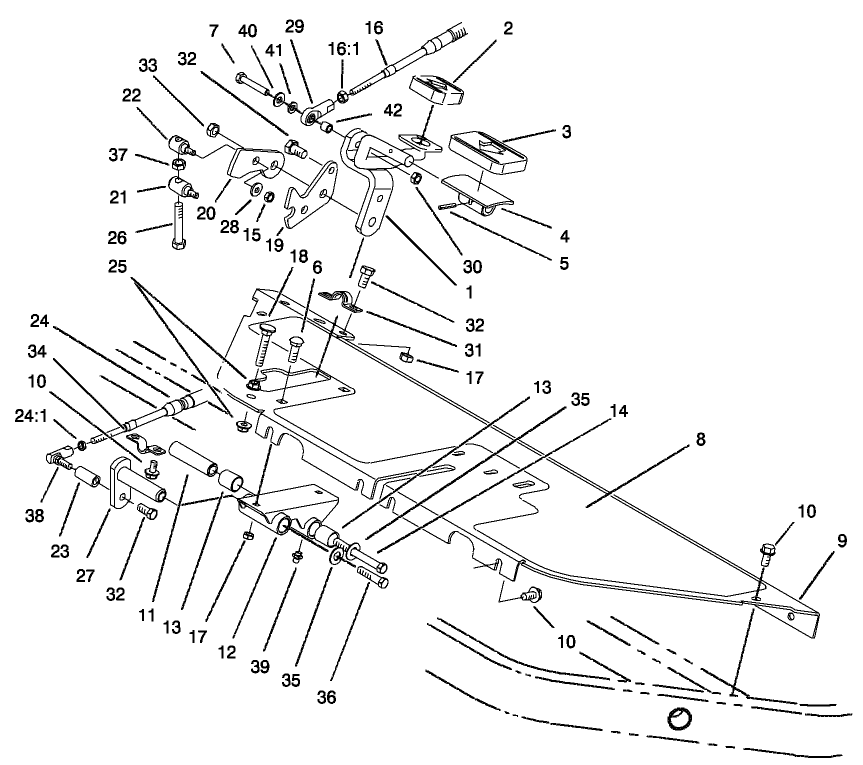
Assembly Drawings
Search for a part within assembly drawings:
-
Service Manual
-
Operator's Manual
-
Parts Catalog
-
EU Declaration of Conformity
-
Service Bulletin
8" BLADE 4 BOLT GR 3250 (Part # 04470)
11" BLADE 4 BOLT GR3250N (Part # 04471)
8-Blade SPA Reel Mower (Part # 04472)
11-Blade SPA Reel Mower (Part # 04473)
Groomer Kit, Greensmaster 3200/3250-D (Part # 04485)
Full Front Roller, Greensmaster 3200 (Part # 04486)
Wide Wiehle Roller Kit, Greensmaster 3200 (Part # 04487)
Rear Wiehle Roller Kit, Greensmaster 3200 (Part # 04488)
Rear Roller Brush, Greensmaster 3200 Series (Part # 04489)
Rear Roller Brush with Groomer, Greensmaster 3200 Series (Part # 04491)
3200 THATCHING REEL (Part # 04493)
GR3XXX SPIKER KIT (Part # 04494)
GR3XXX TRI-ROLLER KIT (Part # 04495)
Leak Detector (Part # 04497)
Backlap/Reel Speed Kit, Greensmaster 3150/3200/3250-D (Part # 04498)
Light Kit, Greensmaster 3200 Series (Part # 04551)
Roll-Over Protection Kit, Greensmaster 3200, 3200-D and 3250-D (Part # 04552)
Three Wheel Drive Kit, Greensmaster 3250-D (Part # 04553)
Oil Cooler Kit, Greensmaster 3250-D (Part # 100-3166)
Hose Adapter Kit (Part # 100-6430)
21.00 Inch Full Front Roller Assembly (Part # 104-2642)
Toro 21.00 Inch OEM Full Front Roller Assembly. This roller has a 2.00 inch diameter. This Assembly comes with the roller, bearings, grease & fittings. This roller is smooth, unlike the Wiehle roller that has groves built in. Toro OEMs are created to keep your equipment up and running with the highest quality parts. To verify that this fits your Toro equipment, please do a model & serial number search.
Hydraulic Oil Cooler Kit (Part # 104-7701)
Used in extreme climates to regulate hydraulic oil temperature
Microcut Bedknife (Part # 104-7720)
Front Brush/Scraper Kit, Greensmaster 3250-D Cutting Units (Part # 104-7731)
Wiehle Roller Scraper Kit, Greensmaster 3250-D Cutting Units (Part # 105-9753)
Radiator Screen Kit (Part # 105-9766)
Wiehle Roller Scraper Kit, Greensmaster 3250-D Cutting Units with Groo (Part # 105-9788)
Arm Rest Kit (Part # 30707)
Built for comfort.
Fairway Bedknife (Part # 63-8600)
21.25 Inch Micro Cut Standard Bedknife (Part # 93-4262)
Toro 21.25 Inch OEM Micro Cut Standard Bedknife. You can count on the quality and reliability of this replacement Micro Cut bedknife. Be sure to verify the make and serial number to ensure correct part.
21.25 Inch Tournament Cut Standard Bedknife (Part # 93-4263)
Toro 21.25 Inch OEM Tournament Cut Standard Bedknife. You can count on the quality and reliability of this replacement Tournament Cut bedknife. Be sure to verify the make and serial number to ensure correct part.
21.25 Inch Low Cut Standard Bedknife (Part # 93-4264)
Toro 21.25 Inch OEM Low Cut Standard Bedknife. You can count on the quality and reliability of this replacement Low Cut bedknife. Be sure to verify the make and serial number to ensure correct part.
Tie Down Kit (Part # 94-6379)
21.25 Inch High Cut Standard Bedknife (Part # 94-6392)
Toro 21.25 Inch OEM High Cut Standard Bedknife. You can count on the quality and reliability of this replacement High Cut bedknife. Be sure to verify the make and serial number to ensure correct part.
22.00 Inch Front Wiehle Roller Assembly (Part # 94-8171)
Toro 22.00 Inch OEM Front Wiehle Roller Assembly. This roller has a 2.50 inch diameter. This Assembly comes with the roller, bearings, grease fittings, retaining rings & roller shaft. A Wiehle roller has groves built into the roller as a standard Wiehle roller is smooth. Toro OEMs are created to keep your equipment up and running with the highest quality parts. To verify that this fits your Toro equipment, please do a model & serial number search.
Hose Adaptor Kit, Greensmaster 3200 (Part # 94-8190)
Pull Link Kit, Greensmaster 3200 (Part # 94-9630)
Rear Roller Scraper Kit, Greensmaster 3200 (Part # 95-1600)
Front Brush Scraper, Greensmaster 3200 (Part # 95-1625)
5 Blade Reel 21 Inch (Part # 98-2181)
Toro 5 Blade 21 Inch OEM Reel. Crafted with precision to give you an amazing cut every time. You can count on the quality and reliability of this replacement Reel. Be sure to verify the make and serial number to ensure correct part.
Heavy Duty, 8 Blade Reel Assembly (Part # 98-2182)
High Height-Of-Cut Kit, For Greensmaster 3200 Heav (Part # 99-1496)
Wiehle Front Roller (Part # 99-4211)
Groomer Extension Kit, Greensmaster 3250-D (Part # 99-4255)
Tournament Cut Bedknife (Part # 99-4299)
20 x 10 - 8 4-Ply Turf Mate Tire (Part # 99-4506)
Toro 20 x 10 - 8 4-Ply OEM Turf Mate Tire. Toro OEM replacement pneumatic tire. This tire delivers superior traction on turf, grass & pavement. Ideal replacement tire for your riding equipment.
Front Shield Kit, Greensmaster 3200 Reels (Part # 99-8164)
-
Model #
04383 -
Serial #
220000001 - 220999999 -
Product Name
Greensmaster 3250-D -
Product Brand
Toro -
Product Type
Riding Products -
Product Series
GR 3000 Series















































