Reelmaster® 3100-D with Sidewinder
Product Information
- Model #: 03171
- Serial #: 420254130 - 999999999
- Product Type: Riding Products
Loading...
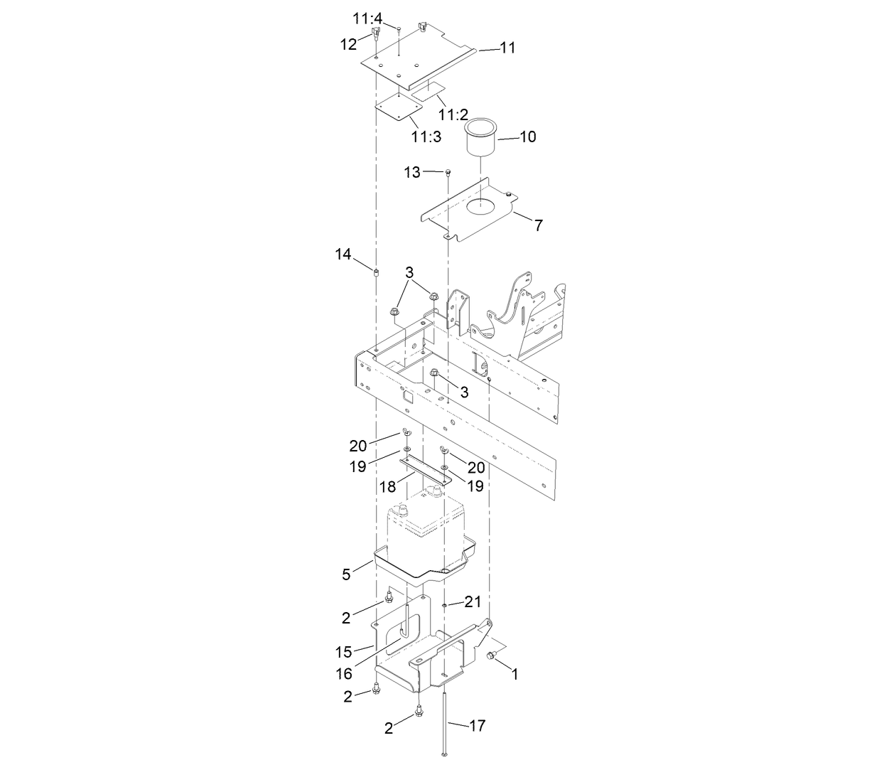
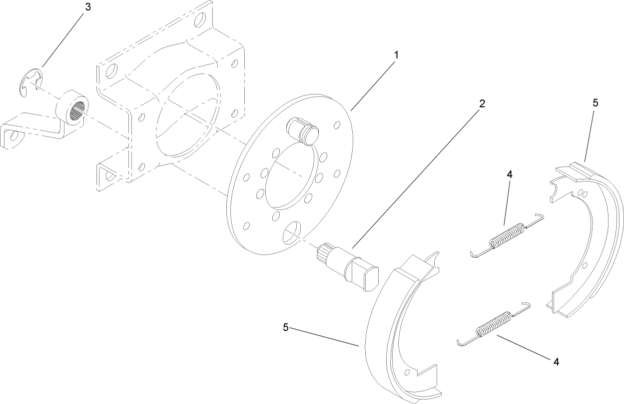
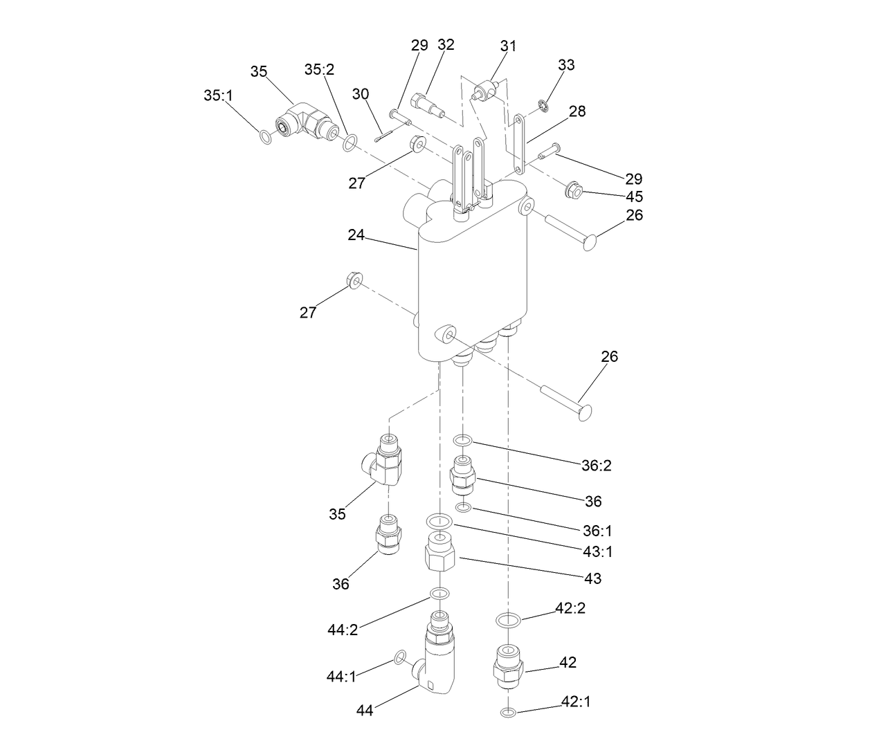
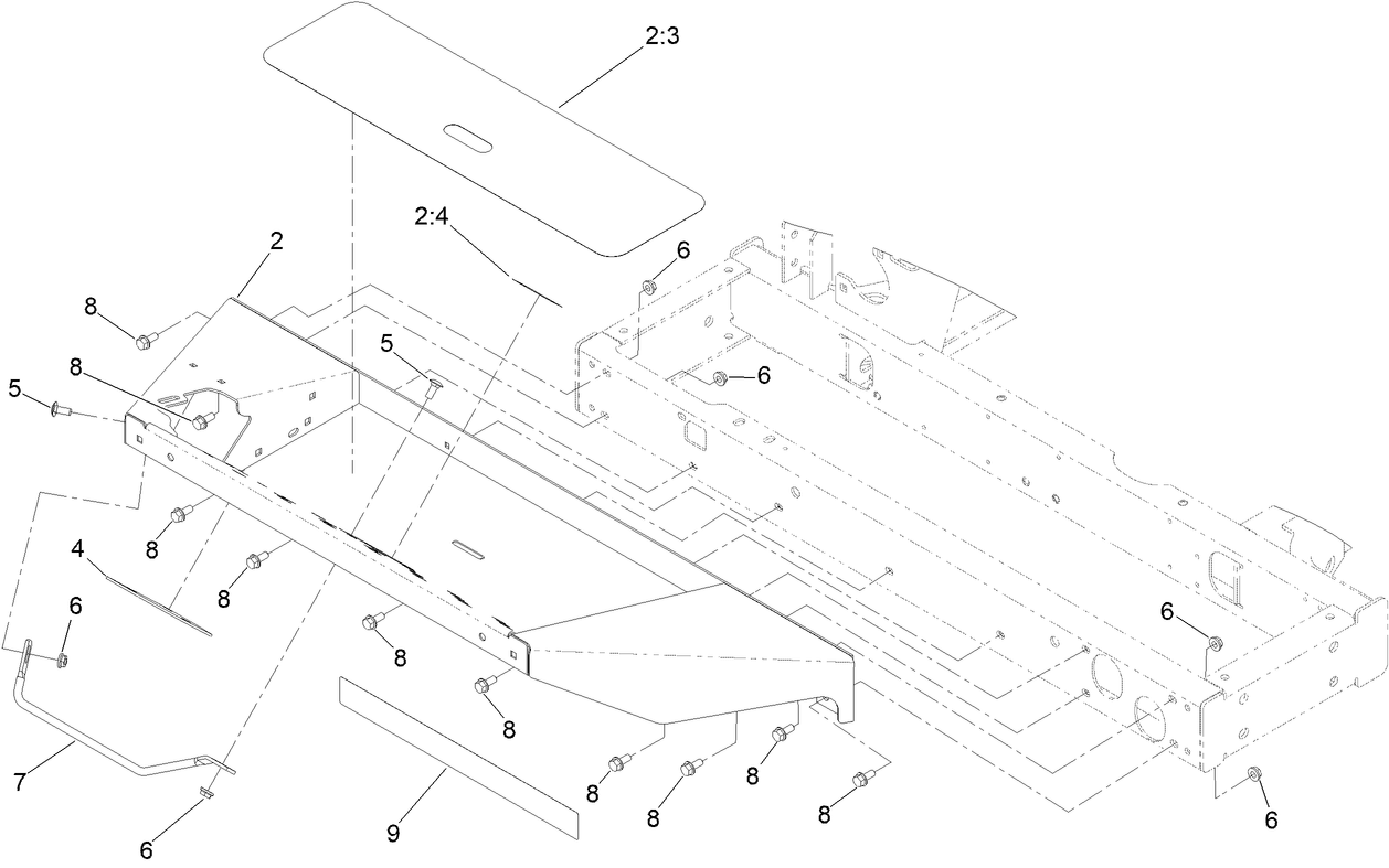
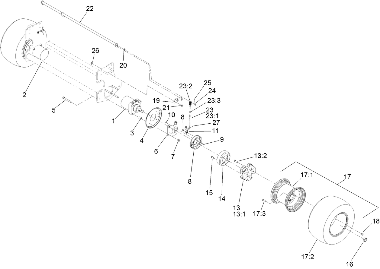
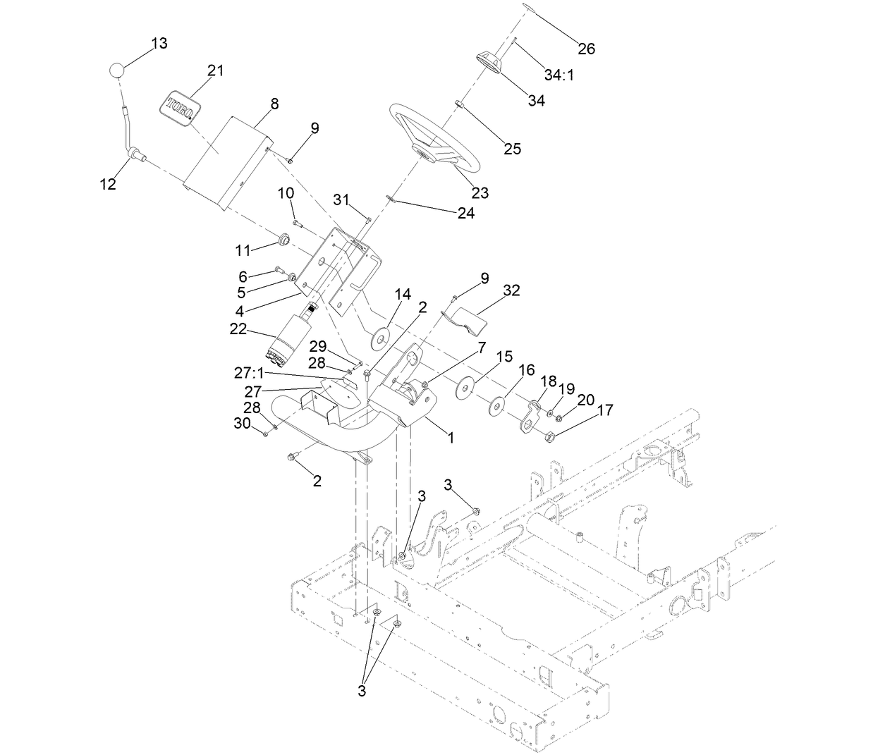
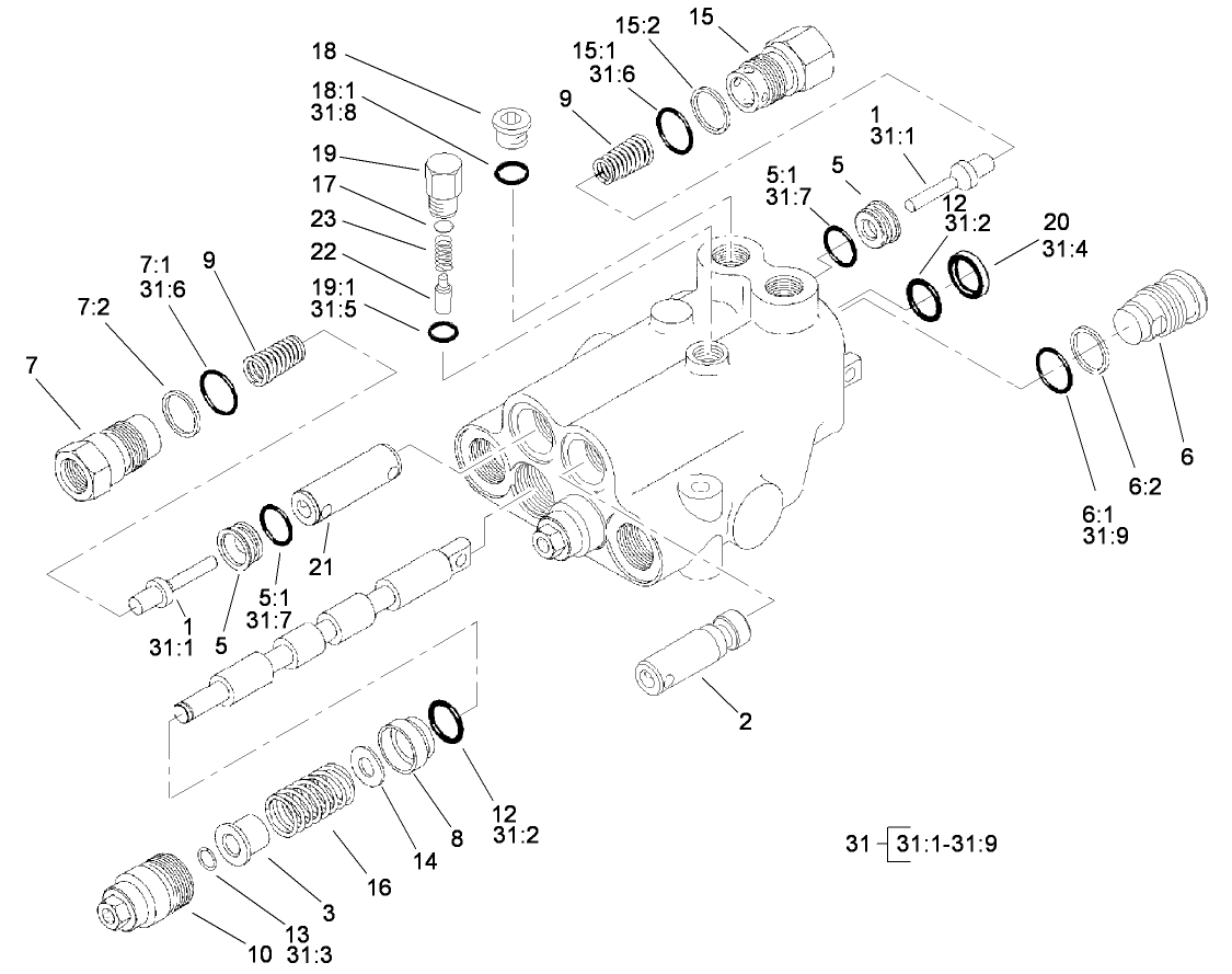
Assembly Drawings
Search for a part within assembly drawings:
-
Operator's Manual
-
Parts Catalog
-
Product Warranty
-
Addendum
-
Schematic Drawing - Electrical
-
Schematic Drawing - Hydraulic
-
EU/UK Declaration of Conformity
27in. Lift Arm Kit (Part # 03172)
Lift Arm Kit (Part # 03173)
8-Blade Cutting Unit (Part # 03189)
Designed for mowing on higher heights of cut, such as approaches, fairways or tee boxes.
11-Blade Cutting Unit (Part # 03190)
Designed for mowing on lower heights of cut, such as greens.
8-Blade Cutting Unit (Part # 03191)
Designed for mowing on higher heights of cut, such as approaches, fairways or tee boxes.
8-Blade Cutting Unit (Part # 03192)
Designed for mowing on higher heights of cut, such as approaches, fairways or tee boxes.
27in. Verticutter Cutting Unit (Part # 03203)
Operator Cooling Fan (Part # 03247)
Keep cool in the warm temps with this overhead cooling fan.
Switch Panel (Part # 03248)
Universal Sunshade
Wireless Hourmeter System (Part # 115-4754)
Auxiliary Antenna Kit (Part # 115-9524)
Base Station Kit (Part # 115-9542)
Repeater Kit (Part # 115-9543)
20 x 10 - 10 4-Ply Smooth Tire (Part # 120-7639)
Toro 20 x 10 - 10 4-Ply OEM Smooth Tire. Toro OEM replacement pneumatic tire. This tire delivers superior traction on turf, grass & pavement. Ideal replacement tire for your riding equipment.
20 x 12 - 10 4-Ply Smooth Tire (Part # 127-2796)
Toro 20 x 12 - 10 4-Ply OEM Smooth Tire. Toro OEM replacement pneumatic tire. This tire delivers superior traction on turf, grass & pavement. Ideal replacement tire for your riding equipment.
Toro High Back Seat Cover (Part # 133-1308)
Toro genuine high back seat covers will take a beating and endure the daily wear and tear you put on it. These seat covers are carefully crafted and sewn from the highest quality, waterproof material, nylon/polyester fabric that ensures that your factory seats will always be protected. When it comes to reliability, Toro delivers replacement parts designed to the exact engineering specifications of our equipment. For peace of mind, insist on Toro genuine parts.
Toro 5 Gallon PX Extended Life Hydraulic Fluid (Part # 133-8086)
Toro 5 Gallon PX Extended Life Hydraulic Fluid. Designed for use in Toro equipment created by Toro engineers. If you are unsure of your equipment needs, do a model extreme serial number search to verify that this is the correct oil type for your equipment.
Toro 55 Gallon PX Extended Life Hydraulic Fluid (Part # 133-8087)
Toro 55 Gallon PX Extended Life Hydraulic Fluid. Designed for use in Toro equipment created by Toro engineers. If you are unsure of your equipment needs, do a model extreme serial number search to verify that this is the correct oil type for your equipment.
Wheel Weight Kit (Part # 136-3315)
Service Decal (Part # 138-1190)
Make it specialized to you.
Beacon Sunshade Kit (Part # 138-2699)
Stay cool and productive when mowing with a canopy.
Wire Harness (Part # 138-2993)
Work Lights Kit (Part # 140-1554)
Hydraulic Booster (Part # 145-5286)
Premium Seat Kit (Part # 30629)
Upgrade your comfort and design with premium seating.
Universal Sunshade (White) (Part # 30669)
Stay cool and productive when mowing with a canopy.
Universal Sunshade (Red) (Part # 30671)
Stay cool and productive when mowing with a canopy.
Arm Rest Kit (Part # 30707)
Built for comfort.
LED Work Light Kit (Part # 31692)
Provide extra light for everyday operations.
Red Paint (Gallon) (Part # 361-11)
Genuine OEM Part
Dark Metallic Gray Paint (Part # 361-12)
Genuine OEM Part
Semi-Gloss Black Paint (Part # 361-9)
Genuine OEM Part
1000 Hour MVP Kit (Part # 44963)
Contains 108-3811 @ 5, 108-3841 @ 7, 86-3010 @ 1, 110-9049 @ 2
Red Paint (Part # 5340)
Genuine OEM Part
-
Model #
03171 -
Serial #
420254130 - 999999999 -
Product Name
Reelmaster® 3100-D with Sidewinder -
Product Brand
Toro -
Product Type
Riding Products



































































